Котел Baxi Luna Duo-tec MP 1.110 - инструкция пользователя по применению, эксплуатации и установке на русском языке. Мы надеемся, она поможет вам решить возникшие у вас вопросы при эксплуатации техники.
Если остались вопросы, задайте их в комментариях после инструкции.
"Загружаем инструкцию", означает, что нужно подождать пока файл загрузится и можно будет его читать онлайн. Некоторые инструкции очень большие и время их появления зависит от вашей скорости интернета.

7112345.01 (1-01/13)
10
Р
а
з
д
е
л
У
С
Т
А
Н
О
В
Щ
И
К
(
ru
)
10.3 КАСКАДНЫЙ ТИП СОЕДИНЕНИЯ ДЫМОХОДОВ
Этот тип трубок позволяет отводить продукты сгорания значительного количества котлов, подключенных “в каскад” через
общий газовый коллектор. Коллектор должен использоваться только для подключения котлов к дымоходу. Возможные
диаметры: 125 мм - 160 мм и 200 мм. Различные комплектующие могут быть поставлены по запросу.
ТАБЛИЦА 1B
МОДЕЛЬ
КОТЛА
МАКСИМАЛЬНОЕ КОЛИЧЕСТВО
КОТЛОВ С КАСКАДНЫМ ТИПОМ
СОЕДИНЕНИЯ
ПАРАМЕТР P60
Кол-во оборотов/мин
(об./мин) при мин.
мощности
Ø160 MM
(250 кВт макс.)
Ø200 MM
(500 кВт макс.)
G20
G31
1.90
2
5
1450
1650
1.99
2
4
1500
1500
1.110
2
4
1500
1500
Для этого типа соединения, для каждого отдельного котла необходимо установить клапан дымов (обратный
клапан) Ø 110/110 мм. Измените параметр Р60(а), как указано в таблице 1В, согласно указаниям главы 14.
Расчет дымохода должен осуществляться квалифицированным специалистом на этапе проектирования системы, как
того требуют действующие нормативы.
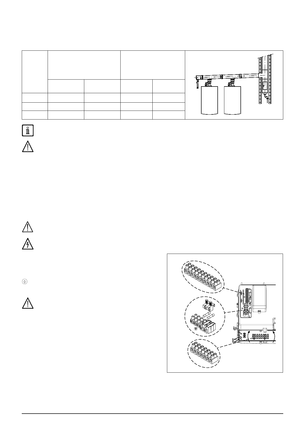
11. ЭЛЕКТРИЧЕСКИЕ СОЕДИНЕНИЯ
Электробезопасность котла гарантируется только при правильном заземлении в соответствии с действующими
нормативами. С помощью прилагаемого трехжильного кабеля подключите котел к однофазной сети переменного тока 230
В с заземлением, соблюдая полярность фаза- нейтраль.
Используйте двухполюсный выключатель с расстоянием между разомкнутыми контактами не менее 3 мм.
В случае замены кабеля питания должен быть использован кабель “HAR H05 VV-F” 3x0,75 мм
2
с максимальным диаметром
8 мм. Чтобы получить доступ к клеммам, снимите переднюю панель котла (прикрепленную двумя винтами в нижней
части) и поверните панель управления вниз; после снятия предохранительной крышки вам станут доступны клеммники
M1, M2, M3
для электрических соединений. В клеммную колодку встроены плавкие быстрые предохранители на 3,15 A
(для их проверки или замены выньте черный держатель предохранителя).
ЭЛЕКТРОСХЕМА ПРИВЕДЕНА В КОНЦЕ РУКОВОДСТВА В ПРИЛОЖЕНИИ
“SECTION” B
Убедитесь, что потребляемая мощность всех устройств, подсоединенных к аппарату, не превышала 2А. Если она выше,
между данными устройствами и электронной платой котла следует разместить реле.
Соединения, имеющиеся на клеммных колодках M1- M3 имеют высокое напряжение (230 В). Перед соединением
проверьте, что оборудование не подключено к электропитанию. Соблюдайте полярность питания на клеммной колодке
M1: L (ФАЗА) - N (НЕЙТРАЛЬ).
КЛЕММНАЯ КОЛОДКА M1
(L)
=
Фаза
(коричневый)
(N)
=
Нейтраль
(голубой).
=
Заземление
(желто-зеленый).
(1) (2)
= контакт для
комнатного термостата
.
Необходимо снова установить перемычку на клеммы 1-2
клеммной колодки M1 котла в случае, когда не используется
комнатный термостат или когда подсоединен пульт
дистанционного
управления,
поставляемый
как
дополнительный аксессуар.
КЛЕММНИК M2
Клеммы 1(подсветка) - 2 (масса) - 3 (+12 В):
подсоединение
пульта
дистанционного
управления
(низковольтного),
поставляемого в качестве дополнительного аксессуара.
Клеммы 4 - 5 (общее):
подключение внешнего датчика
(поставляется в качестве опции)
Клеммы 6 - 5 (общее):
подключение 2-го дополнительного
датчика температуры ( датчик солнечной системы, каскадной,
зональной и т. д.).
Клеммы 7 - 5 (общее):
подключение 1-го дополнительного датчика температуры ( солнечной системы, каскадной,
зональной и т. д.).
Клеммы 9-10:
подключение датчика из бойлера горячей воды.
Клемма 8 :
не используется.