Котел ATON АОГВМНД-7ЕВ - инструкция пользователя по применению, эксплуатации и установке на русском языке. Мы надеемся, она поможет вам решить возникшие у вас вопросы при эксплуатации техники.
Если остались вопросы, задайте их в комментариях после инструкции.
"Загружаем инструкцию", означает, что нужно подождать пока файл загрузится и можно будет его читать онлайн. Некоторые инструкции очень большие и время их появления зависит от вашей скорости интернета.

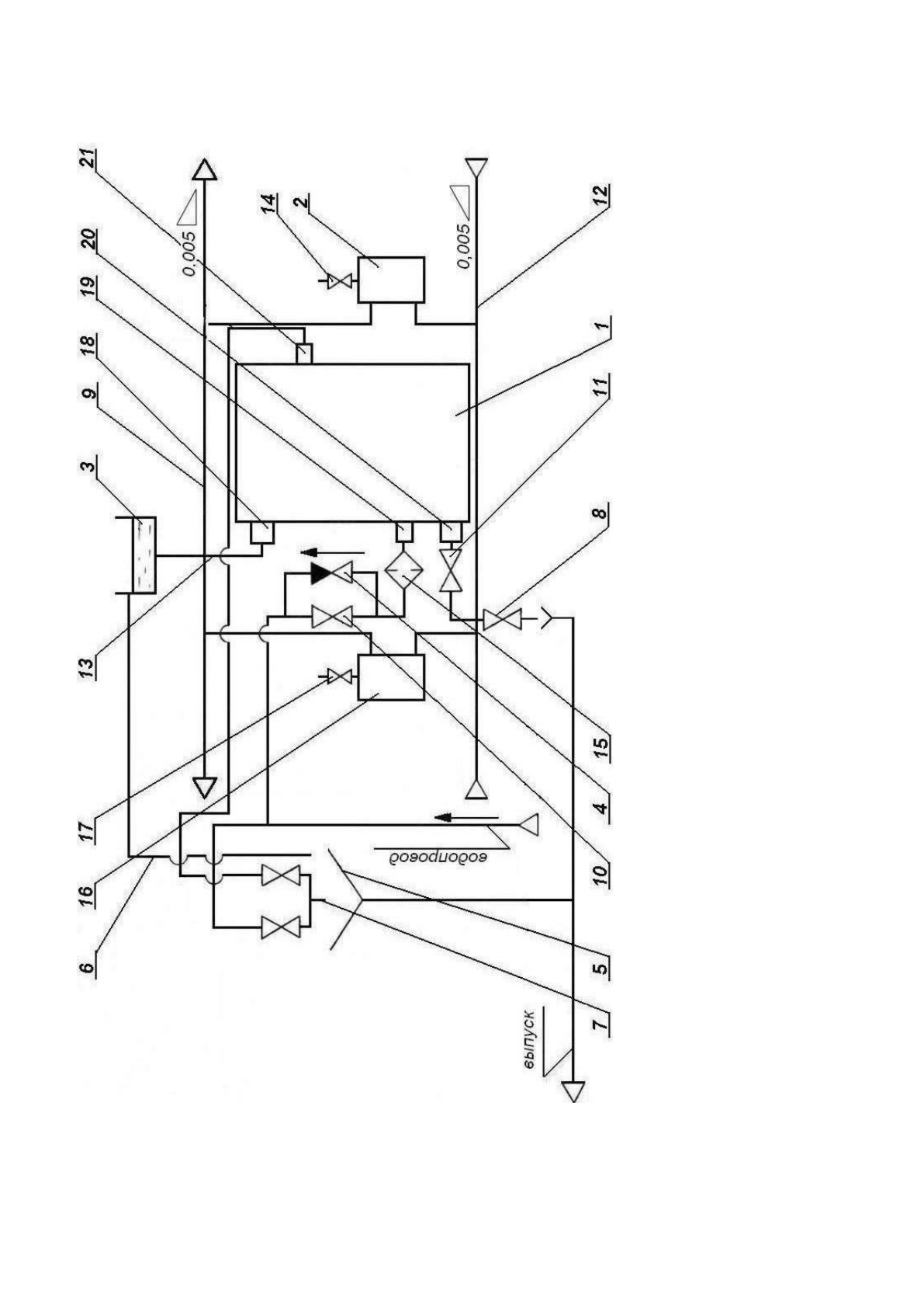
18,
-
ве
рхн
ий
п
ат
руб
ок
те
пл
он
ос
ит
ел
я;
19
-н
иж
ни
й
па
тр
уб
ок
во
до
наг
реват
ел
я;
20,
-
ни
ж
ни
й
па
тр
уб
ок
те
пл
он
ос
ит
ел
я;
21
-в
ерхн
ий
п
ат
руб
ок
во
до
наг
реват
ел
я.
Рис
уно
к
4
–
С
хе
м
а
ус
та
но
вки
ко
тл
а
в
сис
те
м
е
ото
пл
ен
ия
(
ре
ко
м
енд
ов
анна
я)
10
-вен
ти
ль
д
ля
п
од
ач
и
во
ды
в
зм
ееви
к
во
до
наг
реват
ел
я;
11
-в
ен
ти
ль
для
ре
гул
иров
ки
от
оп
лен
ия
и
во
до
наг
рева;
12
-об
ра
тн
ы
й
труб
оп
ров
од
;
13
-г
лавн
ый
ст
оя
к;
14,
17
-кра
ны
д
ля
в
ы
пус
ка
воз
духа
;
15
-ф
ил
ьт
р
дл
я
оч
ис
тки
в
од
ы
;
1
-кот
ел
;
2,
16
-от
оп
ит
ел
ьн
ы
е
при
боры
(ра
ди
ат
оры
);
3
-р
ас
ш
ир
ит
ел
ьн
ы
й
ба
к;
4
-о
бр
ат
ны
й
кл
ап
ан;
5
-ра
ков
ин
а;
6
-п
ер
ел
ив
ная
т
ру
ба;
7
-см
еси
тел
ь;
8
-с
пу
ск
но
й
ве
нт
ил
ь;
9
-п
од
аю
щ
ий
т
руб
оп
ров
од
;
22
Содержание
- 3 ОБЩИЕ УКАЗАНИЯ; ВНИМАНИЕ. При покупке котла для отопления, отопления и горячего
- 4 НАЗНАЧЕНИЕ
- 6 ТЕХНИЧЕСКИЕ ХАРАКТЕРИСТИКИ
- 8 КОМПЛЕКТ ПОСТАВКИ
- 10 ПОРЯДОК УСТАНОВКИ
- 18 СВИДЕТЕЛЬСТВО О ПРИЕМКЕ; Газовый клапан
- 21 наружная стена помещения
- 25 Приложение А
- 26 Приложение Б; установлен КОТЕЛ; при первом пуске котла
- 29 Дата
- 30 В случае выявления заводских дефектов изделия, или отклонений от