ATON АОГВМНД-12,5Е - Инструкция по эксплуатации - Страница 20

Котел ATON АОГВМНД-12,5Е - инструкция пользователя по применению, эксплуатации и установке на русском языке. Мы надеемся, она поможет вам решить возникшие у вас вопросы при эксплуатации техники.

Если остались вопросы, задайте их в комментариях после инструкции.

"Загружаем инструкцию", означает, что нужно подождать пока файл загрузится и можно будет его читать онлайн. Некоторые инструкции очень большие и время их появления зависит от вашей скорости интернета.
Страница:
/ 30
Загружаем инструкцию
background image

 

 

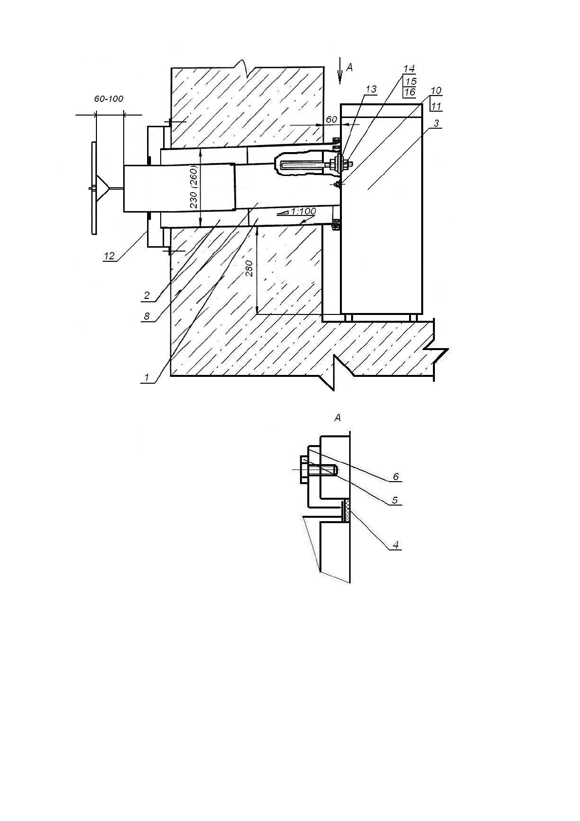
1-

патрубок;  

2-

обечайка 

воздуховода;  
3-

котел;   

4-

шнур 

теплоизоляционный;  

5-

болт М6;  

6-

прижим;  

8- 

обечайка дымохода;  

10- 

гайка М8;  

11-

шайба 8;  

12-

защита дымохода;  

13- 

проушина;  

14- 

шпилька М10;  

15- 

гайка М10;  

16-

шайба 10 

 

Рисунок 2 - Схема монтажа котла. 

20 

 

Полезные видео

Характеристики

Оцените статью
tehnopanorama.ru
Остались вопросы?

Не нашли свой ответ в руководстве или возникли другие проблемы? Задайте свой вопрос в форме ниже с подробным описанием вашей ситуации, чтобы другие люди и специалисты смогли дать на него ответ. Если вы знаете как решить проблему другого человека, пожалуйста, подскажите ему :)

Задать вопрос

Часто задаваемые вопросы
Как посмотреть инструкцию к ATON АОГВМНД-12,5Е?
Необходимо подождать полной загрузки инструкции в сером окне на данной странице
Руководство на русском языке?
Все наши руководства представлены на русском языке или схематично, поэтому вы без труда сможете разобраться с вашей моделью
Как скопировать текст из PDF?
Чтобы скопировать текст со страницы инструкции воспользуйтесь вкладкой "HTML"