Котел ATON АОГВ-20Е - инструкция пользователя по применению, эксплуатации и установке на русском языке. Мы надеемся, она поможет вам решить возникшие у вас вопросы при эксплуатации техники.
Если остались вопросы, задайте их в комментариях после инструкции.
"Загружаем инструкцию", означает, что нужно подождать пока файл загрузится и можно будет его читать онлайн. Некоторые инструкции очень большие и время их появления зависит от вашей скорости интернета.

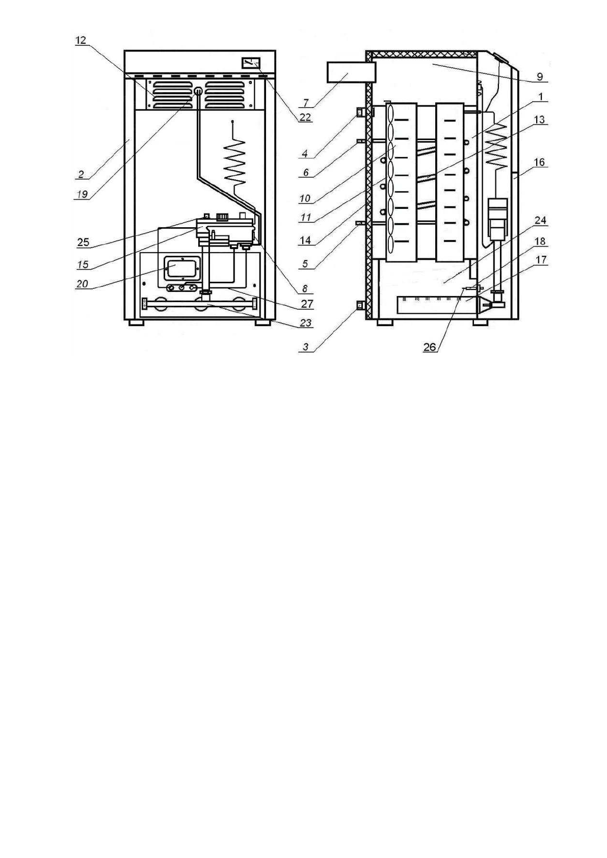
1-
теплообменник
;
2-
кожух с декоративным
покрытием;
3-
водоподводящий
патрубок;
4-
водоотводящий
патрубок;
5-
подводящий
патрубок
горячего
водоснабжения;
6-
отводящий
патрубок
горячего
водоснабжения;
7-
дымоотводящий
патрубок;
8-
патрубок
для подвода
газа;
9-
коллектор продуктов
сгорания;
10-
каналы
теплообменника;
11-
турбулизаторы
;
12-
жалюзи
стабилизатора тяги;
13-
змеевик
;
14-
теплоизоляция
;
15-
газовий
клапан
автоматики
;
16-
дверка
;
17-
основная
горелка
;
18-
пилотная горелка
;
19-
датчик
тяги
;
20-
смотровое окно
;
22-
покажчик
температуры
;
23-
коллектор с
форсунками
;
24-
камера сгорания
;
25-
пъезокнопка
;
26-
искровой электрод
;
27-
термопара
Рисунок
2 -
Схема
котла
АОГВД
-
30 ЕВ
.
20
Содержание
- 5 А О Г В; „Sit Group”
- 6 ТЕХНИЧЕСКИЕ ХАРАКТЕРИСТИКИ
- 7 КОМПЛЕКТ ПОСТАВКИ
- 8 УКАЗАНИЯ МЕР БЕЗОПАСНОСТИ
- 9 КОНСТРУКЦИЯ И РАБОТА КОТЛА
- 10 ПОРЯДОК УСТАНОВКИ
- 11 ПОДГОТОВКА К РАБОТЕ
- 13 ВОЗМОЖНЫЕ НЕИСПРАВНОСТИ И МЕТОДЫ ИХ УСТРАНЕНИЯ
- 18 СВИДЕТЕЛЬСТВО О ПРИЕМКЕ
- 30 Приложение; КОТЕЛ; при первом пуске котла.
- 34 HANIL; ТЕРМ