Котел Ariston UNOBLOC G 64 RI - инструкция пользователя по применению, эксплуатации и установке на русском языке. Мы надеемся, она поможет вам решить возникшие у вас вопросы при эксплуатации техники.
Если остались вопросы, задайте их в комментариях после инструкции.
"Загружаем инструкцию", означает, что нужно подождать пока файл загрузится и можно будет его читать онлайн. Некоторые инструкции очень большие и время их появления зависит от вашей скорости интернета.

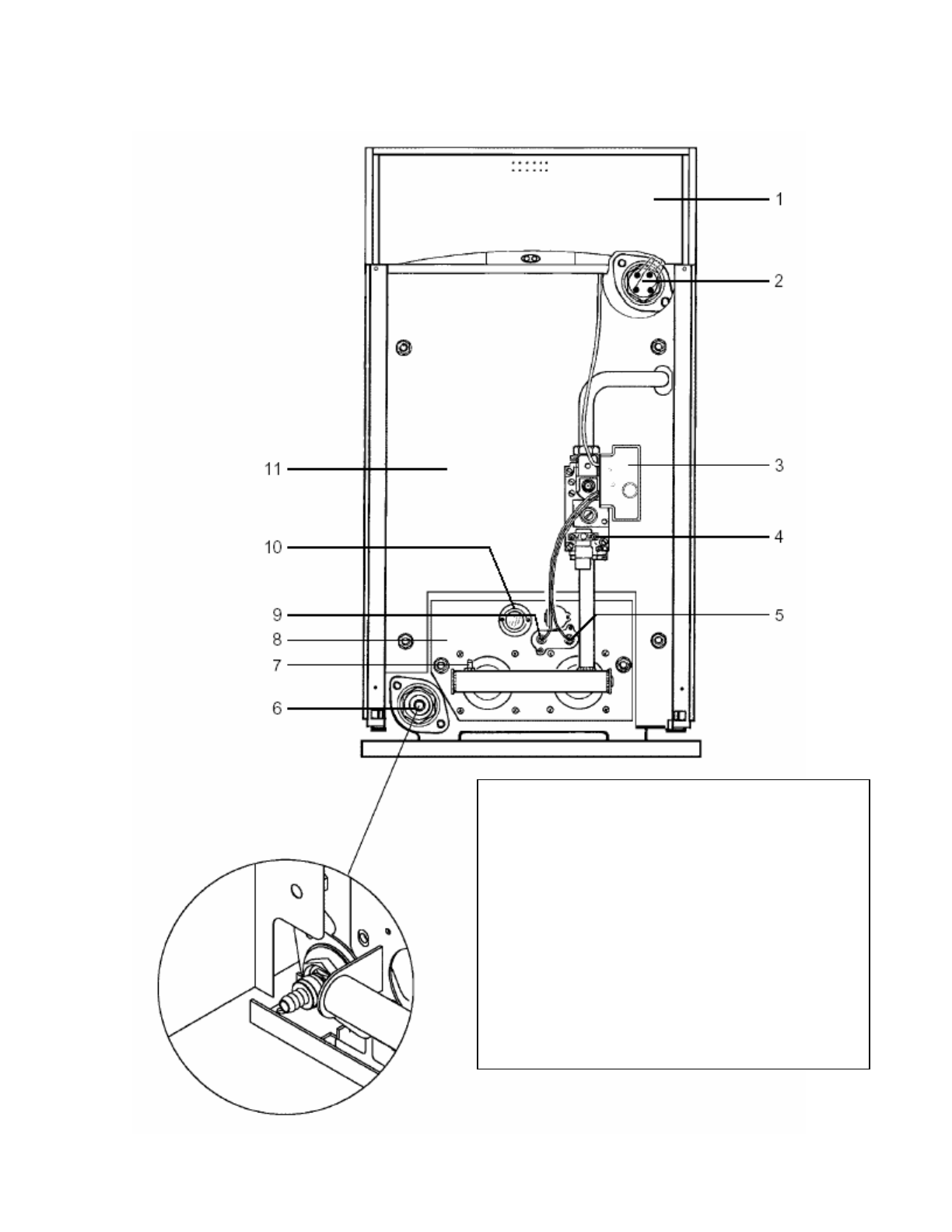
УСТРОЙСТВО
1 –
Панель
управления
2 –
Ƚɢɥɶɡɵ
для
датчиков
3 –
Электронный
ɛɥɨɤ
розжига
и
контроля
пламени
4 –
Газовый
клапан
5 –
Электрод
розжига
6 –
Кран
слива
7 –
Отвод
проверки
давления
на
форсунках
8 –
Горелка
9 –
Электрод
ɤɨɧɬɪɨɥɹɩɥɚɦɟɧɢ
10 –
Смотровое
окошко
11 –
Корпус
котла












