Котел Altep Duo Plus 50 36005 - инструкция пользователя по применению, эксплуатации и установке на русском языке. Мы надеемся, она поможет вам решить возникшие у вас вопросы при эксплуатации техники.
Если остались вопросы, задайте их в комментариях после инструкции.
"Загружаем инструкцию", означает, что нужно подождать пока файл загрузится и можно будет его читать онлайн. Некоторые инструкции очень большие и время их появления зависит от вашей скорости интернета.

8
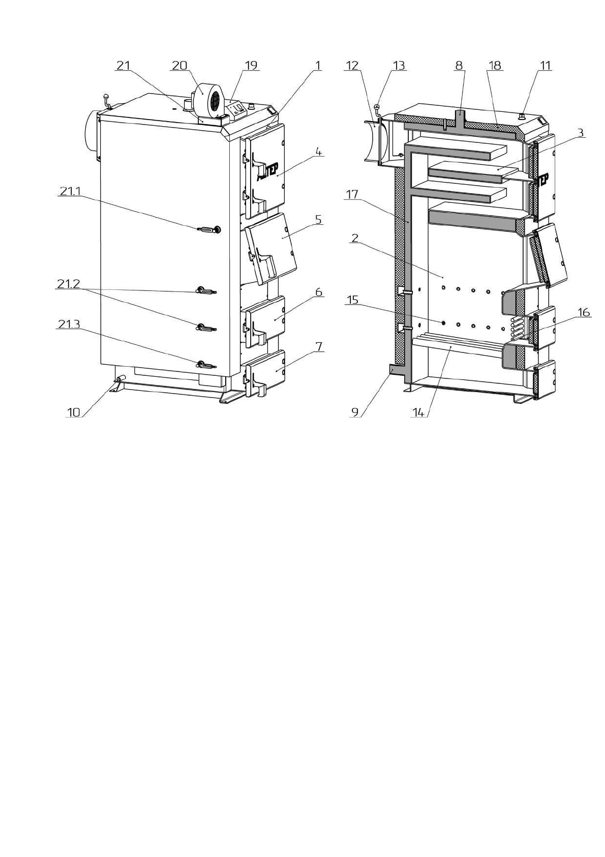
1 –
Корпус котла;
9 –
Патрубок обратной сетевой воды;
17 –
Водяная оболочка;
2 –
Камера сгорания (топка);
10 –
Штуцер слива воды из котла;
18 –
Теплоизоляция корпуса;
3 –
Конвекционная часть
(теплообменник);
11 –
Штуцер под предохранительный
клапан
*)
;
19 –
Блок автоматики управления;
4 –
Дверцы конвекционной части котла;
12 –
Боров;
20 –
Вентилятор
**)
;
5 –
Дверцы загрузочные;
13 –
Шибер тяги топочных газов;
21 –
Канал подачи воздуха на горение;
6 –
Дверцы ревизионные;
14 –
Колосниковая решётка;
21.1 –
Ручка верхней воздушной заслонки;
7 –
Дверцы зольника;
15 –
Воздушные форсунки;
21.2 –
Ручки средних воздушных заслонок
***)
;
8 –
Патрубок прямой сетевой воды;
16 –
Отражатель;
21.3 –
Ручка нижней воздушной заслонки.
Рисунок 2
–
Внешний вид и основные элементы котла
Примечания:
*)
В котлах мощностью 150...250 кВт в верхней части корпуса под предохранительный клапан
предусмотрен патрубок Ду 50 з фланцем;
**)
В котлах мощностью 150...250 кВт используется два вентилятора
**)
Количество ручек (от одной до трёх) зависит от мощности котла.
На передней стенке котла кроме загрузочной дверцы также расположены:
-
дверцы для периодического обслуживания (чистки) конвекционной части котла (поз. 4,
рис. 2);
-
ревизионные дверцы (поз. 6, рис. 2) для периодической чистки колосниковой
решетки;
-
дверцы зольника (поз. 7, рис.
2).
тепло-хорошо.рф