Korting OKB 550 CFX - Инструкция по эксплуатации

Korting OKB 550 CFX

Печь Korting OKB 550 CFX - инструкция пользователя по применению, эксплуатации и установке на русском языке. Мы надеемся, она поможет вам решить возникшие у вас вопросы при эксплуатации техники.

Если остались дополнительные вопросы — свяжитесь с нами через контактную форму.

1 Страница 1
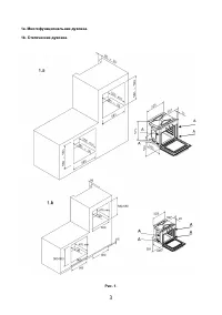
2 Страница 2
3 Страница 3
4 Страница 4
5 Страница 5
6 Страница 6
7 Страница 7
8 Страница 8
9 Страница 9
10 Страница 10
11 Страница 11
12 Страница 12
13 Страница 13
14 Страница 14
15 Страница 15
16 Страница 16
17 Страница 17
18 Страница 18
19 Страница 19
20 Страница 20
21 Страница 21
22 Страница 22
23 Страница 23
24 Страница 24
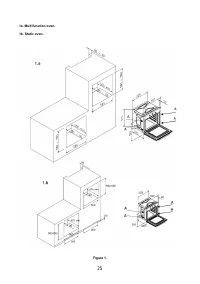
25 Страница 25
26 Страница 26
27 Страница 27
28 Страница 28
29 Страница 29
30 Страница 30
31 Страница 31
32 Страница 32
33 Страница 33
34 Страница 34
35 Страница 35
36 Страница 36
37 Страница 37
38 Страница 38
39 Страница 39
40 Страница 40
41 Страница 41
42 Страница 42
43 Страница 43
44 Страница 44
Страница: / 44

Содержание:

  • Страница 10 – Рис
  • Страница 17 – A B
  • Страница 20 – УТИЛИЗАЦИЯ; Упаковка
Загрузка инструкции

РУКОВОДСТВО

ПО

ЭКСПЛУАТАЦИИ

Встраиваемые

электрические

духовые

шкафы

OKB440CFX (

статический

)

OKB550CFX (

многофункциональный

/5

функций

)

OKB551CFX (

многофункциональный

/5

функций

)

"Загрузка инструкции" означает, что нужно подождать пока файл загрузится и можно будет его читать онлайн. Некоторые инструкции очень большие и время их появления зависит от вашей скорости интернета.

Краткое содержание

Страница 10 - Рис

ТИП ПАНЕЛИ УПРАВЛЕНИЯ 4 5 2 6 1 Рис . 3.1 2 3 1 Рис . 3.2 2 3 1 Рис . 3.3 1. Регулятор температуры . 2. Выбор функции приготовления . 3. Электронный таймер . 4. 120- минутный таймер отключения . 5. Зеленая лампочка питания . 6. Желтая лампочка термостата . 8

Страница 17 - A B

ЗАМЕНА ЛАМПЫ Круглая лампа , имеющаяся в рабочей камере духовки , имеет следующие характеристики : - Частота и напряжение тока : 220-240 V (50/60 Hz) - Мощность : 25 W - Тип цоколя : E-14 - Максимальная температура работы : 300°C В приборе используется специальная лампа , предназначенная для использ...

Страница 20 - УТИЛИЗАЦИЯ; Упаковка

УТИЛИЗАЦИЯ Упаковка . Элементы упаковки ( картон , полистирол , полиэтиленовый пакет ) должны быть утилизированы в соответствии с местными правилами по охране окружающей среды . Обратитесь в специальный центр по сбору данного типа отходов . Духовка . Отключите духовку от сети электропитания , либо е...

Характеристики

Другие модели - Печи Korting

Все печи Korting