Кондиционеры Midea MTB-36HWN1-R/MOU-36HN1-R - инструкция пользователя по применению, эксплуатации и установке на русском языке. Мы надеемся, она поможет вам решить возникшие у вас вопросы при эксплуатации техники.
Если остались вопросы, задайте их в комментариях после инструкции.
"Загружаем инструкцию", означает, что нужно подождать пока файл загрузится и можно будет его читать онлайн. Некоторые инструкции очень большие и время их появления зависит от вашей скорости интернета.

Инструкция по монтажу
19
■
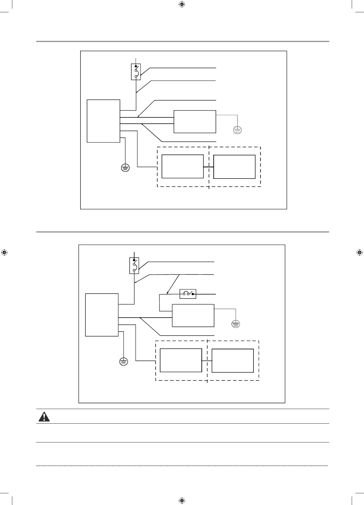
Рис. 13-2
Источник питания
Выключатель/плавкий предохранитель
(приобретается отдельно)
Провод питания
Межблочный провод питания
(только для моделей 24~60)
Наружный блок
УСТРОЙСТВО МОНИТОРИН-
ГА И УПРАВЛЕНИЯ
КОМПЬЮТЕР
Провод сильного электрического сигнала
Внутренний
блок
Заземляющий провод
■
Рис. 13-3
Источник питания
Выключатель/плавкий предохранитель
(приобретается отдельно)
Провод питания
Межблочный провод питания
(только для моделей 24~60)
Наружный блок
УСТРОЙСТВО МОНИТОРИН-
ГА И УПРАВЛЕНИЯ
КОМПЬЮТЕР
Провод сильного электрического сигнала
Внутренний
блок
Заземляющий провод
ПРЕДУПРЕЖДЕНИЕ
Далее приведены монтажные схемы кондиционера. При выполнении монтажа выберите подходящую схему. Неправильный монтаж
может привести к повреждению устройства.