Кондиционеры Ardesto ACM-11HRDN1 - инструкция пользователя по применению, эксплуатации и установке на русском языке. Мы надеемся, она поможет вам решить возникшие у вас вопросы при эксплуатации техники.
Если остались вопросы, задайте их в комментариях после инструкции.
"Загружаем инструкцию", означает, что нужно подождать пока файл загрузится и можно будет его читать онлайн. Некоторые инструкции очень большие и время их появления зависит от вашей скорости интернета.

53
5
6
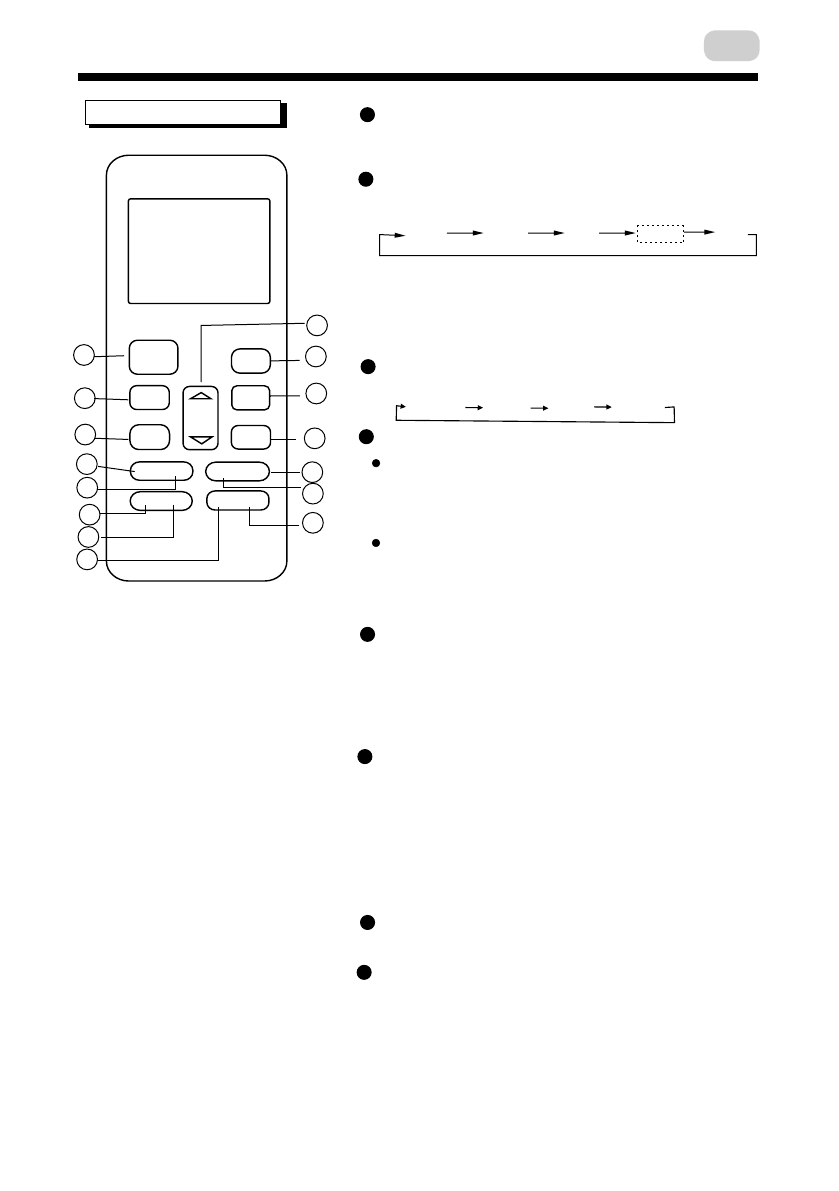
Function buttons
1
2
Each time the button is pressed, the operation
mode is selected in a sequence of following:
3
MODE Button
4
5
ON/OFF Button
Operation starts when this button is pressed
and stops when this button is pressed again.
AUTO
COOL
DRY
HEAT
FAN
SHORTCUT Button
TIMER ON Button
TIMER OFF Button
Used to restore the current settings or resume previous settings.
On the first time connecting to the power, if push the SHORTCUT button, the unit
O
will operate on AUTO mode, 26 C, and fan speed is Auto.
Push this button when remote controller is on, the system will automatically revert
back to the previous settings including operating mode, setting temperature, fan
speed level and sleep feature(if activated). And transmit the signals to the unit.
If pushing more than 2 seconds, the system will automatically restore the current
operation settings including operating mode, setting temperature, fan speed level
and sleep feature(if activated ).
8
6
7
SWING Button
DIRECT Button
Used to change the louver movement and set the desired up/down air flow direction.
O
The louver changes 6 in angle for each press.
NOTE: On some models operate swing feature instead of this feature.
SELF CLEAN Button
UP Button( )
o
Push this button to decrease the indoor temperature setting in 1 C increments
o
to 17 C.
DOWN Button( )
9
11
13
12
14
15
10
Used to select the fan speed in four steps:
AUTO LOW MED HIGH
FAN Button
Press this button to initiate the auto-on time sequence. Each press will increase
the auto-timed setting in 30 minutes increments. When the setting time displays
10.0, each press will increase the auto-timed setting 60 minutes increments.
To cancel the auto-timed program, simply adjust the auto-on time to 0.0.
Press this button to initiate the auto-off time sequence. Each press will increase
the auto-timed setting in 30 minutes increments. When the setting time displays
10.0, each press will increase the auto-timed setting 60 minutes increments.
To cancel the auto-timed program, simply adjust the auto-off time to 0.0
1
2
4
5
3
9
10
8
6
7
11
12
13
14
15
ON/OFF
MODE
FAN
TEMP
SHORT
CUT
TIMER ON
TIMER OFF
SLEEP FRESH
SWING DIRECT
LED FOLLOW ME
TURBO SELF CLEAN
Active/Disable Self Clean function
SLEEP Button
FRESH Button
NOTE:
While the unit is running under SLEEP
mode, it would be cancelled if MODE, FAN
SPEED or ON/OFF button is pressed.
Active/Disable sleep function. It can maintain
the most comfortable temperature and save
energy. This function is available on COOL,
HEAT or AUTO mode only .
Active/Disable
When the
FRESH function is initiated, the Ionizer/Plasma
Dust Collector(depending on models) is
energized and will help to remove pollen and
impurities from the air.
FRESH function.
TURBO Button
Active/Disable Turbo function. Turbo function
enables the unit to reach the preset temperature
at cooling or heating operation in the shortest
time(if the indoor unit does not support this
function, there is no corresponding operation
happened when pressing this button.)
LED Button
Disable/Active indoor screen Display. When
pushing the button, the indoor screen display
is cleared, press it again to light the display.
o
Push this button to increase the indoor temperature setting in 1 C increments
o
to 30 C.
FOLLOW ME Button:
Push this button to initiate the Follow Me feature, the
remote display is actual temperature at its location. The remote control will send
this signal to the air conditioner every 3 minutes interval until press the Follow Me
button again. The air conditioner will cancel the Follow Me feature automatically
if it does not receive the signal during any 7 minutes interval.
Used to stop or start horizontal louver auto swing feature.
NOTE; On some models used to stop or start vertical louver auto swing featrue.
For the detail, see sleep operation in
USER S MANUAL.
,
, ,
, ,
,,
,,
NOTE
:
Please do not select HEAT mode if
the machine you purchased is cooling only
type. Heat mode is not supported by the
cooling only appliance.
EN
Характеристики
Остались вопросы?Не нашли свой ответ в руководстве или возникли другие проблемы? Задайте свой вопрос в форме ниже с подробным описанием вашей ситуации, чтобы другие люди и специалисты смогли дать на него ответ. Если вы знаете как решить проблему другого человека, пожалуйста, подскажите ему :)