Калькуляторы Citizen SR-281N - инструкция пользователя по применению, эксплуатации и установке на русском языке. Мы надеемся, она поможет вам решить возникшие у вас вопросы при эксплуатации техники.
Если остались вопросы, задайте их в комментариях после инструкции.
"Загружаем инструкцию", означает, что нужно подождать пока файл загрузится и можно будет его читать онлайн. Некоторые инструкции очень большие и время их появления зависит от вашей скорости интернета.

SR260B_SR-281N_Dutch_v090331.doc SIZE: 140x75mm SCALE 1:1
2009/3/31
-D14-
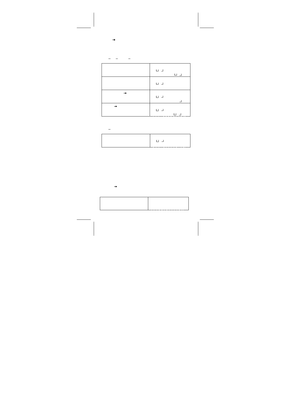
[ 2nd ] [ d/e ] te drukken kunt u overschakelen tussen de meest
nauwkeurige waarde en eenvoudigste waarde. Om de weergave van
het resultaat over te schakelen tussen een decimaal en een breuk,
drukt u op [ a b/c ].
Ü
2
9
5
.
4
2
1
4
4
2
4
=
=
=
DEG
4
2
4
=
4 [ a b/c ] 2 [ a b/c ] 4 [ = ]
4
1
2
.
DEG
4
2
4
=
[ a b/c ]
4
.
5
DEG
4
2
4
=
[ a b/c ] [ 2nd ] [ d/e ]
9
2
.
DEG
4
2
4
=
[ 2nd ] [
d/e ]
4
1
2
.
Berekeningen die zowel breuken als decimale getallen bevatten
worden berekend in decimaal formaat.
Ü
55
.
12
75
.
3
5
4
8
=
+
DEG
8
4
5
+
3
.
7 5 =
8 [ a b/c ] 4 [ a b/c ] 5 [ + ] 3.75
[ = ]
1 2
.
5 5
Hoekconversies
Met de rekenmachine kunt u converteren tussen de volgende
hoekeenheden: graden (DEG), radialen (RAD), en grads (GRAD).
De verhouding tussen de drie hoekeenheden is:
180
°
=
π
rad = 200 grad
1) Om de standaardinstelling te veranderen naar een andere
instelling, drukt u herhaaldelijk op [ 2nd ] [ DRG ] totdat de
gewenste hoekeenheid op het beeldscherm weergegeven wordt.
2) Na het invoeren van een waarde, drukt u herhaaldelijk op [ 2nd ]
[ DRG ] totdat de gewenste hoekeenheid op het beeldscherm
weergegeven wordt.
Ü
90 deg. = 1.57079632679 rad. = 100 grad.
DEG
[ 2nd ] [ DRG ]
0
.