Калькуляторы Citizen SR-281N - инструкция пользователя по применению, эксплуатации и установке на русском языке. Мы надеемся, она поможет вам решить возникшие у вас вопросы при эксплуатации техники.
Если остались вопросы, задайте их в комментариях после инструкции.
"Загружаем инструкцию", означает, что нужно подождать пока файл загрузится и можно будет его читать онлайн. Некоторые инструкции очень большие и время их появления зависит от вашей скорости интернета.

SR260B_SR-281N_Italian_v090330.doc SIZE:140x75mm SCALE 1:1
2009/3/31
-It 14-
DEG
4
2
4
=
[ a b/c ]
4
.
5
DEG
4
2
4
=
[ a b/c ] [ 2nd ] [ d/e ]
9
2
.
DEG
4
2
4
=
[ 2nd ] [
d/e ]
4
1
2
.
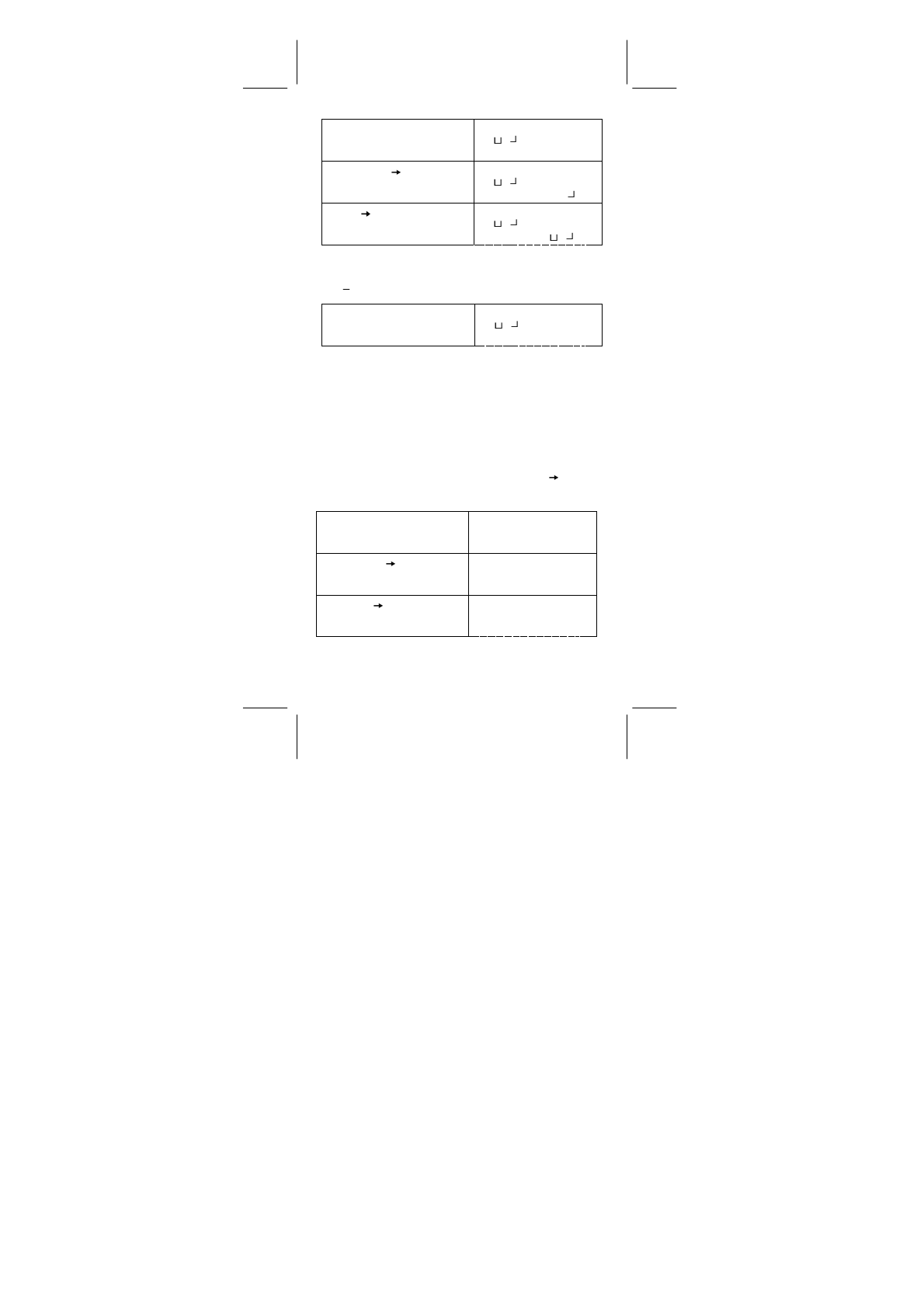
I calcoli che contengono sia frazioni che decimali sono calcolati nel
formato decimale.
Ü
55
.
12
75
.
3
5
4
8
=
+
DEG
8
4
5
+
3
.
7 5 =
8 [ a b/c ] 4 [ a b/c ] 5 [ + ] 3.75
[ = ]
1 2
.
5 5
Conversione unità degli angoli
La calcolatrice le permette convertire la unità degli angoli, fra gradi
(DEG), radianti(RAD), e gradians(GRAD).
Il rapporto fra le tre unità degli angoli è :
180
°
=
π
rad = 200 grad
1) Per cambiare la impostazione predefinita a un’altra impostazione,
premere .[ 2nd ] [ DRG ] ripetutamente per visualizzare l’unità
degli angoli desiderata.
2) Dopo di immettere un valore, premere [ 2nd ] [ DRG ]
ripetutamente per visualizzare l’unità desiderata. .
Ü
90 deg. = 1.57079632679 rad. = 100 grad.
DEG
[ 2nd ] [ DRG ]
0
.
RAD
9 0
O
=
90 [ 2nd ] [ DRG
]
1 .
5 7 0 7 9 6 3 2 6 7 9
GRAD
1
.
5 7 0 7 9 6 3 2 6 7
[ 2nd ] [ DRG
]
1 0 0
.