Холодильник Smeg SBS63XDF - инструкция пользователя по применению, эксплуатации и установке на русском языке. Мы надеемся, она поможет вам решить возникшие у вас вопросы при эксплуатации техники.
Если остались вопросы, задайте их в комментариях после инструкции.
"Загружаем инструкцию", означает, что нужно подождать пока файл загрузится и можно будет его читать онлайн. Некоторые инструкции очень большие и время их появления зависит от вашей скорости интернета.

20
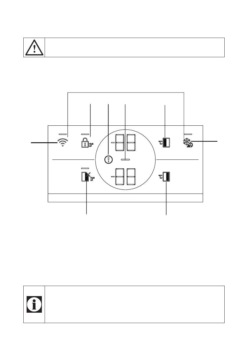
6.2 Панель индикаторов
сначала прочтите раздел «Указания по безопасности»!
в зависимости от модели вашего холодильника панель индикаторов может
иметь некоторые отличия .
визуальные и акустические функции панели индикации помогут вам в эксплу-
атации холодильника .
*1
*9
2
3
4
5
6
8
7
1 . кнопка режима беспроводного соединения
2 . кнопка блокировки
. высокая температура / сообщение о неисправности
4 . индикатор энергосберегающего режима (экран выключен)
5 . кнопка настройки температуры морозильного отделения
6 . кнопка быстрой заморозки
7 . кнопка выключения холодильного отделения (функция «каникулы»)
8 . кнопка настройки температуры холодильного отделения
9 . кнопка сброса параметров настройки беспроводного соединения
* Не во всех моделях
*Опционально:
иллюстрации в данном руководстве по эксплуатации содержат уп-
рощенные изображения, которые могут не вполне соответствовать
вашему прибору . если в приобретенном вами холодильнике нет ка-
ких-либо из показанных компонентов, значит, они используются в
других моделях .