Холодильник Samsung RL44QEUS - инструкция пользователя по применению, эксплуатации и установке на русском языке. Мы надеемся, она поможет вам решить возникшие у вас вопросы при эксплуатации техники.
Если остались вопросы, задайте их в комментариях после инструкции.
"Загружаем инструкцию", означает, что нужно подождать пока файл загрузится и можно будет его читать онлайн. Некоторые инструкции очень большие и время их появления зависит от вашей скорости интернета.

10
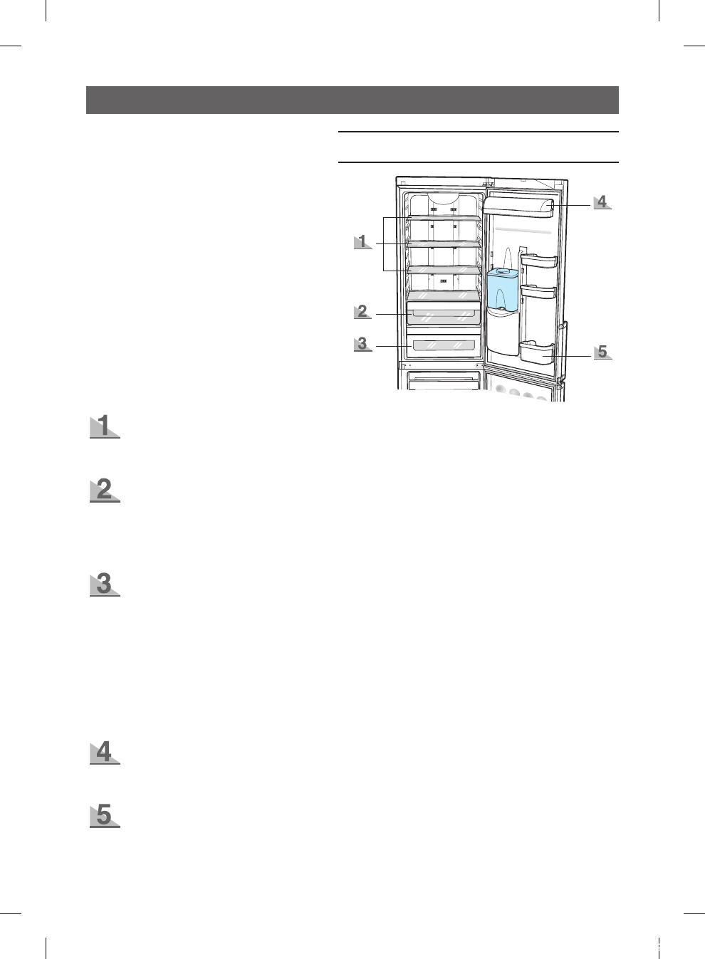
ïêÄçÖçàÖ èêéÑìäíéÇ Ç ïéãéÑàãúçéâ àãà åéêéáàãúçéâ äÄåÖêÖ
Ä. ïÓÎÓ‰Ëθ̇fl ͇χ
èÓÁ‡˜Ì‡fl ÔÓÎ͇ ËÁ Á‡Í‡ÎÂÌÌÓ„Ó ÒÚÂÍ· (Ì ‚Ó ‚ÒÂı ÏÓ‰ÂÎflı)
• èÓÏÂÒÚËÚ ÔÓ‰ÛÍÚ˚ ‚ ÍÓÌÚÂÈÌÂ˚ ‰Îfl ı‡ÌÂÌËfl Ë ÓÒÚ‡‚ÎflÈÚ ÏÂÊ‰Û ÔÓ‰ÛÍÚ‡ÏË ‰ÓÒÚ‡ÚÓ˜Ì˚ Ô
ÓÏÂÊÛÚÍË.
• ÅÂÁÓÔ‡Ò̇ ‚ ËÒÔÓθÁÓ‚‡ÌËË, ÔÓÚÓÏÛ ˜ÚÓ Ó̇ ËÁ„ÓÚÓ‚ÎÂ̇ ËÁ Û‰‡ÓÔÓ˜ÌÓ„Ó ÔÓÁ‡˜ÌÓ„Ó Ï‡Ú¡·.
Ç˚‰‚ËÊÌÓÈ fl˘ËÍ ‰Îfl Ò‚ÂÊËı Ó‚Ó˘ÂÈ (Ì ‚Ó ‚ÒÂı ÏÓ‰ÂÎflı)
• Ç ˝ÚÓÏ ÓÚ‰ÂÎÂÌËË ÏÓÊÌÓ ı‡ÌËÚ¸ Ó‚Ó˘Ë Ë ÙÛÍÚ˚.
• ÖÒÎË ‚‡Ï Ú·ÛÂÚÒfl ·Óθ¯Â ÏÂÒÚ‡ ‰Îfl ı‡ÌÂÌËfl Ó‚Ó˘ÂÈ Ë ÙÛÍÚÓ‚, ÚÓ fl˘ËÍË ÏÓÊÌÓ ‚˚ÌÛÚ¸ ËÁ ÓÚ‰
ÂÎÂÌËfl.
• á‡fl‚ÎÂÌÌ˚È Ó·˙ÂÏ ıÓÎÓ‰ËθÌÓÈ Í‡ÏÂ˚ ‡ÒÒ˜ËÚ‡Ì ‰Îfl ÒÎÛ˜‡fl, ÍÓ„‰‡ fl˘ËÍË ‰Îfl Ò‚ÂÊËı Ó‚Ó˘ÂÈ ‚˚ÌÛÚ˚.
ç ‚Ó ‚ÒÂı ÏÓ‰ÂÎflı
éÚ‰ÂÎÂÌË CoolSelect Zone
• èÓÏÓ„‡ÂÚ ÒÓı‡ÌflÚ¸ ‚ÍÛÒ ÔÓ‰ÛÍÚÓ‚ Ë ‰Óθ¯Â ÒÓı‡ÌflÚ¸ Ëı Ò‚ÂÊÂÒÚ¸. ï‡ÌËÚ ‚ ÌÂÏ Ò˚, ÏflÒÓ, ÔÚˈ
Û, ˚·Û ËÎË Î˛·˚ ‰Û„Ë ÔÓ‰ÛÍÚ˚, ÍÓÚÓ˚ ‚˚ ‚ÒÍÓ ÒӷˇÂÚÂÒ¸ ËÒÔÓθÁÓ‚‡Ú¸.
éÚ‰ÂÎÂÌË ÒÓı‡ÌÂÌËfl Ò‚ÂÊÂÒÚË
• à‰Â‡Î¸ÌÓ ‰Îfl ı‡ÌÂÌËfl Ô‡ÌÓÈ ˚·˚, ÏflÒ‡ Ë Ò‡‰ÂÎÂÍ.
• íÂÏÔ‡ÚÛ‡ ‚ ˝ÚÓÏ ÓÚ‰ÂÎÂÌËË ÌËÊ ÚÂÏÔ‡ÚÛ˚ ‚ ıÓÎÓ‰ËθÌÓÈ Í‡ÏÂÂ.
íÂÏÔ‡ÚÛ‡ ‚ ÌÂÏ Ú‡ÍÊ ÏÓÊÂÚ ÓÔÛÒ͇ڸÒfl ÌËÊ 0°C.
• á‡fl‚ÎÂÌÌ˚È Ó·˙ÂÏ ıÓÎÓ‰ËθÌÓÈ Í‡ÏÂ˚ ‡ÒÒ˜ËÚ‡Ì ‰Îfl ÒÎÛ˜‡fl, ÍÓ„‰‡ ÓÚ‰ÂÎÂÌË ÒÓı‡ÌÂÌËfl Ò‚
ÂÊÂÒÚË ‚˚ÌÛÚÓ.
éÚ‰ÂÎÂÌË ‰Îfl ÏÓÎÓ˜Ì˚ı ÔÓ‰ÛÍÚÓ‚ Ë ÔÓ‰ÛÍÚÓ‚ ‚ ÏÂÎÍÓÈ ‡ÒÙ‡ÒÓ‚ÍÂ
• ï‡ÌËÚ ÊËÌ˚ ÔÓ‰ÛÍÚ˚, Ú‡ÍËÂ, Í‡Í ÒÎ˂ӘÌÓ χÒÎÓ Ë Ò˚.
• ï‡ÌËÚ ÔÓ‰ÛÍÚ˚ ‚ ÏÂÎÍÓÈ ‡ÒÙ‡ÒÓ‚ÍÂ, ̇ÔËÏÂ, ÏÓÎÓÍÓ, ÈÓ„ÛÚ Ë ·ÂÁ‡ÎÍÓ„ÓθÌ˚ ̇ÔËÚÍË.
éÚÒÂÍ Ò Ó„‡Ê‰ÂÌËÂÏ ‰Îfl ·ÛÚ˚ÎÓÍ
• ï‡ÌËÚ Ì·Óθ¯Ë ·ÛÚ˚ÎÍË Ë Í‡ÚÓÌÌ˚ ԇÍÂÚ˚ (1 ÎËÚ) ÔË‚‡, ÏÓÎÓ͇, ÒÓ͇ ‚ ‚ÂıÌÂÈ ˜‡ÒÚË, ‡ ·Óθ
¯Ë ·ÛÚ˚ÎÍË Ë Í‡ÚÓÌÌ˚ ԇÍÂÚ˚ (1,5 ÎËÚ‡) ‚ ÌËÊÌÂÈ ˜‡ÒÚË.
èË ı‡ÌÂÌËË ÔÓ‰ÛÍÚÓ‚ ‚ ıÓÎÓ‰ËθÌËÍ ÒΉ
ÛÈÚ Ô˂‰ÂÌÌ˚Ï ÌËÊ ÂÍÓÏẨ‡ˆËflÏ.
• чÈÚ ÚÂÔÎÓÈ ÔË˘Â Ë Ì‡ÔËÚÍ‡Ï ÓÒÚ˚Ú¸ ‰Ó ÍÓÏ̇ÚÌÓÈ
ÚÂÏÔ‡ÚÛ˚ Ô‰ ÚÂÏ, Í‡Í ÒÚ‡‚ËÚ¸ Ëı ‚ ıÓÎÓ‰ËθÌËÍ.
• è‰ ÚÂÏ, Í‡Í Á‡„Ûʇڸ ÔÓ‰ÛÍÚ˚ ‚ ıÓÎÓ‰ËθÌËÍ, ıÓ
Ó¯Ó Á‡‚ÂÌËÚ Ëı ËÎË ÔÓÎÓÊËÚ ‚ „ÂÏÂÚ˘Ì˚ ÍÓÌÚÂÈÌÂ
˚. ùÚÓ Ô‰ÓÚ‚‡ÚËÚ¸ ÔÓÚ² ‚·„Ë ÔÓ‰ÛÍÚ‡ÏË, ÛıÛ‰
¯ÂÌË Ëı ˆ‚ÂÚ‡ ËÎË ÔÓÚ² ‡Óχڇ, ‡ Ú‡ÍÊ ÔÓÏÓÊÂÚ ‰
Óθ¯Â ÒÓı‡ÌËÚ¸ Ëı Ò‚ÂÊÂÒÚ¸. äÓÏ ÚÓ„Ó, ˝ÚÓ Ô‰ÓÚ‚
‡ÚËÚ Ô‰‡˜Û Á‡Ô‡ı‡ Ó‰ÌËı ÔÓ‰ÛÍÚÓ‚ ‰Û„ËÏ.
• çËÍÓ„‰‡ Ì ‰ÓÔÛÒ͇ÈÚ ÍÓÌÚ‡ÍÚ‡ χÒ· ËÎË Êˇ Ò ÔÎ
‡ÒÚχÒÒÓ‚˚ÏË ÙËÚËÌ„‡ÏË ËÎË ÛÔÎÓÚÌËÚÂÎflÏË ‰‚ˆ
ıÓÎÓ‰ËθÌË͇, Ú‡Í Í‡Í ˝ÚË Ï‡Ú¡Î˚ ΄ÍÓ ÒÚ‡ÌÓ‚flÚÒfl
ÔÓËÒÚ˚ÏË.
• çËÍÓ„‰‡ Ì ı‡ÌËÚ ‚ ıÓÎÓ‰ËθÌËÍ ‚Á˚‚ÓÓÔ‡ÒÌ˚ ‚¢
ÂÒÚ‚‡. äÂÔÍË ÒÔËÚÌ˚ ̇ÔËÚÍË ‰ÓÎÊÌ˚ ı‡ÌËÚ¸Òfl ‚ ‚Â
ÚË͇θÌÓ ÒÚÓfl˘Ëı ·ÛÚ˚Î͇ı Ò „ÂÏÂÚ˘Ì˚ÏË Ôӷ͇ÏË.
DA99-01220N-08.indd 10
2009.12.28 1:12:22 PM












