Холодильник Samsung RB34N5000EF - инструкция пользователя по применению, эксплуатации и установке на русском языке. Мы надеемся, она поможет вам решить возникшие у вас вопросы при эксплуатации техники.
Если остались вопросы, задайте их в комментариях после инструкции.
"Загружаем инструкцию", означает, что нужно подождать пока файл загрузится и можно будет его читать онлайн. Некоторые инструкции очень большие и время их появления зависит от вашей скорости интернета.

24_
эксплуатация
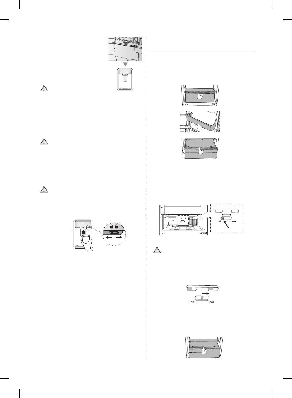
• Закройте дверь
холодильника после
установки емкости для
воды.
- Проверьте, чтобы краник
кулера находился снаружи
после закрытия двери.
Надежно закрепите
емкость для воды к
двери холодильника. В противном случае
емкость может неправильно работать.
Не пользуйтесь холодильником без
емкости для воды. В противном случае
это может отрицательно повлиять на
эффективность работы.
Заполняйте емкость для воды только
минеральной или очищенной водой.
• Поместите стакан под выпуском воды и
нажмите слегка стаканом на рычаг кулера.
Стакан должен находиться на одной линии с
кулером, чтобы вода не пролилась из стакана.
Проверьте, чтобы блокирующее
устройство было установлено на
“РАЗБЛОКИРОВАТЬ”. Вода может
выдаваться только при такой установке.
Рычаг кулера
БЛОК.
РАЗБЛОК.
ПРЕДОСТЕРЕЖЕНИЕ
ПРЕДОСТЕРЕЖЕНИЕ
ПРЕДОСТЕРЕЖЕНИЕ
ИСПОЛЬЗОВАНИЕ COOLSELECT
DUO (ДОПОЛНИТЕЛЬНО)
1. Снимите отсек зоны свежести.
(В зависимости от спецификации, отсек
может быть легко снят при снятии
защитного элемента с правой стороны.)
Knob
Knob
Knob
2. Переместите ручку влево или вправо, чтобы
вручную установить желаемую температуру.
(Температура зоны свежести самая высокая,
когда ручка находится слева, и самая
низкая, когда ручка находится справа.)
Knob
Knob
Knob
Ручка
Если вы установите ручку больше
среднего значения, то внутренняя
температура зоны свежести может
оказаться ниже температуры
холодильника, и овощи и фрукты могут
быть заморожены.
Knob
Knob
Knob
3. После ручной установки желаемой
температуры, поставьте отсек на прежнее
место. (Если защитный элемент снят, то
поставьте его на первоначальное место.)
Knob
Knob
Knob
ПРЕДОСТЕРЕЖЕНИЕ
DA68-02833R-27.indb 24
2018. 5. 10. �� 3:29
Содержание
- 2 • Перед началом работы с холодильником; сведения по технике безопасности
- 3 • Чтобы избежать образования; серьезным
- 14 Советы по экономии энергии
- 15 Рекомендуемый размер зазора :
- 16 содержание; установка холодильника
- 17 ОСНОВАНИЕ
- 19 НАСТРОЙКА ХОЛОДИЛЬНИКА
- 20 эксплуатация холодильника; Морозильная камера
- 21 Холодильник
- 22 ДОПОЛНИТЕЛЬНАЯ ПОЛКА; ЭЛЕМЕНТЫ МОРОЗИЛЬНОЙ КАМЕРЫ; Замораживание продуктов
- 23 Срок хранения замороженных продуктов
- 24 Knob
- 25 СНЯТИЕ ВНУТРЕННИХ ЭЛЕМЕНТОВ; Полки; Ящики; ОЧИСТКА ХОЛОДИЛЬНИКА
- 26 Требуемые инструменты; Демонтаж дверцы холодильника
- 29 Этапы установки
- 32 поиск и устранение неисправностей; Общие неисправности; Температура
- 33 Запах
- 34 Холодильник издает странные звуки?; Следующие звуки являются нормальными:
- 36 Информация о классе энергоэффективности (только для России)
- 42 Температурные границы окружающей среды; Russian; Правильная утилизация изделия