Холодильник Samsung RB34K6220EF - инструкция пользователя по применению, эксплуатации и установке на русском языке. Мы надеемся, она поможет вам решить возникшие у вас вопросы при эксплуатации техники.
Если остались вопросы, задайте их в комментариях после инструкции.
"Загружаем инструкцию", означает, что нужно подождать пока файл загрузится и можно будет его читать онлайн. Некоторые инструкции очень большие и время их появления зависит от вашей скорости интернета.

Русский 59
Обс
лу
живание
3
1
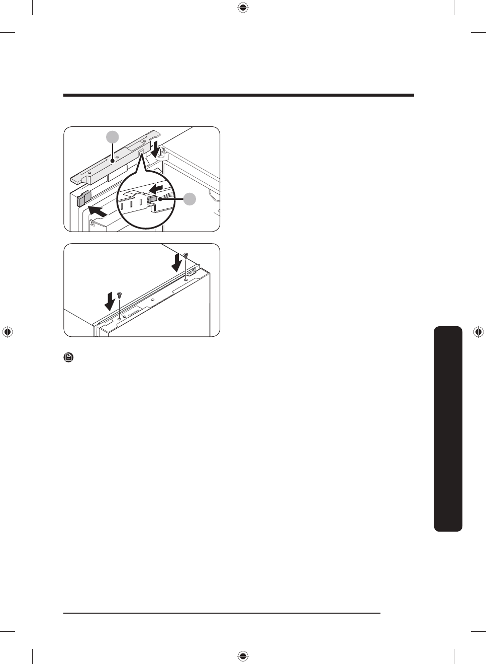
Только для моделей
RB37
со стеклянными дверцами
12.
Подсоедините
соединитель PBA
интеллектуального устройства (3)
. Вставьте в
дверцу холодильной камеры дополнительную
заглушку (L)
. Затем нажмите на
крышку
проводов (1)
, чтобы закрыть ее.
• Закройте дверцу холодильной камеры и затяните
винты вверху дверцы.
ПРИМЕЧАНИЕ
Возможно, вам понадобится переставить дверцы в исходное положение. В этом случае следуйте приведенным
выше инструкциям, однако поменяйте местами дверцы, петли, крышки и заглушки, чтобы вернуть их в исходное
положение.
Untitled-11 59
9/21/2017 12:19:45 PM
Содержание
- 3 • Перед эксплуатацией вашего холодильника Samsung внимательно
- 4 • Предупреждения и важные инструкции по безопасности,
- 5 • Не включайте устройство, если оно имеет какие-либо
- 6 Важные знаки безопасности и меры предосторожности:; получению серьезной травмы, повреждению; ВНИМАНИЕ; получению серьезной травмы и/или; ПРИМЕЧАНИЕ
- 7 ПРЕДУПРЕЖДЕНИЕ; • При перевозке и установке устройства соблюдайте осторожность,
- 8 Важные замечания по установке
- 12 Меры предосторожности при установке
- 13 Важные замечания по использованию
- 18 Меры предосторожности при эксплуатации
- 20 • Не ударяйте и не прикладывайте значительные усилия к
- 21 Меры предосторожности при очистке
- 23 Важные замечания по утилизации
- 24 Дополнительные советы по надлежащему использованию
- 25 Советы по экономии энергии
- 28 Установка; Краткий обзор холодильника
- 29 Пошаговая установка; Выбор места
- 32 Соединение WiFi
- 34 Напольное покрытие
- 35 Регулировка выравнивающих ножек
- 36 Первоначальные настройки; Окончательная проверка
- 37 Эксплуатация; Панель функций
- 41 Samsung Smart Home; Страница холодильника
- 44 Рекомендации по хранению продуктов; Заморозка продуктов; Материалы, используемые для упаковки
- 45 Продолжительность хранения замороженных продуктов; Размораживание
- 46 Обслуживание; Перестановка дверец (только в соответствующих моделях); Необходимые инструменты (не входят в комплект поставки)
- 47 Пошаговые инструкции
- 50 Демонтаж дверцы морозильной камеры
- 51 Перестановка механизмов автоматического закрывания
- 52 Установка дверцы морозильной камеры на место
- 54 Установка дверцы холодильной камеры на место
- 60 Использование и уход
- 61 Складывающаяся полка
- 62 Очистка; Внутренняя и наружная часть; Замена деталей; Светодиодные лампы
- 63 Устранение неисправностей; Общие неисправности; Температура
- 64 Запах
- 65 Конденсат
- 66 Холодильник издает странные звуки?; Следующие звуки являются нормальными:












