Холодильник Liebherr SBS 7222 - инструкция пользователя по применению, эксплуатации и установке на русском языке. Мы надеемся, она поможет вам решить возникшие у вас вопросы при эксплуатации техники.
Если остались вопросы, задайте их в комментариях после инструкции.
"Загружаем инструкцию", означает, что нужно подождать пока файл загрузится и можно будет его читать онлайн. Некоторые инструкции очень большие и время их появления зависит от вашей скорости интернета.

F42.
u
Иát6y
F42.
vy58ět0 z pouz(ra 7ož4s06 (víř06 a
př08ístět0 50.
u
Ma(7o (v0ří
F42.
, zát6y
F42.
a 6rycí (0st4č6y*
F42.
o(8o9tu5t0 a př08o9tu5t0 9a protě5ší stra9u.
u
Př4 8o9táž4 6rycíc3 (0st4č06 9a protě5ší stra9ě (áv05t0 pozor
9a správ9é za670s9utí.*
. . Mo9táž (v0ří
u
Dv0ř0 9asaďt0 s3ora 9a spo(9í 7ož4s6ový č0p
F42.
.
u
Dv0ř0 zavř0t0.
u
Hor9í sto5a9 7ož4s6a
F42.
v7ožt0 9a 9ové stra9ě závěsu
(o (víř06.
u
Hor9í sto5a9 7ož4s6a
F42.
př4šroubu5t0 s N8
6rát
Вorx®
F42.
. Díry pro šrouby přípa(9ě př0(08
propíc39ět0 90bo použ45t0 a6u8u7átorový šroubová6.
u
Kryt
F42.
a 6ryt
F42.
zat7ačt0 vž(y 9a opač9é
stra9ě.
. . Дyrov9á9í (v0ří
u
Dv0ř0 přípa(9ě po8ocí obou po(é79ýc3 (ěr v0 spo(9í8
sto5a9u 7ož4s6a
F42.
vyrov905t0 ta6, aby 7ícova7y s0
s6ří9í přístro50. Дyšroubu5t0 prostř0(9í šroub.
ДÝБВАAHA
N0b0zp0čí zra9ě9í vypa(áva5ící84 (víř6y!
Po6u( 905sou (í7y 7ož4s6a p0v9ě př4šroubová9y, 8o3ou (víř6a
vypa(9out. Вo 8ůž0 vést 6 váž9ý8 zra9ě9í8. Dvíř6a s0 9avíc
řá(9ě 90(ovíra5í, ta6ž0 c37az09í pa6 909í (ostat0č9é.
u
Бto5a9y 7ož4s6a př4šroubu5t0 s N8.
u
И6o9tro7u5t0 vš0c39y šrouby a příp. 50 (otá39ět0.
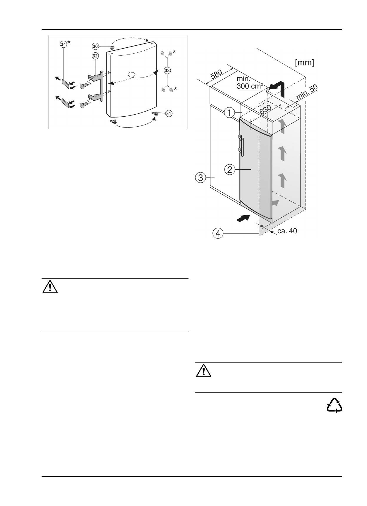
. Иasu9utí (o 6uc3yňs6é 7496y
F42.
Nástav9á s6říň6a
Kuc3yňs6á s6říň
Přístro5
Бtě9a
Př4 8o9táž4 (o 6uc3yňs6ýc3 s6ří9í 37oub6a 8ax.
88 7z0
přístro5 49sta7ovat 390( v0(70 6uc3yňs6é s6ří9ě
F42.
.
Dvíř6a přístro50 př0sa3u5í př0(9í stě9u 6uc3yňs6é s6ří9ě 9a
stra9ác3 o 88 a uprostř0( o 88. Вo u8ožňu50 5054c3
vo79é ot0vírá9í a zavírá9í.
Dů70ž4té pro větrá9í:
-
Na za(9í stra9ě s6říň6y 9ástavc0 8usí být větrací šac3ta
37ubo6á a70spoň 88 př0s c07ou šíř6u s6říň6y.
-
Дětrací pro147 po( strop08 8íst9ost4 8usí být 84948á79ě
c8 .
-
Čí8 větší 50 větrací pro147, tí8 úspor9ě54 zaříz09í 1u92u50.
K(yž s0 přístro5 49sta7u50 závěsy v0(70 stě9y
F42. , 8usí být
vz(á709ost přístro50 o( stě9y a70spoň 88 . Вo o(poví(á
př0sa3u 8a(7a př4 ot0vř09ýc3 (v0říc3.
. L46v4(ac0 oba7u
ДÝБВАAHA
N0b0zp0čí u(uš09í ba74cí8 8at0r4á708 a 1ó74í!
u
N090c3t0 (ět4, aby s4 3rá7y s ba74cí8 8at0r4á708.
Oba7 50 vyrob09 z r0cy67ovat079é3o 8at0r4á7u:
-
Д794tá 70p096a/70p096a
-
Dí7y z 9apě9ě9é3o po7ystyré9u
-
Fó740 a sáč6y z po7y0ty7é9u
-
Бta3ovací pás6y z po7ypropy7é9u
-
př4b4tý (ř0vě9ý rá8 s po(7ož6ou z po7y0ty709u*
u
Ba74cí 8at0r4á7 (opravt0 9a o14c4á79í sběr9é 8ísto.
Гv0(09í (o provozu