Холодильник Liebherr Ksl 2814 Comfort - инструкция пользователя по применению, эксплуатации и установке на русском языке. Мы надеемся, она поможет вам решить возникшие у вас вопросы при эксплуатации техники.
Если остались вопросы, задайте их в комментариях после инструкции.
"Загружаем инструкцию", означает, что нужно подождать пока файл загрузится и можно будет его читать онлайн. Некоторые инструкции очень большие и время их появления зависит от вашей скорости интернета.

Содержание
1
Основные
отличительные
особенности
устройства.............................................................
2
1.1
Обзор устройства и оборудования.......................
2
1.2
Область применения устройства..........................
2
1.3
Декларация соответствия.....................................
3
1.4
Технические характеристики продукта................
3
1.5
Размеры для установки.........................................
3
1.6
Экономия электроэнергии....................................
3
2
Общие указания по технике безопасности....
4
3
Органы управления и индикации.....................
5
3.1
Элементы управления и контроля........................
5
4
Ввод в работу.......................................................
5
4.1
Транспортировка устройства................................
5
4.2
Установка устройства............................................
5
4.3
Перевешивание дверей.........................................
6
4.4
Установка в кухонную стенку................................
8
4.5
Упаковку утилизируйте надлежащим образом....
8
4.6
Подключение устройства......................................
8
4.7
Включение устройства...........................................
8
5
Обслуживание......................................................
8
5.1
Холодильное отделение.........................................
8
5.2
Морозильная камера............................................. 10
6
Уход......................................................................... 10
6.1
Размораживание.................................................... 10
6.2
Чистка устройства.................................................. 11
6.3
Замена внутреннего освещения........................... 11
6.4
Сервисная служба................................................. 11
7
Неисправности..................................................... 12
8
Вывод из работы................................................. 12
8.1
Выключите устройство.......................................... 12
8.2
Отключение............................................................ 12
9
Утилизация устройства...................................... 13
10
Информация об изготовителе........................... 13
Изготовитель постоянно работает над дальнейшим разви-
тием всех типов и моделей. Поэтому мы рассчитываем на
понимание в том, что мы оставляем за собой право изме-
нять форму, оборудование и технику.
Чтобы познакомиться со всеми полезными возможно-
стями данного нового устройства, пожалуйста, прочитайте
внимательно указания в этом руководстве.
Данное руководство действительно для множества
моделей, поэтому для конкретной модели возможны неко-
торые отклонения. Разделы, относящиеся только к опре-
деленным устройствам, помечены знаком "звездочка" (*).
Указания о выполнении действия помечены знаком
, результаты действия – знаком .
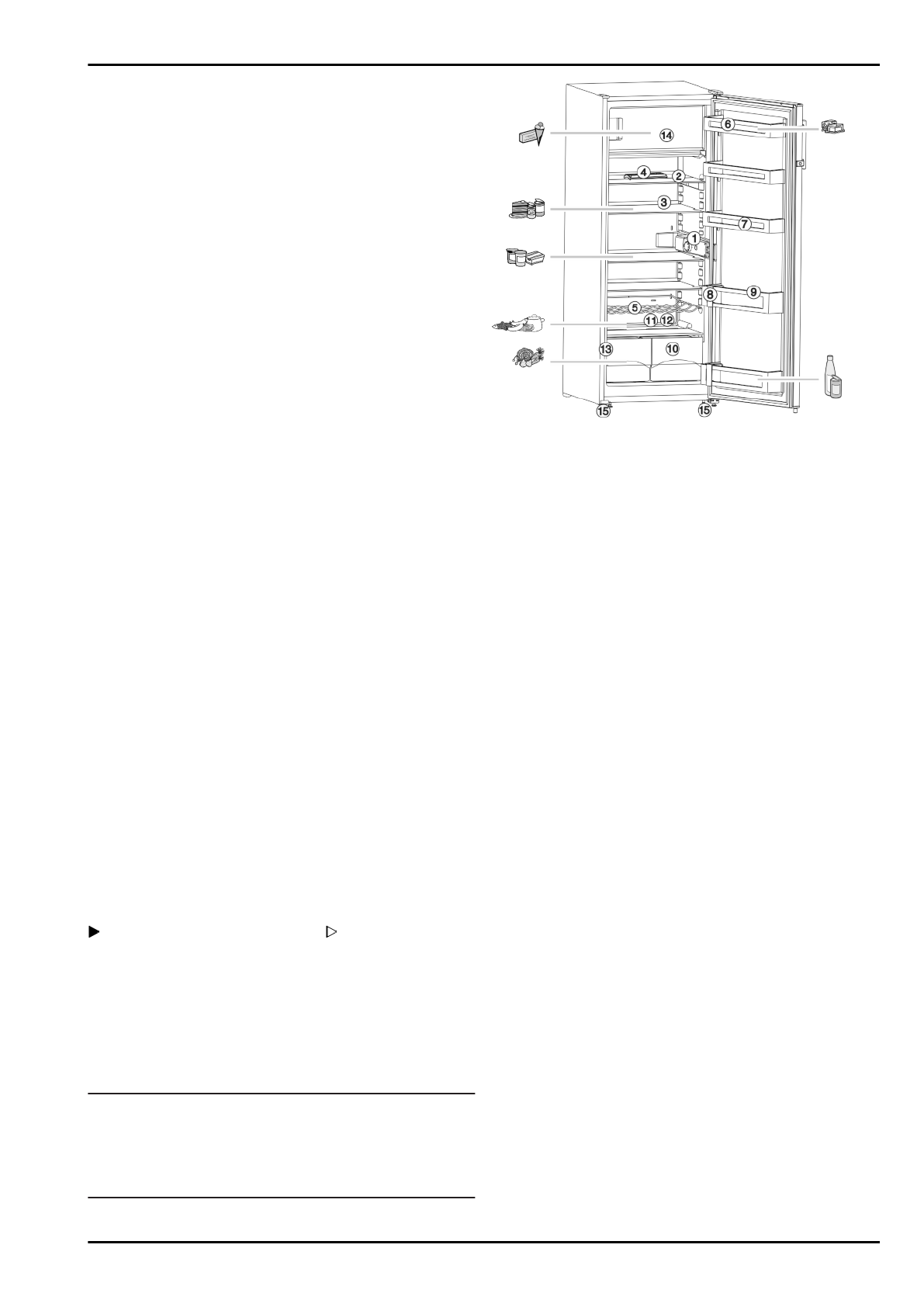
1 Основные отличительные
особенности устройства
1.1 Обзор устройства и оборудо-
вания
Указание
u
Рассортировать продукты, как показано на рисунке. Так
устройство работает с экономией энергии.
u
Места для хранения, выдвижные ящики или корзины в
состоянии поставки расположены для оптимального
энергосбережения.
Fig. 1
(1) Корпус термостата,
внутреннее осве-
щение
(9) Полка на двери для
высоких бутылок
(2) Полка, разделяемая
(10) Ёмкости для овощей
(3) Полка, переста-
вляемая
(11) Наиболее холодная зона
(4) Контейнер для яиц
(12) Отверстие для стока
(5) Решетка для бутылок
(13) Заводская табличка
(6) Полка для масла
(14) Морозильная камера
(7) Дверная полка, пере-
мещаемая
(15) Установочные ножки
(8) Держатель для
бутылки
1.2 Область применения устройства
Применение по назначению
Устройство предназначено исключительно
для охлаждения пищевых продуктов в
домашних условиях или условиях, прибли-
женных к домашним. Сюда относится,
например, использование
-
на кухнях частных лиц, в столовых,
-
в частных пансионатах, отелях, мотелях и
других местах проживания,
-
при обеспечении готовым питанием и
аналогичных услугах оптовой торговли.
Все другие виды применения являются
недопустимыми.
Предсказуемое ненадлежащее исполь-
зование
Следующее использование запрещается в
явном виде:
-
Хранение и охлаждение медикаментов,
плазмы крови, лабораторных препаратов
или аналогичных веществ и продуктов,
лежащих в основе директивы по медицин-
ской продукции 2007/47/EG.
-
Использование во взрывоопасных зонах.
Основные отличительные особенности устройства
2
* Наличие в зависимости от модели и комплектации
Характеристики
Остались вопросы?Не нашли свой ответ в руководстве или возникли другие проблемы? Задайте свой вопрос в форме ниже с подробным описанием вашей ситуации, чтобы другие люди и специалисты смогли дать на него ответ. Если вы знаете как решить проблему другого человека, пожалуйста, подскажите ему :)