Холодильник Liebherr KIK 2605_KIKV 3043 - инструкция пользователя по применению, эксплуатации и установке на русском языке. Мы надеемся, она поможет вам решить возникшие у вас вопросы при эксплуатации техники.
Если остались вопросы, задайте их в комментариях после инструкции.
"Загружаем инструкцию", означает, что нужно подождать пока файл загрузится и можно будет его читать онлайн. Некоторые инструкции очень большие и время их появления зависит от вашей скорости интернета.

28
KIK
Размораживание
Холодильная камера
размораживается автоматически. Конденсат испаряется
благодаря теплу компрессора - наличие капель воды на задней
стенке функционально обосновано и абсолютно нормально.
W
Обратите внимание только на то, чтобы конденсат мог
беспрепятственно вытекать через отверстие для стока в задней
стенке (стрелка на рис.
A
).
В морозильной камере
при длительной эксплуатации на стенках образуется толстый слой
инея и льда. Он приводит к увеличению расхода энергии. Поэтому
регулярно размораживайте устройство:
W
За один день до размораживания включите режим „быстрого
замораживания“, продукты получат „запас холода“.
Для размораживания отключите устройство:
- вытащите сетевую вилку из розетки или
- поверните регулятор температуры морозильного отделения
1
в
положение „0“.
W
Замороженные продукты, по возможности в выдвижном ящике,
с аккумуляторами холода*, заверните сверху в газетную или
оберточную бумагу и сохраняйте в холодном месте.
W
Для ускорения процесса размораживания поставьте на пластину
кастрюлю с горячей, но не кипящей водой.
Не используйте для размораживания электрические
нагревательные приборы или приборы для чистки паром,
спреи для оттаивания, открытый огонь или металлические
предметы для удаления льда. Опасность травмирования и
повреждения!
W
В процессе размораживания держите дверцу устройства открытой.
Остаток талой воды удалите губкой или тряпкой. В завершение
вычистите устройство.
Чистка
W
Перед чисткой устройство должно быть
обязательно выключено. Вытащите вилку или
выверните предохранители, установленные перед
ней, или извлеките их.
W
Внутреннюю камеру и части оборудования очистите вручную
чуть теплой водой с небольшим количеством средства для
ополаскивания. Не работайте с прибором очистки паром -
опасность травмирования и повреждения!
Ни в коем случае не используйте губки с трущим или царапающим
покрытием, концентрированные очистители и абразивные
или кислотосодержащие чистящие средства или химические
растворители.
- Можно порекомендовать мягкие тряпки и чистящее средство
общего применения с нейтральным значением pH.
- Проследите, чтобы вода, использованная для чистки, не попала в
желоба для стока, на вентиляционные решетки и электрические
узлы. Насухо вытрите устройство.
- Не повреждайте или не ликвидируйте заводскую табличку на
внутренней стороне устройства - она важна для службы сервиса..
W
Масленку можно вымыть в моечной машине, полки, стеклянные
пластины и прочие детали оборудования чистите вручную, они не
предназначены для обработки в моечной машине.
W
Если требуется извлечь верхний ящичек на двери (для масла или
сыра), то его следует всегда извлекать вместе с крышкой*! После
этого надо осторожно надавить на боковую стенку ящичка наружу
так, чтобы освободить крепление крышки и извлечь крышку в
сторону; обращайте внимание при этом на возможно имеющиеся
опорные втулки.
- Съемные полки и полки на двери для чистки можно разобрать
- снимите со стеклянных пластин планки и боковые детали*.
Снимите защитную пленку со всех декоративных планок.
*
в зависимости от модели и оборудования
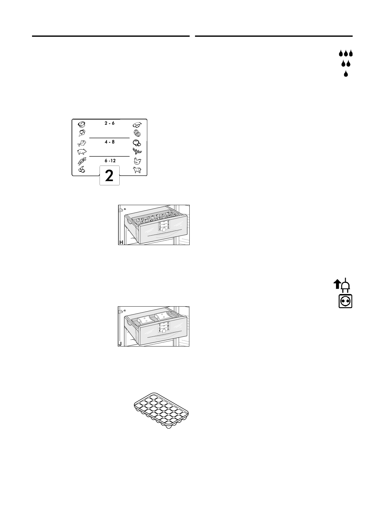
Информационная табличка*
Замороженные продукты следует использовать в течение
рекомендованного времени хранения.
Числа между значками обозначают срок хранения в месяцах для
многих видов замороженных продуктов.
Указанные сроки хранения являются ориентировочными для
свежезамораживаемых продуктов. Какое значение подходит - большее
или меньшее - зависит от качества продуктов и их предварительной
обработки перед замораживанием. Меньшие числа обычно относятся к
жирным продуктам.
Поднос для замораживания**
позволит Вам замораживать ягоды,
травы, овощи и другие мелкие
продукты россыпью. Это препятствует
их смерзанию. Замороженные
продукты практически сохраняют свою
форму, в дальнейшем легче делить их
на порции.
W
Свободно распределите продукты для замораживания на подносе,
рис.
H
.
W
Подвесьте поднос для замораживания в верхнем выдвижном
ящике. Замораживайте продукты в течение 10 - 12 часов, затем
пересыпьте в пакетики для замораживания или контейнеры и
положите в выдвижной ящик.
W
Для размораживания продукты снова свободно разложите.
Аккумулятор холода*
препятствуют слишком быстрому
повышению температуры при
отключении электропитания – лучше
сохраняется качество продуктов.
W
Для экономии места можно
замораживать и хранить аккумуляторы холода на подносе для
замораживания, рис.
J
.
- Если требуется „как можно дольше сохранять продукты при
неисправности“, уложите промороженные аккумуляторы в верхнем
выдвижном ящике прямо на замороженные продукты.
Приготовление кубиков льда
W
Наполните ванночку для льда водой.
W
Поставьте ванночку для льда в устройство
и заморозьте.
W
Кубики льда можно вынуть из ванночки,
перевернув ее или немного подержав под проточной водой.
4 Морозильное отделение
Готовые блюда
Мороженое
Рыба
Фрукты
Овощи
Колбаса
Хлеб
Грибы
Дичь
Птица
Говядина/
телятина
Свинина
5 Размораживание, чистка












