Холодильник Liebherr GN 4135 Comfort NoFrost - инструкция пользователя по применению, эксплуатации и установке на русском языке. Мы надеемся, она поможет вам решить возникшие у вас вопросы при эксплуатации техники.
Если остались вопросы, задайте их в комментариях после инструкции.
"Загружаем инструкцию", означает, что нужно подождать пока файл загрузится и можно будет его читать онлайн. Некоторые инструкции очень большие и время их появления зависит от вашей скорости интернета.

Содержание
1
Основные
отличительные
особенности
устройства.............................................................
2
1.1
Краткое описание устройства и оборудования...
2
1.2
Область применения устройства..........................
2
1.3
Декларация соответствия.....................................
3
1.4
Технические характеристики продукта................
3
1.5
Габариты для установки........................................
3
1.6
Экономия электроэнергии....................................
3
1.7
SmartGrid.................................................................
4
1.8
SmartDevice.............................................................
4
2
Общие указания по технике безопасности....
4
3
Органы управления и индикации.....................
5
3.1
Основной экран......................................................
5
3.2
Структура управления...........................................
6
3.3
Навигация...............................................................
6
3.4
Символы индикации...............................................
6
3.5
Опции устройства...................................................
6
4
Ввод в работу.......................................................
7
4.1
Транспортировка устройства................................
7
4.2
Установка устройства............................................
7
4.3
Перевешивание двери...........................................
8
4.4
Установка в кухонную стенку................................ 12
4.5
Упаковку утилизируйте надлежащим образом.... 13
4.6
Подключение устройства...................................... 13
4.7
Включение устройства........................................... 13
4.8
Коробка SmartDevice-Box...................................... 13
4.9
Активация таймера очистки вентиляционной
сетки........................................................................ 14
5
Обслуживание...................................................... 14
5.1
Изменение единицы измерения температуры.... 14
5.2
Защита от детей..................................................... 15
5.3
Режим Sabbath Mode............................................. 15
5.4
Замораживание продуктов................................... 15
5.5
Сроки хранения...................................................... 15
5.6
Размораживание продуктов.................................. 15
5.7
Регулирование температуры................................. 16
5.8
Индикатор состояния*........................................... 16
5.9
SuperFrost................................................................ 16
5.10 Выдвижные ящики................................................. 17
5.11 Съемные полки....................................................... 17
5.12 VarioSpace............................................................... 17
5.13 Ванночка для кубиков льда................................... 17
5.14 Аккумулятор холода............................................... 17
6
Уход......................................................................... 17
6.1
Размораживание с помощью NoFrost................... 17
6.2
Очистка вентиляционной сетки............................ 18
6.3
Чистка устройства.................................................. 18
6.4
Сервисная служба................................................. 19
7
Неисправности..................................................... 19
8
Сообщения............................................................ 20
9
Вывод из работы................................................. 21
9.1
Выключение устройства........................................ 21
9.2
Отключение............................................................ 21
10
Утилизация устройства...................................... 22
Изготовитель постоянно работает над дальнейшим разви-
тием всех типов и моделей. Поэтому мы рассчитываем на
понимание в том, что мы оставляем за собой право изме-
нять форму, оборудование и технику.
Чтобы познакомиться со всеми полезными возможно-
стями данного нового устройства, пожалуйста, прочитайте
внимательно указания в этом руководстве.
Данное руководство действительно для множества
моделей, поэтому для конкретной модели возможны неко-
торые отклонения. Разделы, относящиеся только к опре-
деленным устройствам, помечены знаком "звездочка" (*).
Указания о выполнении действия помечены знаком
, результаты действия – знаком .
1 Основные отличительные
особенности устройства
1.1 Краткое описание устройства и
оборудования
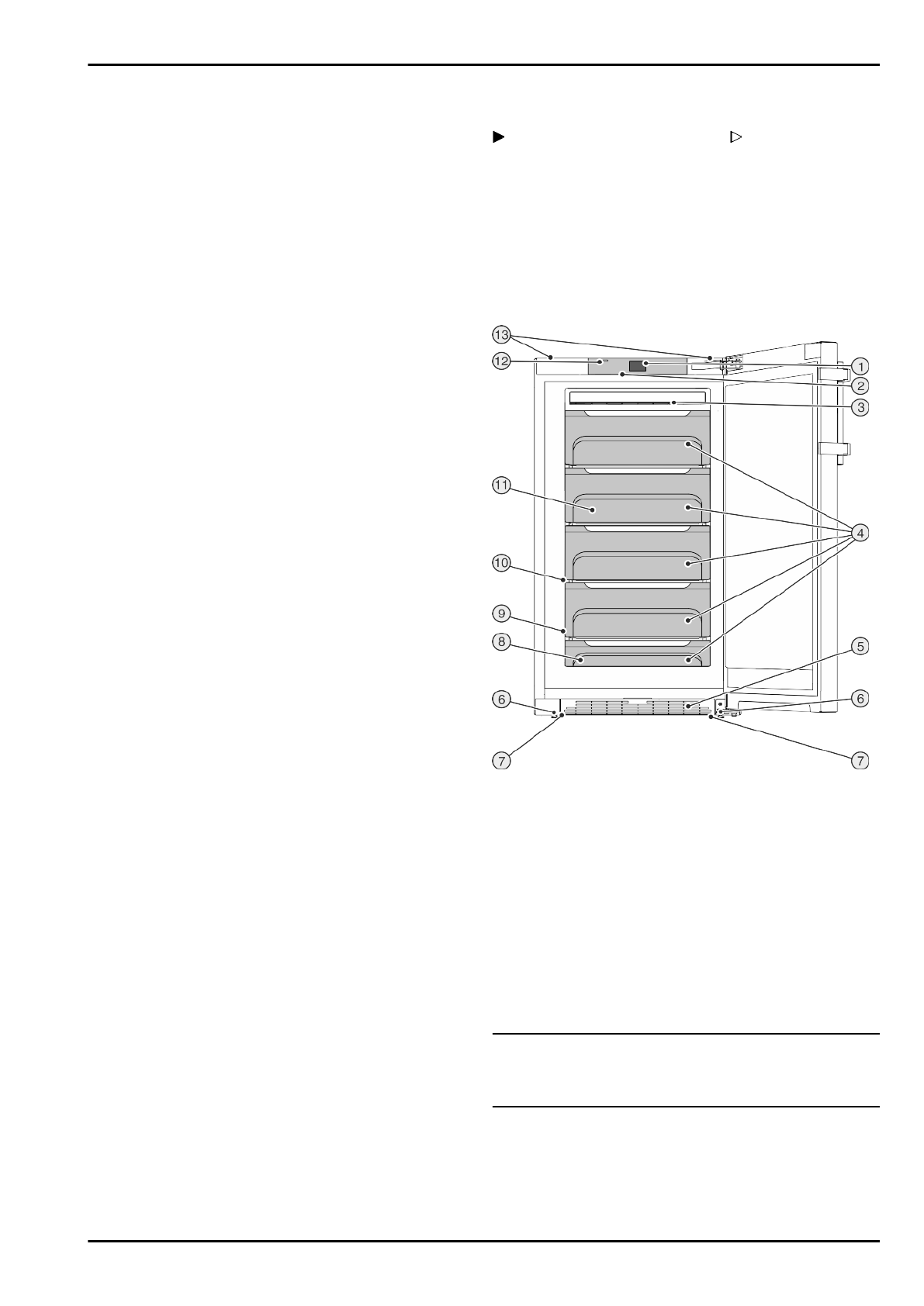
Примерное отображение модели устройства
Fig. 1
(1) Приборы контроля и
управления
(8) Аккумулятор холода
(2) Внутреннее свето-
диодное освещение
(9) Заводская табличка
(3) Устройство NoFrost
(10) VarioSpace
(4) Выдвижной ящик для
заморозки
(11) Индикатор состояния*
(5) Вентиляционная
решетка
(12) Транспортировочные
ручки сзади
(6) Установочные опоры
(13) Транспортировочные
ручки сверху
(7) Транспортировочные
ручки спереди, транс-
портировочные
ролики сзади
Указание
u
Места для хранения, выдвижные ящики или корзины в
состоянии поставки расположены для оптимального
энергосбережения.
1.2 Область применения устройства
Применение по назначению
Данное устройство предназначено исключи-
тельно для охлаждения пищевых продуктов
Основные отличительные особенности устройства
2
* Наличие в зависимости от модели и комплектации
Содержание
- 4 Общие указания по технике; Опасности для пользователя:; Общие указания по технике безопасности
- 5 Органы управления и индикации
- 7 Транспортировка устройства; Ввод в работу
- 8 Перевешивание двери
- 9 Перестановка верхних опорных частей
- 12 Установка в кухонную стенку
- 13 жащим образом; Подключение устройства; Включение устройства
- 14 Изменение единицы измерения; Обслуживание
- 15 Режим Sabbath Mode; Замораживание продуктов; Размораживание продуктов
- 16 Регулирование температуры
- 17 Ванночка для кубиков льда; Аккумулятор холода; холода; Размораживание с помощью; Уход
- 19 Неисправности
- 20 Сообщения
- 21 Выключение устройства; морозильного отделения; Вывод из работы
- 22 0 Утилизация устройства; Утилизация устройства
Характеристики
Остались вопросы?Не нашли свой ответ в руководстве или возникли другие проблемы? Задайте свой вопрос в форме ниже с подробным описанием вашей ситуации, чтобы другие люди и специалисты смогли дать на него ответ. Если вы знаете как решить проблему другого человека, пожалуйста, подскажите ему :)