Холодильник Zanussi ZRA 319 SW - инструкция пользователя по применению, эксплуатации и установке на русском языке. Мы надеемся, она поможет вам решить возникшие у вас вопросы при эксплуатации техники.
Если остались вопросы, задайте их в комментариях после инструкции.
"Загружаем инструкцию", означает, что нужно подождать пока файл загрузится и можно будет его читать онлайн. Некоторые инструкции очень большие и время их появления зависит от вашей скорости интернета.

52
R
RU
U
!
!"
"##
%
%
5
5
!
!'
'&
&
$ - " % #$
!'& 2 ". A%- &!1 (
*!)1, 2!1 !1
(!) *!!" $)
$ „0” & ! (+$. 5
!) „0” % %.
5 !'3$ 2+ #!)- (
$-.
$
$
-
-
2!$- $ $& -
% % $1 #$
, #$ % % #%!11
!1 )1 ) $-.
2!1 %!"4$ #&1$ !
*!) %! -$.
!1 %&1 $#!" $
$ - -18° ) ! "
$ (+ „3”. 0$ $
*!!" $& 1 +5°
! ). %-& $
!) „3” * !1 )2
!"#1 %.
$ *!!" # !"
!)1 $, $-
)'3 -, &- -1 (-
*!!" !& !" & !)-*
3 *!)-* 2* +.
$ !) „5” (
$$$) !& !&1 2#
%, $, $1 )- - $
$) %" 1. -# 2
%1 % %.
*
*
!
!
!
!"
"
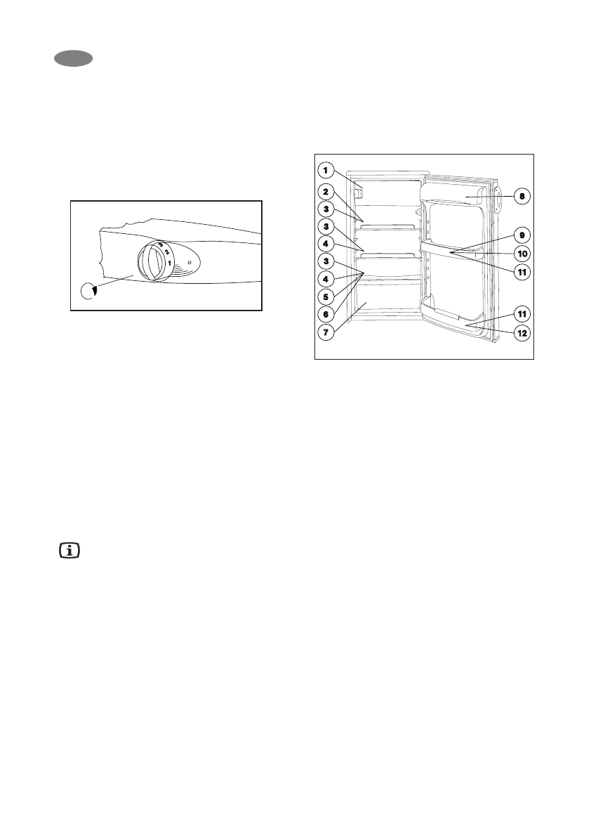
#$3 *!!"
$$ $ !"#"1 !'3$
$:
1. #$)-* , $)2,
2! !". 6$) )*
2. 2!1 3, -&
3. 3 #--* $1*
4. -- - %
5. 9!, $!&- -
6. ) $1,
7. L-, 3, !
8. !& $!, -
9. (
10. M2-, $
11. %!"4* %-!*, 2#-
12. G!"4 %-!, .
5
5
$
$1
1 *
*
1
1
$
$
5 ( ( 0!( -
%!(- *1 * ! -*
*!!" $#!" $*.
5$1 *1 !"#1 !" #,
# ) 2,
*!1 "4, 0$ %!(
1!11 & +$.
/! %- #$)- - ) 1!,
#$) $1,
- %*$ $) %"
3.
!
!"
"##
"
" $
$
##
!
!"
"
!
!
!
!
4
4 ##
##
&
&
5 #$ !)1 $
$#!"$ ! $) )"1
$ -18 ° ).
0 $ & !2
$ $) *" - 2!%
#$#, ) #$)" *"
%!"4 !& )* .
6 ! $) #$#" ! 2 2
)* .
! - !0! !
+!"2, *! *!!"$ ! #$
$ $#!" !.
$1 #"
#$)1.
!'3' (' )* !
#!-" $#!" ! ! 2,
-31 (1 &!"
#$#!".












