Холодильник Zanussi ZRA 319 SW - инструкция пользователя по применению, эксплуатации и установке на русском языке. Мы надеемся, она поможет вам решить возникшие у вас вопросы при эксплуатации техники.
Если остались вопросы, задайте их в комментариях после инструкции.
"Загружаем инструкцию", означает, что нужно подождать пока файл загрузится и можно будет его читать онлайн. Некоторые инструкции очень большие и время их появления зависит от вашей скорости интернета.

41
R
RO
O
Minuirea aparatului
Punerea in functiune
Asezati accesoriile in frigider apoi introduceti stecherul in
priza. Pentru a porni racirea rotiti butonul din dreapta
compar timentului de produse proaspete din pozitia „0” in
sensul acelor de ceasornic, ca in figura. In pozitia „0”
aparatul nu functioneaza.
Urmatorul paragraf va va da instructiuni de setare.
Controlul temperaturii, setarea
Thermostatul intrerupe functionarea aparatului automat,
pentru un timp mai scur t sau mai lung in functie de setare
si il reporneste asigurind temperatura ceruta.
Prin rotirea butonului termostatului spre cifrele mari,
racirea devine din ce in ce mai intensiva.
In compar timentul de congelare se pot obtine -18 °C sau
o temperatura chiar mai joasa, daca butonul termostatului
este setat pe pozitia „3”. In acest caz temperatura de
pornire a aparatului in par tea de alimente proaspete este
de aproximativ +5 °C sau ceva mai joasa. Pozitia „3”
indeplineste in general cerintele pentru racirea de zi cu
zi.
Temperatura din frigider este afectata nu numai de pozitia
termostatului dar si de temperatura ambianta, frecventa
de deschidere a usii si cantitatea de alimente recent pusa
in frigider, etc.
In pozitia maxima respectiv „5” - in cazul in care
este necesar (ex:valuri de caldura) - compresorul
poate functiona continuu. Aceasta nu dauneaza
aparatului.
Sfaturi pentru depozitare
Cind plasati diferite feluri de alimente, luati in considerare
urmatoarea asezare din figura:
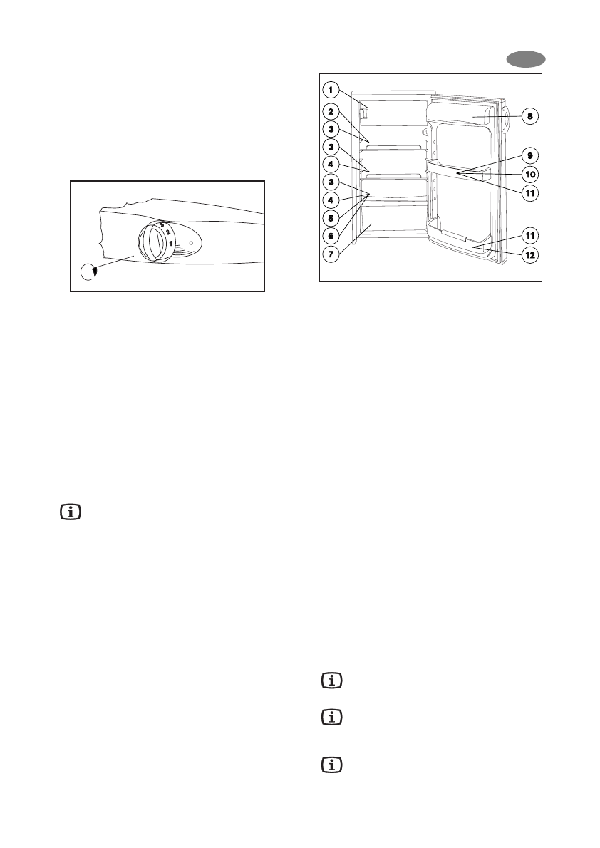
1.
Depozitare alimente congelate, compar timent
pentru cuburi de gheata si inghetata. Congelare
alimente proaspete.
2.
Mincare deja gatita.
3.
Mincare in vase.
4.
Cani.
5.
Lapte, produse lactate.
6.
Carne proaspata, cirnati, etc.
7.
Fructe, legume, salate.
8.
Brinza, unt.
9.
Oua.
10. Iaur t, smintina.
11. Sticle mici, bauturi racoritoare.
12. Sticle mari, bauturi.
Timpul de depozitare si temperatura
Har ta atasata la sfirsitul instructiunilor de folosire va da
informatii despre timpul de depozitare in congelator si in
compar timentul de alimente proaspete.
Timpul de depozitare nu poate fi determinat cu exactitate
in avans, acesta depinzind de gradul de prospetime si de
modul de transpor t a alimentelor. De aceea aceasta har ta
este doar informativa.
Este bine sa depozitati alimentele congelate numai daca
aceasta nu a apucat sa se dezghete deloc pina la
depozitarea in congelator.
Modul de folosire al compar timentului
congelator de patru stele
In functie de pozitia termostatului temperaturi de
-18 °C sau chiar mai scazute pot fi obtinute.
La aceasta temperatura pot fi depozitate pentru o
anumita perioada de timp alimente congelate disponibile
pe piata. Este de asemena potrivit pentru congelarea si
pastrarea unor mici cantitati de produse proaspete.
In 24 de ore pot fi congelate aproximativ 2 kg de
alimente.
Impachetati alimentele in folii de plastic sau de aluminiu,
raciti-l in compar timentul de alimente proaspete si apoi
depozitati-le in congelator.
Va recomandam sa scrieti pe pachet data la care a fost
depozitat respectivul aliment.
Puteti pune urmatorul produs pentru a fi congelat daca
cel pus anterior este deja bine congelat.
Modul de folosire al compartimentului de
alimente proaspete
Pentru o racire adecvata este necesara o
circulatie a aerului in interior. De aceea va rugam
sa nu acoperiti suprafata rafturilor cu hir tie, tavi, etc.
Nu puneti mincare fierbinte in frigider.
Aduceti-o intii la temperatura camerei. In
acest fel poate fi evitata formarea in exces de
gheata.
Mincarurile pot prinde miros una de la
cealalta. De aceea este esential sa puneti












