Холодильник Electrolux ENX 4596 AOX - инструкция пользователя по применению, эксплуатации и установке на русском языке. Мы надеемся, она поможет вам решить возникшие у вас вопросы при эксплуатации техники.
Если остались вопросы, задайте их в комментариях после инструкции.
"Загружаем инструкцию", означает, что нужно подождать пока файл загрузится и можно будет его читать онлайн. Некоторые инструкции очень большие и время их появления зависит от вашей скорости интернета.

.Ł
Ł
Ł
,Ł
Ł
Ł Ł ‐
.
•
Ł
,Ł
Ł
Ł
‐
Ł
Ł
Ł Ł
Ł ,Ł ‐
Ł Ł
Ł
Ł
Ł
Ł ‐
Ł
Ł
Ł(
,Ł
‐
).
•
Ł
Ł
Ł
Ł
Ł
Ł
Ł
‐
Ł
.
•
,Ł Ł Ł
Ł
Ł
Ł ‐
Ł
Ł
.
•
Ł
Ł
Ł Ł
Ł(
Ł
Ł
Ł
Ł
).
1.6Ł
•
Ł
Ł Ł
Ł ‐
Ł
Ł
Ł
‐
Ł
Ł
Ł
.
•
Ł
Ł
Ł
Ł
Ł
Ł
‐
Ł
Ł
Ł Ł
‐
Ł
Ł
Ł ‐
.
1.ŘŁ
Ł
Ł
Ł
Ł
,Ł Ł
‐
Ł
Ł
Ł ‐
Ł Ł
Ł
,Ł
Ł ‐
Ł Ł
Ł
Ł
.Ł
‐
Ł
Ł
Ł
Ł Ł
Ł
Ł Ł
‐
.Ł
Ł
Ł
‐
Ł
Ł
śŁ
Ł
Ł Ł
Ł Ł
‐
Ł
Ł
‐
,Ł Ł
Ł
Ł
‐
Ł Ł
Ł
Ł
.Ł
Ł
Ł
‐
Ł
,Ł
,Ł
Ł ‐
.Ł
,Ł
‐
Ł
Ł
Ł
,Ł
Ł
Ł Ł,
Ł
Ł
Ł
‐
.
2.Ł
Ł
Ł
Ł
Ł
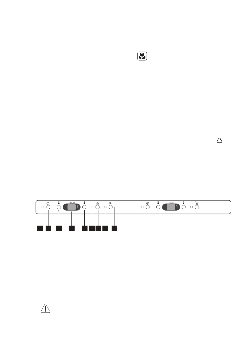
1
2
3
4
5
6 7
8
9
1.
Ł
2.
Ł
/
3.
Ł
Ł(
)
4.
Ł
5.
Ł
Ł(
)
6.
Ł
Ř.
Ł
Ł
ř.
ŁAЯрелкŁВоббцб
Ś.
ŁAЯрелкŁВоббцб
Ł
Ł
,Ł
Ł
Ł
.
2.1Ł
Ł
Ł
Ł
Ł Ł
.
Ł
Ł
/
.
Ł
.
2.2Ł
Ł
Ł
Ł
,Ł
‐
Ł
Ł
Ł
/
Ł
Ł ,Ł
Ł Ł
Ł
‐
Ł
Ł Ł
Ł
.
У
47












