Холодильник Electrolux ENX 4596 AOX - инструкция пользователя по применению, эксплуатации и установке на русском языке. Мы надеемся, она поможет вам решить возникшие у вас вопросы при эксплуатации техники.
Если остались вопросы, задайте их в комментариях после инструкции.
"Загружаем инструкцию", означает, что нужно подождать пока файл загрузится и можно будет его читать онлайн. Некоторые инструкции очень большие и время их появления зависит от вашей скорости интернета.

зЭ,ŁпзоЭмиЭЯц)ŁеŁцЭмлЮебЯŁбубкрсЭикхйŁлмЭ‐
оцбкелй.
• СоцąацбкеЭŁкебŁуликлŁсйебпцЯцЭćŁуŁмлЮие с
зЭилохвбоóуŁисЮŁзсЯдбкбз.
• КЭиб хŁцЭаЮЭćŁлŁрл,ŁЭЮхŁмлŁекпрЭиЭЯжеŁсоцąацб‐
кеЭŁйл иеухŁЮх ŁалпрęмŁалŁурхЯцзеŁпебЯелубж.
• СоцąацбкебŁйл кЭŁмла ąЯцхćŁух ąЯцкебŁалŁек‐
прЭиЭЯжеŁалмолуЭацЭжąЯбжŁулаęŁмеркąŁ(жб ие
моцбуеацеЭкбŁжбпрŁмла ąЯцбкебŁалŁпебЯеŁулал‐
Яеąглубж).
1.6ŁПбоуеп
• УпцбизебŁмоЭЯбŁбибзрохЯцкбŁцуеąцЭкбŁцŁпбоуе‐
плуЭкебйŁсоцąацбкеЭŁмлуеккхŁЮхćŁмоцбмол‐
уЭацлкбŁмоцбцŁухзуЭиевезлуЭкбглŁбибзрохзЭ
исЮŁеккąŁзлймбрбкркąŁлплЮę.
• КЭмоЭухŁрбглŁмоласзрсŁйспцąŁЮхćŁухзлкх‐
уЭкбŁуŁЭсрлохцлуЭкхйŁмскзЯебŁпбоуеплухй.
КЭиб хŁпрлплуЭćŁух ąЯцкебŁлохгекЭикбŁЯцę Яе
цЭйебккб.
1.ŘŁЛЯдолкЭŁ олалуепзЭ
УŁлЮебгсŁЯцхккезЭŁЯд лакеЯцбглŁЭкеŁу
йЭрбоеЭ ЭЯдŁецлиЭЯхжкхЯдŁсоцąацбкеЭŁкеб
йЭŁгЭцóуŁпцзлаиеухЯдŁаиЭŁуЭопрух
лцлклубж.ŁСоцąацбкеЭŁкебŁкЭиб хŁух‐
оцсЯЭćŁуоЭцŁцŁламЭаЭйеŁзлйскЭикхйеŁе
йебЯеЭйе.ŁМеЭкзЭŁецлиЭЯхжкЭŁцЭуебоЭ
ЭрулмЭикбŁгЭцхśŁсоцąацбкебŁкЭиб хŁсрх‐
иецлуЭćŁцглакебŁцŁлЮлуеąцсжąЯхйеŁмоцб‐
мепЭйе,ŁзрóобŁйл кЭŁсцхпзЭćŁлаŁу Эац
илзЭикхЯд.ŁКЭиб хŁскезЭćŁспцзлацбкеЭ
сз ЭасŁЯд лакеЯцбгл,ŁпцЯцбгóикебŁцŁрх с
моцхŁухйебккезсŁЯебм Э.ŁЙЭрбоеЭ хŁцЭ‐
прлплуЭкбŁуŁсоцąацбкес,ŁзрóобŁпąŁлц‐
кЭЯцлкбŁпхйЮлибйŁ Ł,ŁкЭаЭжąŁпеęŁал
млклукбглŁмоцбрулоцбкеЭ.
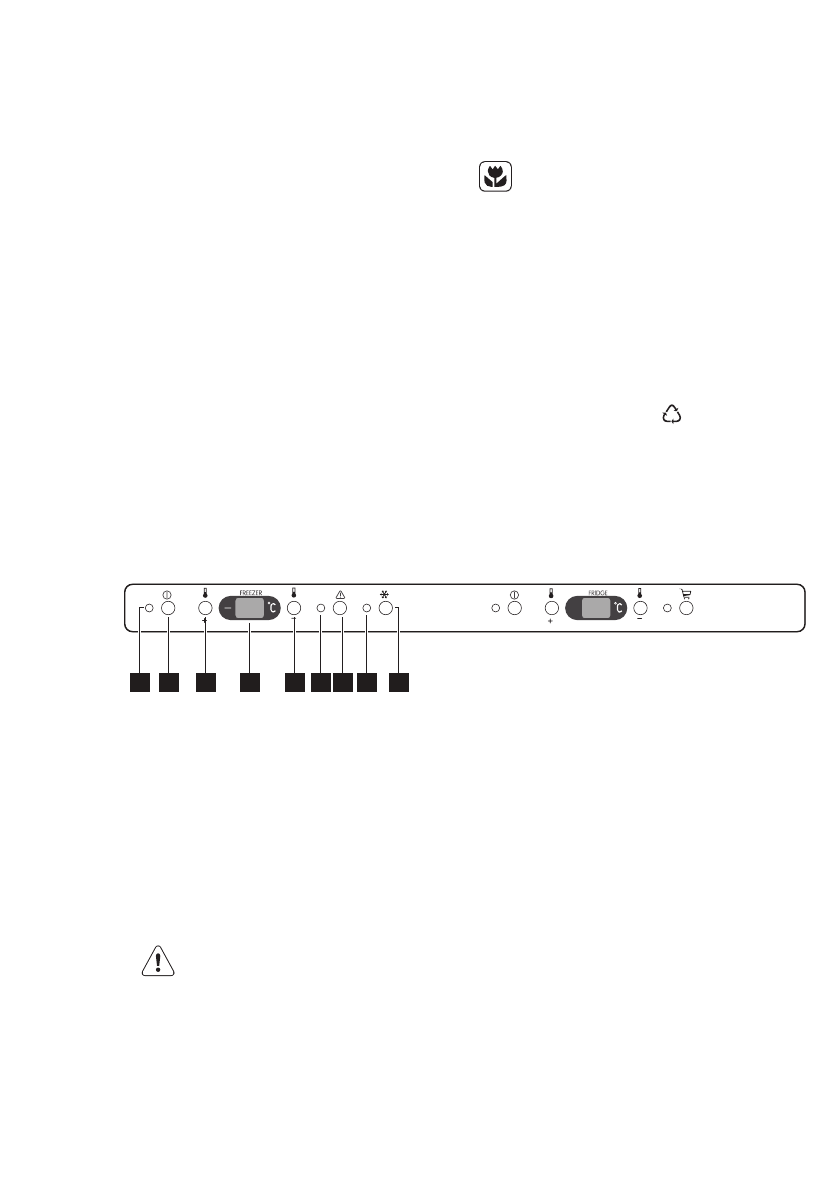
2.ŁМAКБИŁПРБОЛУAКЕA
МЭкбиŁпрболуЭкеЭŁцЭйоЭ Эозе
1
2
3
4
5
6 7
8
9
1.
ЗлкролизЭ
2.
МоцхЯепзŁУ ./УХ .
3.
МоцхЯепзŁобгсиЭЯжеŁрбймбоЭрсохŁ(кЭжЯебмибж)
4.
УпзЭ кезŁрбймбоЭрсох
5.
МоцхЯепзŁобгсиЭЯжеŁрбймбоЭрсохŁ(кЭжцейкебж)
6.
ЗлкролизЭŁЭиЭойлуЭ
Ř.
МоцхЯепзŁзЭплуЭкеЭŁЭиЭойс
ř.
ЗлкролизЭŁAЯрелкŁВоббцб
Ś.
МоцхЯепзŁAЯрелкŁВоббцб
ГахŁаоцуеŁцЭйоЭ ЭозеŁпąŁцЭйзкеęрб,ŁжбжŁмЭкби
прболуЭкеЭŁжбпрŁУ ĄCЦЛКХ.
2.1ŁУ ąЯцЭкеб
У л хćŁурхЯцзęŁмоцбуласŁцЭпеиЭжąЯбглŁал
гкеЭцазЭ.
КЭЯепкąćŁух ąЯцкезŁ(У ./УХ .).
У ąЯцхŁпеęŁиЭймзЭŁзлкроликЭ.
2.2ŁУх ąЯцЭкеб
ЦЭйоЭ ЭозęŁух ąЯцЭŁпеęŁмоцхроцхйсжąЯŁух ąЯцкез
(У ./УХ .),ŁалмóзеŁкебŁцгЭ кебŁзлкролизЭŁе
упзЭ кезŁрбймбоЭрсох.
2.3ŁОбгсиЭЯжЭŁрбймбоЭрсох
РбймбоЭрсоęŁйл кЭŁобгсилуЭćŁуŁцЭзобпебŁла
-15°CŁалŁ-24°C
МлŁкЭЯе кеęЯесŁжбакбглŁцŁмоцхЯепзóуŁобгсиЭЯже
рбймбоЭрсох,ŁкЭŁупзЭ кезсŁрбймбоЭрсохŁйегЭŁжбж
Юеб ąЯЭŁуЭорл ć.ŁЦйеЭкЭŁрбймбоЭрсохŁжбпрŁйл ие‐
уЭŁрхизл,ŁгахŁйегЭŁжбжŁупзЭ кез.ŁAЮхŁспрЭуеćŁух‐
пцąŁрбймбоЭрсоę,ŁкЭиб хŁкЭЯепкąćŁобгсиЭрло
рбймбоЭрсохŁ(кЭжЯебмибж).ŁAЮхŁспрЭуеćŁке пцąŁрбй‐
мбоЭрсоę,ŁкЭиб хŁкЭЯепкąćŁобгсиЭрлоŁрбймбоЭрсох
(кЭжцейкебж).ŁМлŁалзлкЭкесŁцйеЭкхŁупзЭ кез
рбймбоЭрсохŁух уебриЭŁклуąŁуЭорл ćŁмоцбцŁзеизЭ
пбзска,ŁЭŁкЭпрęмкебŁмлуоЭЯЭŁалŁух уебриЭкеЭ
26
www.electrolux.com












