Холодильник Electrolux EAL 6141 WOX - инструкция пользователя по применению, эксплуатации и установке на русском языке. Мы надеемся, она поможет вам решить возникшие у вас вопросы при эксплуатации техники.
Если остались вопросы, задайте их в комментариях после инструкции.
"Загружаем инструкцию", означает, что нужно подождать пока файл загрузится и можно будет его читать онлайн. Некоторые инструкции очень большие и время их появления зависит от вашей скорости интернета.

47
СРПСКИ
СВАКОДНЕВНА УПОТРЕБА
КОНТРОЛА ТЕМПЕРАТУРЕ
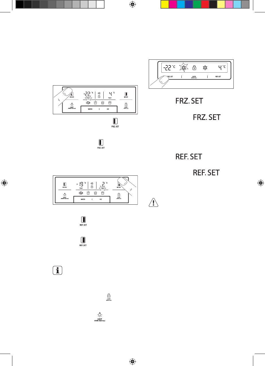
Кад се уређај укључи први пут, режим
температуре се подеси на Средњи.
МОДЕЛ САДОЗАТОРОМ
Одељак замрзивача
За подешавање
температуре, притисните
дугме
док се жељена вредност не појави.
За функцију бржег замрзавања,
држите притиснуто
дугме док се
супер диода не укључи. Да бисте
зауставили ову функцију, само
притисните ово дугме још једном.
Одељак фрижидера
За подешавање температуре,
притисните
дугме док се жељена
вредност не појави. За функцију
бржег расхлађивања, држите
притиснуто
дугме док се супер
диода
не укључи. Да бисте
зауставили ову функцију, само
притисните ово дугме још једном.
Индикатор темпшературе
конвертује функцију
(Fahreпheit-Celsius)
Подразумевано подешавање
је Celsius. Притисните дугме
за закључавање да бисте
ушли у закључани режим
рада. У закључаном режиму,
притисните
и WA
-
TER дугме у исто време 10
секунди да бисте променили
температурну скалу.
МОДЕЛ БЕЗ ДОЗАТОРА
Одељак замрзивача
За подешавање температуре,
притисните
дугме док
се жељена температура не појави.
За функцију бржег замрзавања,
држите притиснуто
дугме
док се супер диода не укључи. Да
бисте зауставили ову функцију, само
притисн ите ово дугме још једном.
Одељак фрижидера
За подешавање температуре,
притисните
дугме док
се жељена температура не појави.
За функцију бржег расхлађивања,
држите притиснуто
дугме
док се супер диода не укључи. Да
бисте зауставили ову функцију, само
притисните ово дугме још једном.
ПАЖЊА
Храна у фрижидеру може
се замрзнути уколико је
температура просторије у којој
се фрижидер налази нижа од
5°C.
РЕЖИМ РАДА СА ВИСОКОМ
ТЕМПЕРАТУРОМ
МОДЕЛ СА ДОЗАТОРОМ
Повећање температуре у одељку
замрзивача или фрижидера показује
се помоћу:
•
треперења иконе за аларм
(сигнални звук се не оглашава)
•
електронски систем приказује
максималну температуру која је
достигнута унутар одељака
EAL6xxxXOX_PT-UK(3).indd 47
6/8/2015 1:43:30 PM
Содержание
- 21 СВЕДЕНИЯ ПО ТЕХНИКЕ БЕЗОПАСНОСТИ
- 22 ИНСТРУКЦИИ ПО ТЕХНИКЕ БЕЗОПАСНОСТИ
- 23 Эксплуатация
- 24 ОПИСАНИЕ ИЗДЕЛИЯ; МОДЕЛЬ С ДОЗАТОРОМ
- 25 МОДЕЛЬ БЕЗ ДОЗАТОРА
- 26 ПАНЕЛЬ УПРАВЛЕНИЯ
- 28 ПЕРЕД ПЕРВЫМ ИСПОЛЬЗОВАНИЕМ; МОНТАЖ ЛИНИИ ПОДАЧИ
- 29 ЕЖЕДНЕВНОЕ ИСПОЛЬЗОВАНИЕ; КОНТРОЛЬ ТЕМПЕРАТУРЫ; РЕЖИМ ОПОВЕЩЕНИЯ О
- 31 РЕЖИМЫ; ЗОНА «МЭДЖИК КУЛ»; ДОЗАТОР; АВТОМАТИЧЕСКИЙ
- 32 ПОЛЕЗНЫЕ СОВЕТЫ; ПОЛЕЗНЫЕ СОВЕТЫ ПО
- 33 УХОД И ОЧИСТКА; ОЧИСТКА ВНУТРЕННИХ
- 36 ТЕМПЕРАТУРА
- 37 ДОПОЛНИТЕЛЬНЫЕ; ОХРАНА ОКРУЖАЮЩЕЙ СРЕДЫ












