Холодильник Electrolux EAL 6141 WOX - инструкция пользователя по применению, эксплуатации и установке на русском языке. Мы надеемся, она поможет вам решить возникшие у вас вопросы при эксплуатации техники.
Если остались вопросы, задайте их в комментариях после инструкции.
"Загружаем инструкцию", означает, что нужно подождать пока файл загрузится и можно будет его читать онлайн. Некоторые инструкции очень большие и время их появления зависит от вашей скорости интернета.

119
SVENSKA
DAGLIG ANVÄNDNING
JUSTERING AV TEMPERA
-
TUREN
När produkten ansluts första gången är
temperaturläget inställt på Mellan.
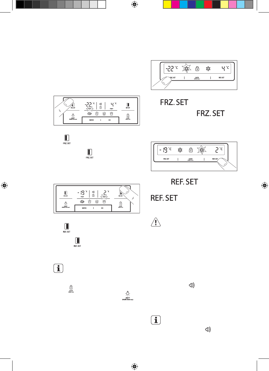
DISPENSERMODELL
Frysdel
För temperaturinställning, tryck på knap
-
pen
tills önskat värde visas.
För snabbfrysningsfunktionen håller
du in knappen
tills superlysdioden
tänds. Om du vill stänga av den här
funktionen trycker du bara på knappen
igen.
Kyldel
För temperaturinställning, tryck på knap
-
pen
tills önskat värde visas.
För snabbkylningsfunktionen håller du in
knappen
tills superlysdioden tänds.
Om du vill stänga av den här funktionen
trycker du bara på knappen igen.
Omvandlingsfunktion av tem-
peraturindikator (Fahrenheit-
Celsius)
Celsius är standardin
-
ställning. Tryck på låsknappen
för att aktivera låst läge. I det
låsta läget trycker du på
och
WATER samtidigt i 10 sekunder
för att byta temperaturskala.
MODELL UTAN DISPENSER
Frysdel
För temperaturinställning, tryck på knap
-
pen
tills önskad temperatur
visas. För snabbfrysningsfunktionen
håller du in knappen
tills
superlysdioden tänds. Om du vill stänga
av den här funktionen trycker du bara på
knappen igen.
Kyldel
För temperaturinställning, tryck på
knappen
tills önskad
temperatur visas. För snabbkylnings
-
funktionen håller du in knappen
tills superlysdioden tänds.
Om du vill stänga av den här funktionen
trycker du bara på knappen igen.
FÖRSIKTIGHET
Matvaror i kylen kan bli frysta om
den omgivande temperaturen är
under 5 °C.
HÖGT TEMPERATURLÄGE
DISPENSERMODELL
En temperaturökning i frys- eller ky
-
ldelen indikeras av:
•
larmsymbolen blinkar (signalen
låter inte)
•
det elektroniska systemet visar den
högst nådda temperaturen i produk
-
ten
Även om innertemperaturen
återställs till normal nivå fortsät
-
ter larmsymbolen att blinka
och displayindikeringen visar den
högst nådda temperaturen.
EAL6xxxXOX_PT-UK(3).indd 119
6/8/2015 1:43:44 PM
Содержание
- 21 СВЕДЕНИЯ ПО ТЕХНИКЕ БЕЗОПАСНОСТИ
- 22 ИНСТРУКЦИИ ПО ТЕХНИКЕ БЕЗОПАСНОСТИ
- 23 Эксплуатация
- 24 ОПИСАНИЕ ИЗДЕЛИЯ; МОДЕЛЬ С ДОЗАТОРОМ
- 25 МОДЕЛЬ БЕЗ ДОЗАТОРА
- 26 ПАНЕЛЬ УПРАВЛЕНИЯ
- 28 ПЕРЕД ПЕРВЫМ ИСПОЛЬЗОВАНИЕМ; МОНТАЖ ЛИНИИ ПОДАЧИ
- 29 ЕЖЕДНЕВНОЕ ИСПОЛЬЗОВАНИЕ; КОНТРОЛЬ ТЕМПЕРАТУРЫ; РЕЖИМ ОПОВЕЩЕНИЯ О
- 31 РЕЖИМЫ; ЗОНА «МЭДЖИК КУЛ»; ДОЗАТОР; АВТОМАТИЧЕСКИЙ
- 32 ПОЛЕЗНЫЕ СОВЕТЫ; ПОЛЕЗНЫЕ СОВЕТЫ ПО
- 33 УХОД И ОЧИСТКА; ОЧИСТКА ВНУТРЕННИХ
- 36 ТЕМПЕРАТУРА
- 37 ДОПОЛНИТЕЛЬНЫЕ; ОХРАНА ОКРУЖАЮЩЕЙ СРЕДЫ












