Холодильник Bomann KG 183 - инструкция пользователя по применению, эксплуатации и установке на русском языке. Мы надеемся, она поможет вам решить возникшие у вас вопросы при эксплуатации техники.
Если остались вопросы, задайте их в комментариях после инструкции.
"Загружаем инструкцию", означает, что нужно подождать пока файл загрузится и можно будет его читать онлайн. Некоторые инструкции очень большие и время их появления зависит от вашей скорости интернета.

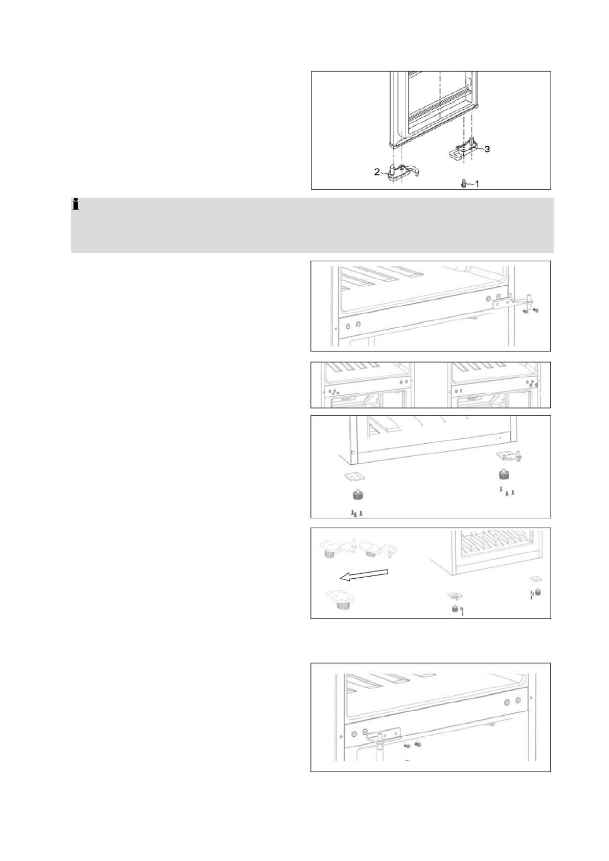
6.
Ослабьте винт (1) и выньте ограничитель
хода двери (2) холодильной камеры.
Зафиксируйте входящий в комплект
ограничитель хода двери (3) с помощью
винта (1). Положите дверь на мягкую
подложку
для
предотвращения
повреждений.
ИНФОРМАЦИЯ:
Сохраните заглушку В и ограничитель хода двери (2) на случай, если снова захотите перевесить
двери.
7.
Демонтируйте со среднего шарнира двери
винты с фланцем. Осторожно движением
вверх выньте дверь морозильной камеры
из нижнего шарнира двери и тоже
положите на мягкую подложку.
8.
Переместите заглушки на расположенные
на противоположной стороне отверстия.
9.
Слегка наклоните прибор назад и
зафиксируйте его в этом положении.
Открутите ножки и выньте крепление ножки
и шарнир двери, ослабив винты.
10.
Выкрутите стержень шарнира и вставьте с
другой стороны шарнира. Установите
шарнир
и
крепление
ножки
на
противоположной
стороне
и
снова
прикрутите ножки.
Снова установите прибор прямо. Установите дверь морозильной камеры на нижний стержень
шарнира и зафиксируйте в предусмотренном положении.
11.
Поверните средний шарнир двери на 180°
и
перенесите
на
противоположную
сторону. Вставьте стержень шарнира в
отверстие в двери морозильной камеры и
затяните винты шарнира.
Установите дверь холодильной камеры на средний стержень шарнира и зафиксируйте в
предусмотренном положении.
8