Холодильник Бирюса Б-139 - инструкция пользователя по применению, эксплуатации и установке на русском языке. Мы надеемся, она поможет вам решить возникшие у вас вопросы при эксплуатации техники.
Если остались вопросы, задайте их в комментариях после инструкции.
"Загружаем инструкцию", означает, что нужно подождать пока файл загрузится и можно будет его читать онлайн. Некоторые инструкции очень большие и время их появления зависит от вашей скорости интернета.

10
звуковой сигнал
об открытой
двери
Функция
«Память
температуры»
для
морозильного
отделения
Выключение
холодильника
Звуковой сигнал длительностью 5 секунд указывает на открытую свыше 30 секунд дверь
отделения свежих пищевых продуктов. Если дверь не закрыта, то сигнал повторяется через
минуту в течение 10 минут.
При отключении электроэнергии или падении (ниже 176 В)/повышении (более 254 В) напряжения
в сети происходит отключение блока управления и срабатывание аварийного звукового сигнала.
При включении электроэнергии морозильное отделение начинает работать в установленном
ранее режиме.
В случае, если на момент включения температура превышает 0 °С, активируется функция «Память
температуры». На дисплее отображается значение самой высокой температуры, дисплей и
индикатор «
» мигают, через каждый час подается звуковой сигнал, дительностью 20 секунд.
По значению температуры, отображаемой на дисплее, вы можете принять решение о состоянии
и дальнейшем использовании продуктов, находящихся в морозильном отделении.
При нажатии на любую из кнопок морозильного отделения индикация режима «Память
температуры» отключается и на дисплее отображается реальная температура.
Для выключения камер нажмите и удерживайте 5 секунд кнопку «Сеть» соответственно для
каждой камеры. Для полного отключения холодильника от сети необходимо вынуть вилку из
розетки.
МОДЕлИ хОлОДИлЬНИкОВ С элЕктРОННыМ БлОкОМ
(система охлаждения «No frost»)
Бирюса 143, 144
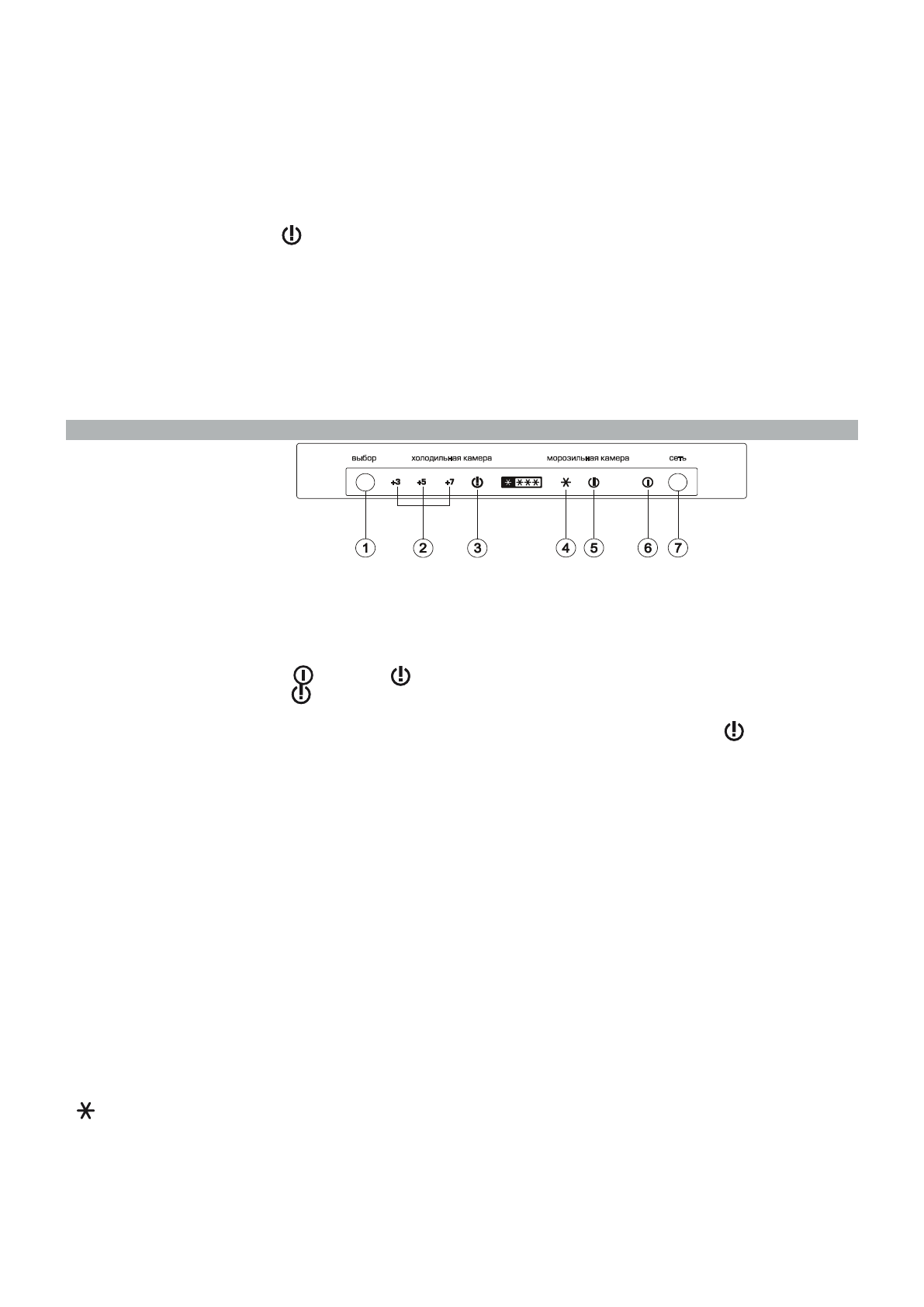
1- кнопка «выбор» смены режимов работы; 2 - индикаторы режима «Хранение» отделения для хранения свежих пищевых продуктов;
3 - индикатор (красного цвета) «Внимание» отделения для хранения свежих пищевых продуктов; 4 - индикатор (желтого цвета) режима
«Замораживание»; 5 - индикатор (красного цвета) «Внимание» отделения; 6 - индикатор работы холодильника (зеленого цвета);
7 - кнопка «сеть» вкл./выкл. холодильника.
Вид панели
управления
холодильников
Включение
холодильника
установка
температурного
режима
кнопка
«сеть»
кнопка
«выбор»
Индикаторы
«+3», «+5», «+7»
Индикатор
«
»
Вставьте вилку сетевого шнура в розетку. После чего в холодильнике автоматически
устанавливается оптимальный температурный режим работы для хранения продуктов, загораются
индикаторы «
» и «+5», «
» в отделении для хранения свежих пищевых продуктов.
Индикатор «
» в отделении для хранения замороженных пищевых продуктов загорится
через 120 минут, если установленная температура не будет достигнута.
При достижении установленных температур в отделениях индикаторы «
» гаснут.
Управление режимами работы холодильника осуществляется с помощью кнопки «Выбор».
В зависимости от условий эксплуатации потребитель сам устанавливает необходимый режим
работы холодильника.
Нажатием на эту кнопку можно выключить или включить холодильник. Нажмите и удерживайте
кнопку не менее 5 секунд. Пятисекундная задержка включения предусмотрена для защиты от
включения детьми или случайного нажатия.
Данная кнопка позволяет выбрать подходящий режим. При выборе температурного режима
подается звуковой сигнал. Температурный режим считается установленным, если кнопка не
нажималась повторно в течение 10 секунд.
Светящийся индикатор указывает на выбор режима «Хранение»:
• «+3» - соответствует режиму наибольшего холода;
• «+5» - нормальный режим;
• «+7» - режим наименьшего холода.
Светящийся индикатор указывает на выбранный режим «Замораживание». Режим
«Замораживание» включается потребителем за 24 часа до загрузки свежих продуктов. Первые 24
часа после включения режима - индикатор мигает, далее - горит постоянно. Через 48 часов, после
включения режима, индикатор гаснет и режим «Замораживание» автоматически отключается.
Температура возвращается к ранее установленному режиму хранения. При необходимости
режим «Замораживание» можно отключить вручную нажатием на кнопку «Выбор».
Характеристики
Остались вопросы?Не нашли свой ответ в руководстве или возникли другие проблемы? Задайте свой вопрос в форме ниже с подробным описанием вашей ситуации, чтобы другие люди и специалисты смогли дать на него ответ. Если вы знаете как решить проблему другого человека, пожалуйста, подскажите ему :)