Фотопринтеры Panasonic SV-AP10EN - инструкция пользователя по применению, эксплуатации и установке на русском языке. Мы надеемся, она поможет вам решить возникшие у вас вопросы при эксплуатации техники.
Если остались вопросы, задайте их в комментариях после инструкции.
"Загружаем инструкцию", означает, что нужно подождать пока файл загрузится и можно будет его читать онлайн. Некоторые инструкции очень большие и время их появления зависит от вашей скорости интернета.

7
Элементы управления и компоненты
̈
̈̈
̈
̈
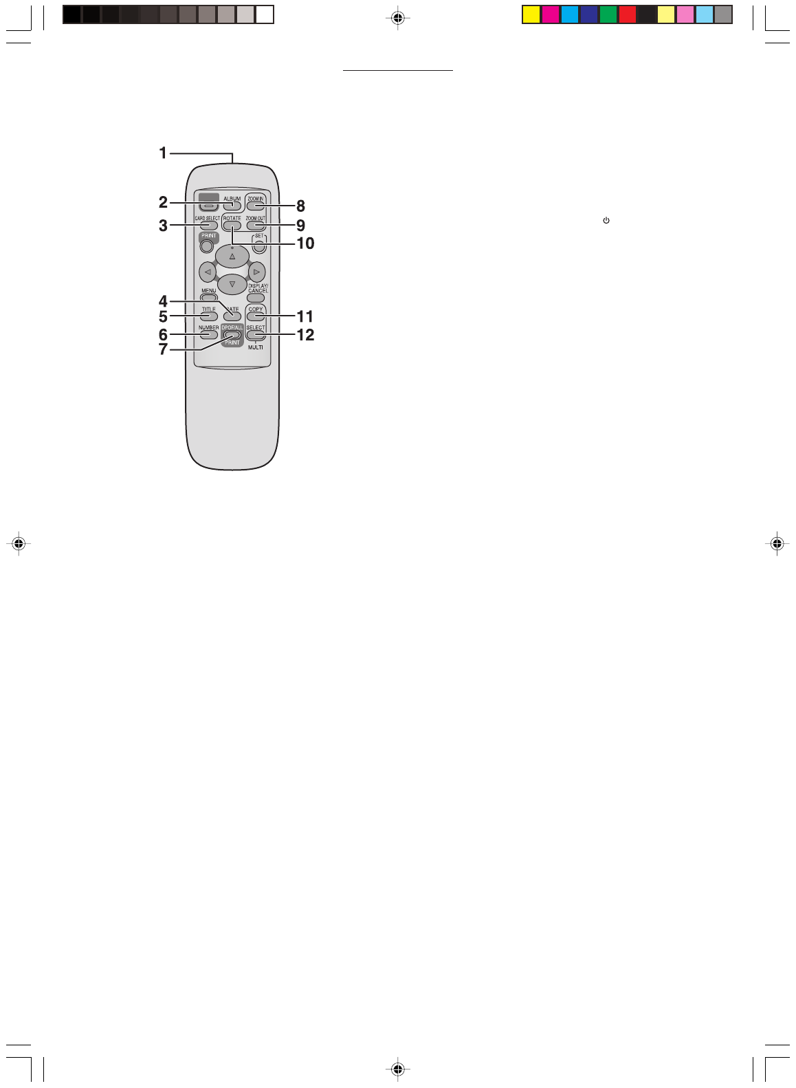
Пульт дистанционного управления
11. Кнопка MULTI (COPY)
Нажмите эту кнопку для выбора числа экранных
кадров одного и того же изображения.
12. Кнопка MULTI (SELECT)
Нажмите эту кнопку для выбора числа экранных
кадров различных изображений.
Следующие кнопки имеют те же функции, что и
кнопки на фотопринтере. (Используется то же число
кнопок, что и на основном блоке).
2
Кнопка выключателя питания [ ],
3
Кнопка PRINT,
4
Кнопка MENU,
5
Кнопки
235∞
235∞
235∞
235∞
235∞
и
6
Кнопка
DISPLAY/CANCEL
Подготовка к работе
1.
ИК передатчик пульта дистанционного управ-
ления
2. Кнопка ALBUM
Нажмите эту кнопку для переключения экрана меж-
ду индикацией альбома (Album) и индикацией индек-
са (Index).
3. Кнопка CARD SELECT
Нажмите эту кнопку для переключения входа между
картой памяти SD MultimediaCard и картой персо-
нального компьютера.
4. Кнопка DATE
Нажмите эту кнопку для добавления даты, когда
было сделано изображение, в правый нижний угол.
5. Кнопка TITLE
Нажмите эту кнопку для отображения экрана меню
[FUNCTION].
6. Кнопка NUMBER
Нажмите эту кнопку для выбора количества распе-
чатываемых копий.
7.
Кнопка (DPOF)/PRINT (ALL)
Кнопка PRINT (DPOF):
Нажмите эту кнопку для печати изображений, отме-
ченных с помощью функции DPOF.
Кнопка PRINT (ALL):
Печатает все изображения, когда в карте нет изоб-
ражений, отмеченных с помощью функции DPOF.
8. Кнопка ZOOM IN
Нажмите эту кнопку для увеличения изображения и
символов.
9. Кнопка ZOOM OUT
Нажмите эту кнопку для уменьшения изображения и
символов.
10. Кнопка ROTATE
Нажмите эту кнопку для вращения изображения и
символов.
Содержание
- 2 Информация для Вашей безопасности
- 3 Важная информация; Параграф 2. Использование третьей стороной
- 5 Содержание
- 7 Элементы управления и компоненты; Пульт дистанционного управления; Кнопка CARD SELECT
- 8 При нажатии на выемку
- 9 Установка; Подсоединения
- 11 Установка картриджа; картридж в отсек
- 12 Индикация номера
- 13 Распечатка изображений с карты
- 14 Нажмите; Замятие бумаги в принтере
- 17 Распечатка с карты DPOF
- 20 Просмотр слайдов; • Для просмотра изображений, отмеченных с помощью
- 23 для перехода к экрану MENU.
- 25 Вставка и печать фона
- 26 вызовите одноэкранный режим.
- 27 Вставка символов и печать
- 28 Печать в оттенке сепия; и вызовите одноэкранный режим.
- 29 Установить число копий
- 30 Настройка качества печати изображения; Установка идентификатора владельца
- 31 Совместимые компьютеры:
- 32 Установка драйвера принтера; Для Windows XP
- 35 Примечание для установки
- 36 Выберите папку, где находится драйвер принтера.
- 39 Выберите папку, где расположен драйвер принтера.; Примечания по установке драйвера принтера; Удаление драйвера принтера
- 41 Выберите число секций.
- 43 Предостережения при эксплуатации; Дисплей состояния
- 44 Выключите питание и удалите кассету с бумагой.; Примечания по картриджам; Меры предосторожности
- 45 До, во время и после выполнения печати; Разрыв вдоль перфорационных отверстий.; Примечания по картам памяти
- 47 Вопросы и ответы; О функциях
- 49 7: Печатаемые данные остаются в буфере принте-; Для уничтожения информации о печатаемых заданиях
- 50 Сообщения об ошибках
- 52 Технические характеристики












