Фотопринтеры Panasonic SV-AP10EN - инструкция пользователя по применению, эксплуатации и установке на русском языке. Мы надеемся, она поможет вам решить возникшие у вас вопросы при эксплуатации техники.
Если остались вопросы, задайте их в комментариях после инструкции.
"Загружаем инструкцию", означает, что нужно подождать пока файл загрузится и можно будет его читать онлайн. Некоторые инструкции очень большие и время их появления зависит от вашей скорости интернета.

19
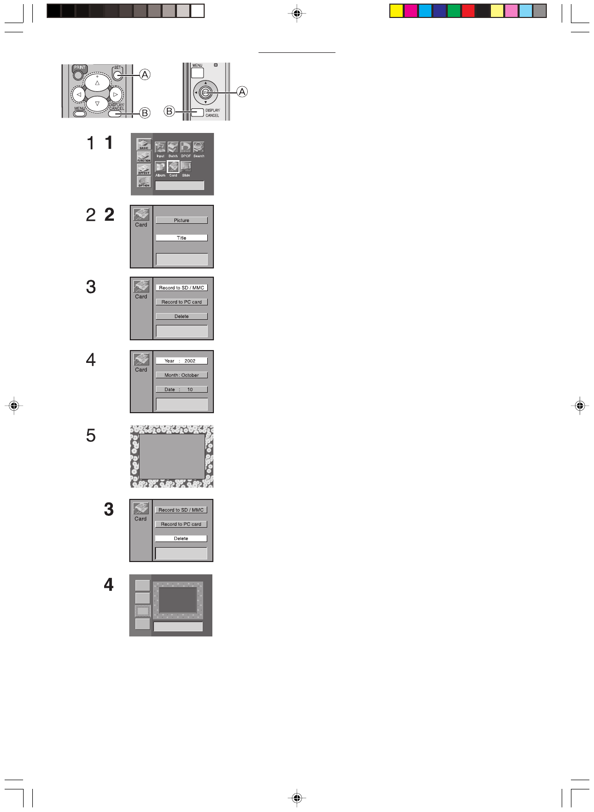
Запись титров на карты
Фотопринтер может создавать титры посредством функций с
титрами (TITLE) (иллюстрации/символы). Созданные титры по-
том могут быть записаны на карты.
• При установке карты памяти SD разблокируйте карту.
• Выделите созданный титр.
1
Выберите [CARD] в пункте [Basic] на экране MENU и на-
жмите кнопку
A
.
2
Выберите [TITLE] и нажмите кнопку
A
.
3
Выберите [Record to SD/MMC] или [Record to PC card] и
нажмите кнопку
A
.
4
Введите дату создания и нажмите кнопку
A
.
Кнопки
2
2
2
2
2 3
3
3
3
3
: Изменение даты
Кнопки
∞ 5
∞ 5
∞ 5
∞ 5
∞ 5
: Перемещение курсора
5
Подтвердите изображение и нажмите кнопку
A
.
• Нажмите кнопку
B
для выхода из этого режима перед на-
жатием кнопки
A
.
• Не извлекайте карту при записи титров на карту.
• Титры, записанные на карты, можно использовать в данном
устройстве.
• На карты можно записать только титры. Изображения, со-
держащие как титры, так и образы, не могут быть записаны.
Стирание титров с карт
Титры, записанные на карты, могут быть стерты.
•
При установке карты памяти SD разблокируйте карту.
1
Выберите [CARD] в пункте [Basic] на экране MENU и на-
жмите кнопку
A
.
2
Выберите [TITLE] и нажмите кнопку
A
.
3
Выберите [DELETE] и нажмите кнопку
A
.
4
Выберите изображение и нажмите кнопку
A
.
• Нажмите кнопку
B
для выхода из этого режима перед на-
жатием кнопки
A
.
• Титры будут удалены без возможности их восставноления.
• Титры на приобретаемой отдельно MultiMediaCard не могут
быть стерты.
• Титры, записанные и защищенные на цифровой видео каме-
ре нельзя удалить.
Основные функции
Содержание
- 2 Информация для Вашей безопасности
- 3 Важная информация; Параграф 2. Использование третьей стороной
- 5 Содержание
- 7 Элементы управления и компоненты; Пульт дистанционного управления; Кнопка CARD SELECT
- 8 При нажатии на выемку
- 9 Установка; Подсоединения
- 11 Установка картриджа; картридж в отсек
- 12 Индикация номера
- 13 Распечатка изображений с карты
- 14 Нажмите; Замятие бумаги в принтере
- 17 Распечатка с карты DPOF
- 20 Просмотр слайдов; • Для просмотра изображений, отмеченных с помощью
- 23 для перехода к экрану MENU.
- 25 Вставка и печать фона
- 26 вызовите одноэкранный режим.
- 27 Вставка символов и печать
- 28 Печать в оттенке сепия; и вызовите одноэкранный режим.
- 29 Установить число копий
- 30 Настройка качества печати изображения; Установка идентификатора владельца
- 31 Совместимые компьютеры:
- 32 Установка драйвера принтера; Для Windows XP
- 35 Примечание для установки
- 36 Выберите папку, где находится драйвер принтера.
- 39 Выберите папку, где расположен драйвер принтера.; Примечания по установке драйвера принтера; Удаление драйвера принтера
- 41 Выберите число секций.
- 43 Предостережения при эксплуатации; Дисплей состояния
- 44 Выключите питание и удалите кассету с бумагой.; Примечания по картриджам; Меры предосторожности
- 45 До, во время и после выполнения печати; Разрыв вдоль перфорационных отверстий.; Примечания по картам памяти
- 47 Вопросы и ответы; О функциях
- 49 7: Печатаемые данные остаются в буфере принте-; Для уничтожения информации о печатаемых заданиях
- 50 Сообщения об ошибках
- 52 Технические характеристики












