Фотоаппараты Olympus E-1 - инструкция пользователя по применению, эксплуатации и установке на русском языке. Мы надеемся, она поможет вам решить возникшие у вас вопросы при эксплуатации техники.
Если остались вопросы, задайте их в комментариях после инструкции.
"Загружаем инструкцию", означает, что нужно подождать пока файл загрузится и можно будет его читать онлайн. Некоторые инструкции очень большие и время их появления зависит от вашей скорости интернета.

33
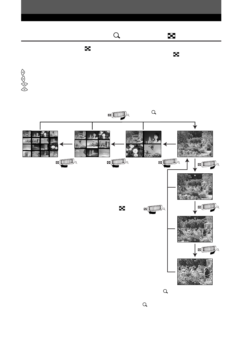
èÓÒÏÓÚ
à̉ÂÍÒÌ˚È ÔÓÒÏÓÚ
:
èË Í‡Ê‰ÓÏ ÔÓ‚ÓÓÚ ÓÒÌÓ‚ÌÓ„Ó ‰ËÒ͇ ÂÊËÏÓ‚ ‚ ÒÚÓÓÌÛ ÍÓ΢ÂÒÚ‚Ó
͇‰Ó‚ ̇ Üä-ÏÓÌËÚÓ ËÁÏÂÌflÂÚÒfl ‚ ÒÎÂ‰Û˛˘ÂÈ ÔÓÒΉӂ‡ÚÂθÌÓÒÚË: 4, 9, 16.
: èÂÂıÓ‰ Í Ô‰˚‰Û˘ÂÏÛ Í‡‰Û
: èÂÂıÓ‰ Í ÒÎÂ‰Û˛˘ÂÏÛ Í‡‰Û
: èÓ͇Á ÒÂËË Ë̉ÂÍÒÌ˚ı ÒÌËÏÍÓ‚, ÒÚÓfl˘Ëı Ô‰ ‚ÂıÌËÏ Î‚˚Ï ÒÌËÏÍÓÏ
: èÓ͇Á ÒÂËË Ë̉ÂÍÒÌ˚ı ÒÌËÏÍÓ‚, ÒÎÂ‰Û˛˘Ëı Á‡ ÌËÊÌËÏ Ô‡‚˚Ï ÒÌËÏÍÓÏ
èÓÒÏÓÚ Ò Û‚Â΢ÂÌËÂÏ
:
èË Í‡Ê‰ÓÏ ÔÓ‚ÓÓÚ ÓÒÌÓ‚ÌÓ„Ó ‰ËÒ͇
ÂÊËÏÓ‚ ‚ ÒÚÓÓÌÛ ‡ÁÏ ÒÌËÏ͇
Û‚Â΢˂‡ÂÚÒfl ÔÓÒΉӂ‡ÚÂθÌÓ ‚ 2, 3 Ë 4 ‡Á‡.
●
ÖÒÎË Ì‡ÊËχڸ ÒÚÂÎÓ˜Ì˚ Í·‚Ë¯Ë ‚Ó ‚ÂÏfl ÔÓÒÏÓÚ‡
Ò Û‚Â΢ÂÌËÂÏ, ÒÌËÏÓÍ ·Û‰ÂÚ ÒÏ¢‡Ú¸Òfl ‚ ̇ԇ‚ÎÂÌËË,
ÒÓÓÚ‚ÂÚÒÚ‚Û˛˘ÂÏ Ì‡Ê‡ÚÓÈ Í·‚˯Â.
1
2
3
4
1
2
3
4
5
6
7
8
9
10
10
11
11
12
12
13
13
14
14
15
15
16
16
1
4
7
2
5
8
9
3
6
2 x
2 x
1
3 x
3 x
4 x
4 x
èÓÒÏÓÚ Ò Û‚Â΢ÂÌËÂÏ / Ë̉ÂÍÒÌ˚È
èÓ‚ÓÓÚ ÓÒÌÓ‚ÌÓ„Ó ‰ËÒ͇ ÂÊËÏÓ‚ ‚
ÒÚÓÓÌÛ ‚ÓÁ‚‡˘‡ÂÚ ÙÓÚÓ͇ÏÂÛ ‚
ÂÊËÏ ÔÓ͇‰Ó‚Ó„Ó ÔÓÒÏÓÚ‡.
èÓ‚ÓÓÚ ÓÒÌÓ‚ÌÓ„Ó ‰ËÒ͇
ÂÊËÏÓ‚ ‚ ÒÚÓÓÌÛ
‚ÓÁ‚‡˘‡ÂÚ ÙÓÚÓ͇ÏÂÛ ‚
ÂÊËÏ ÔÓ͇‰Ó‚Ó„Ó ÔÓÒÏÓÚ‡.
