Электропилы Витязь ПЦ-2100 18017006 - инструкция пользователя по применению, эксплуатации и установке на русском языке. Мы надеемся, она поможет вам решить возникшие у вас вопросы при эксплуатации техники.
Если остались вопросы, задайте их в комментариях после инструкции.
"Загружаем инструкцию", означает, что нужно подождать пока файл загрузится и можно будет его читать онлайн. Некоторые инструкции очень большие и время их появления зависит от вашей скорости интернета.
Загружаем инструкцию
 
26
ПЦ-2100
  
  
Содержание
- 2 ВИТЯЗЬ
 - 6 Отбросы с круговой траекторией: Отбросы вперед и назад:; возникающие
 - 7 Электропила; не; предназначена для точной распиловки, ее основное; З. ЗНАКИ И СИМВОЛЫ НА КОРПУСЕ ЭЛЕКТРОПИЛЫ
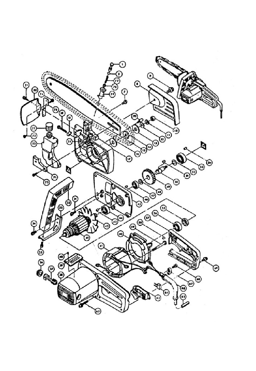
 - 8 УСТРОЙСТВО ЭЛЕКТРОПИЛЫ; Внешний вид инструмента может незначительно
 - 11 может
 - 13 без
 - 16 Рис.8
 - 17 Рис.9; Используйте только; Рис.10; продолжением
 - 18 Рис.12; Опилки становятся порошкообразными,
 - 20 рис.16; Направляющая шины должна всегда быть прямоугольной.
 - 23 таблица 2
 - 24 Инструкции, указанные в данном руководстве, не
 - 27 Гарантийный талон; Гарантийные условия
 - 28 тийном талоне, Покупатель был ознакомлен:; спорте товара, проверен продавцом в моем присутствии и мной лично.
 

 
 
 
 
 
 
 
 
 
 
 
 
 
 
 
 
 
 
 
 
 
 
 
 
 
 
 
 
 
 
 
