Духовые шкафы Zanussi ZOU 35762 XK - инструкция пользователя по применению, эксплуатации и установке на русском языке. Мы надеемся, она поможет вам решить возникшие у вас вопросы при эксплуатации техники.
Если остались вопросы, задайте их в комментариях после инструкции.
"Загружаем инструкцию", означает, что нужно подождать пока файл загрузится и можно будет его читать онлайн. Некоторые инструкции очень большие и время их появления зависит от вашей скорости интернета.

Догляд та чистка
ПОПЕРЕДЖЕННЯ!
.
є
.
Примітки щодо чищення
•
’
.
•
.
•
.
.
.
•
.
•
.
’
.
•
є
,
.
.
Прилади з алюмінію або іржостійкої
сталі
.
’
.
,
,
.
,
,
.
Чищення ущільнювача дверцят
•
.
.
.
.
•
,
є
.
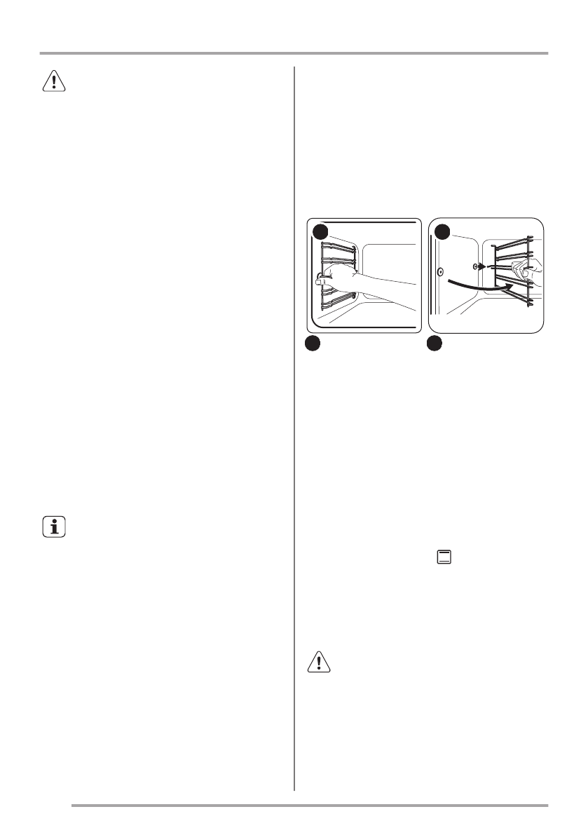
Виймання опор поличок
,
.
Л
.
Л
2
1
М
.
М
.
йчищення водою
є
.
ЛИ
300
,
.
МИ
.
НИ
90°C.
ОИ
30
.
ПИ
,
.
РИ
,
.
ПОПЕРЕДЖЕННЯ!
,
,
. І
є
.
72
www.zanussi.com
Содержание
- 28 Общие правила техники безопасности
- 29 Указания по безопасности; Установка
- 31 Описание изделия; Общий обзор; Решетка
- 32 Перед первым использованием; Первая очистка; Ежедневное использование; Утапливаемые ручки
- 35 Функции часов; Таблица функций часов; Установка функций часов; Использование дополнительных принадлежностей
- 36 Использование вертела
- 37 Дополнительные функции; Вентилятор охлаждения; Полезные советы; Общая информация
- 38 Пироги
- 40 Хлеб и пицца
- 41 Открытые пироги
- 42 Мясо
- 43 Рыба; Малый гриль
- 44 Вертел
- 45 Овощи
- 46 Фрукты; Уход и очистка
- 48 Замена лампы
- 49 Поиск и устранение неисправностей; Что делатьЖ еслиИИИ
- 50 Встраивание под столешницу
- 52 Технические данные; Энергоэффективность; Справочный листок технических данных согласно Яп РПЗРРЙМКЛО; Экономия электроэнергии; Общие рекомендации
- 53 Сохранение продуктов теплыми; ОХРАНА ОКРУЖАЮЩЕЙ СРЕДЫ












