Духовые шкафы Viking EVSOF7301SS - инструкция пользователя по применению, эксплуатации и установке на русском языке. Мы надеемся, она поможет вам решить возникшие у вас вопросы при эксплуатации техники.
Если остались вопросы, задайте их в комментариях после инструкции.
"Загружаем инструкцию", означает, что нужно подождать пока файл загрузится и можно будет его читать онлайн. Некоторые инструкции очень большие и время их появления зависит от вашей скорости интернета.

7
OVEN FUNCTION
OFF
BAKE
UPPER OVEN
SET
OVEN
CLEAN
OVEN
OVEN
LIGHT
LOW
BROIL
PROOF
MED
BROIL
HI
BROIL
CONV
.
BROIL
OVEN TEMPERA
T
URE
OFF
400
CONV
.
ROAST
200
300
500
BROIL
OVEN FUNCTION
LOWER OVEN
OVEN TEMPERA
T
URE
OFF
400
200
300
500
BROIL
CLEAN
MIN/SEC
TIMER
BAKE
TIME
ST
ART
TIME
TRU
CONVEC
CONV
.
BAKE
PROBE
OFF
BAKE
LOW
BROIL
SELF
CLEAN
MED
BROIL
HI
BROIL
CONV
.
BROIL
CONV
.
ROAST
TRU
CONVEC
CONV
.
BAKE
250
350
450
250
350
450
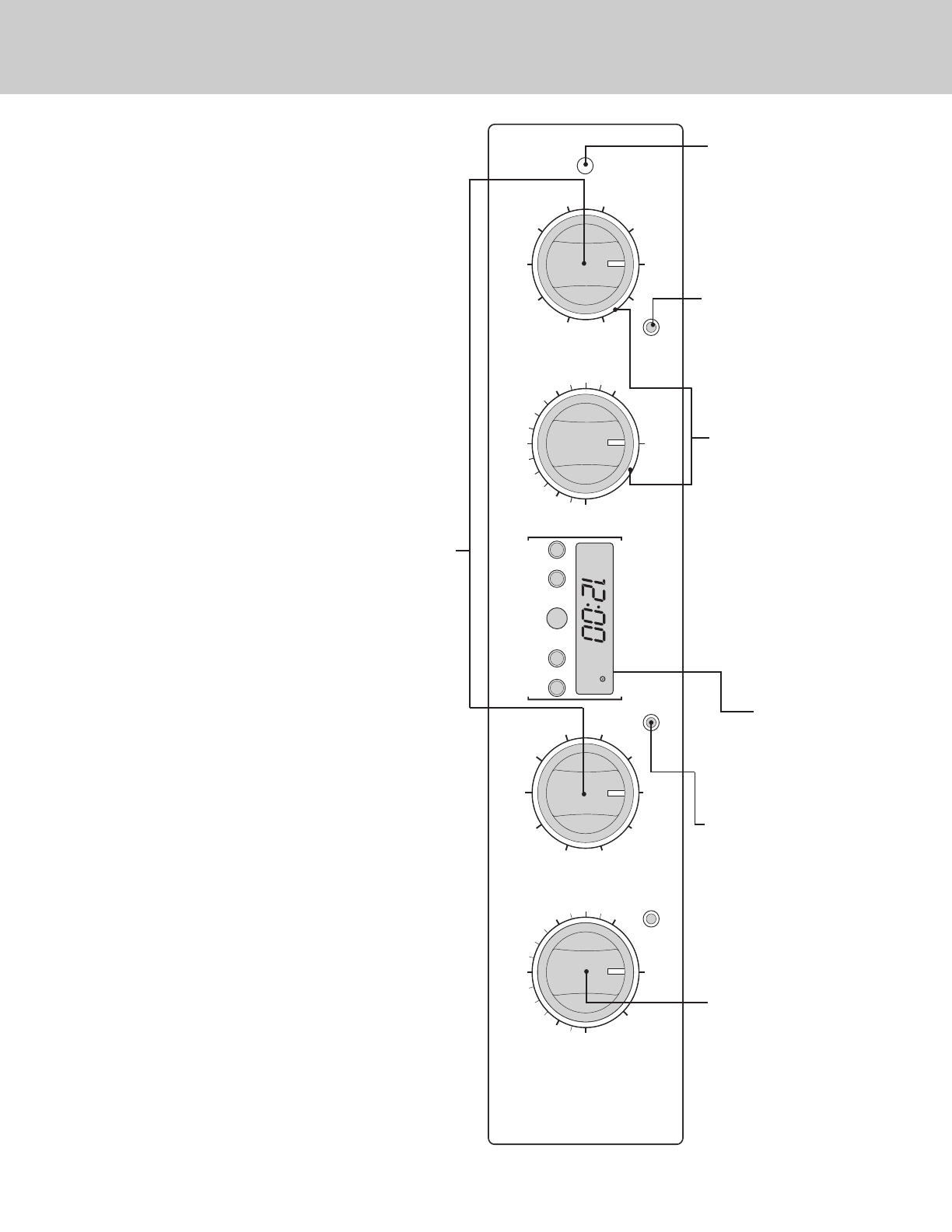
Off/On
Indicator Light
Te
mperature Control
Each oven has a separate temperature
control dial. The controls can be set at any
temperature from 200˚ F (93.3° C) to 550˚ F
(287.8° C). There are separate settings for
broiling and self-cleaning.
Oven Function Selector
Bake
Conventional, single rack baking (breads, cakes,
cookies, pastry
, pies, entrees, vegetables)
Convection Bake
Multi-rack baking for heavier or frozen foods
(e.g., 4 frozen pies, pizzas, entrees, vegetables)
T
ruConvec
TM
Multi-rack baking for breads, cakes, cookies (up
to 6 racks of cookies
at once)
High-Broil
Dark meats at 1” thickness or less where rare
or medium doneness is desired
Medium-Broil
White meats such as chicken or meats
greater than 1” thick that would be
over-browned in high broil
Low-Broil
Delicate broiling such as meringue
Proof
Designed for allowing yeast dough to rise to a
temperture between 85
0
F (29
0
C)
and 100
0
F (38
0
C)
Convection Broil
Thicker meats, faster than regular broil & with less
smoke generation
Convection Roast
Whole turkeys, whole chickens, hams, etc.
Self-Clean
A
pyrolytic self-cleaning cycle where the oven
reaches elevated
temperatures in order to burn
off soils and deposits
Electronic T
iming Center
The Electronic T
iming Center
is used to program and
control all timing functions.
IMPORT
ANT–The T
ime-of-day
must be set before any other
program can be used.
Interior
Oven Light
Switch
SET
Self-Clean
Indicator Light
Oven On Indicator Light
(ring around knob)
Light on Oven T
emperature
knob is activated when
temperature selection is made.
Light on Oven Function knob
is activated when oven function
selection is made. Both lighted
rings will pulse when in the
preheat mode.
Oven Control Panel
(French Door Models)
Характеристики
Остались вопросы?Не нашли свой ответ в руководстве или возникли другие проблемы? Задайте свой вопрос в форме ниже с подробным описанием вашей ситуации, чтобы другие люди и специалисты смогли дать на него ответ. Если вы знаете как решить проблему другого человека, пожалуйста, подскажите ему :)