Духовые шкафы Samsung NV75R5641RS/WT - инструкция пользователя по применению, эксплуатации и установке на русском языке. Мы надеемся, она поможет вам решить возникшие у вас вопросы при эксплуатации техники.
Если остались вопросы, задайте их в комментариях после инструкции.
"Загружаем инструкцию", означает, что нужно подождать пока файл загрузится и можно будет его читать онлайн. Некоторые инструкции очень большие и время их появления зависит от вашей скорости интернета.

Русский 19
Исполь
зов
ание
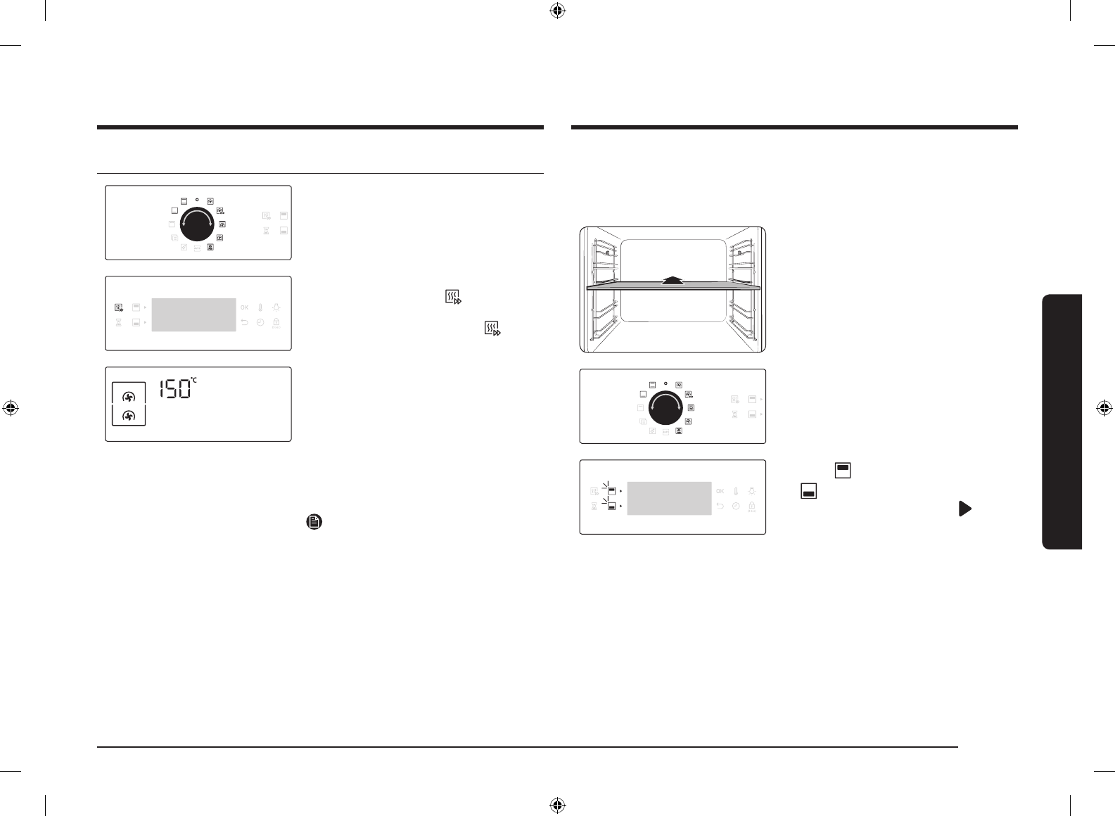
Режимы приготовления (за исключением режима гриль)
1.
С помощью переключатель режима выберите режим
приготовления.
2.
При необходимости установите параметры время
приготовления и/или температура. Подробную
информацию см. В разделе
3.
При необходимости можно быстро прогреть духовой
шкаф. Для этого нажмите кнопку
и выберите
нужное значение параметра температура. На дисплее
отображается соответствующий индикатор
.
Духовой шкаф начинает предварительный прогрев.
Предварительный прогрев завершается, когда температура
внутри духового шкафа достигает заданного значения. После
завершения предварительного прогрева воспроизводится
звуковой сигнал и индикатор перестает отображаться
на дисплее. Предварительный прогрев духового шкафа
рекомендуется выполнять во всех режимах приготовления,
кроме отдельных случаев, указанных в руководстве по
приготовлению.
ПРИМЕЧАНИЕ
В процессе приготовления можно изменить значения
параметров время приготовления и/или температура.
Режим двойного приготовления
Для разделения духового шкафа на верхнюю и нижнюю зону можно использовать разделитель, входящий в комплект
поставки. Это позволяет использовать одновременно два разных режима приготовления или только одну зону для
приготовления блюда.
1.
Установите разделитель на уровне 3, чтобы разделить
внутреннее пространство духового шкафа на две зоны.
2.
С помощью Переключатель режима выберите режим
приготовления. Для верхней зоны можно выбрать
режимы Гриль, Конвекция и Верхний нагрев + Конвекция,
а для нижней — режимы Конвекция, Нижний нагрев +
Конвекция и Нижний нагрев.
3.
Нажмите
, чтобы выбрать верхнюю зону, или нажмите
, чтобы выбрать нижнюю зону.
Для выбранной зоны отображается значок
.
4.
При необходимости установите параметры время
приготовления и/или температура. Подробную
информацию см. в разделе
NV75R5641RS_NV75R5641RB_WT_DG68-01165A-00_RU.indd 19
2/19/2019 3:50:42 PM
Содержание
- 3 Исполь; Инструкции по технике безопасности; Важные меры предосторожности; Использование руководства; В данном руководстве используются следующие обозначения:; ПРЕДУПРЕЖДЕНИЕ
- 4 укции по т
- 6 Функция автоматической экономии энергии
- 7 Уст; Установка; Комплектация; Внешний вид устройства
- 8 Подготовка к установке духового шкафа; Установка в отсек кухонной мебели; Минимальные размеры отсека
- 10 Подготовка к использованию; Начальные установки; OK
- 11 Запах нового духового шкафа; Основные функции
- 13 Универсальная дверца; Использование верхней дверцы; Полное открытие дверцы
- 14 Механический замок (только для соответствующих моделей); Демонтаж; Режим двойного приготовления; ПРИМЕЧАНИЕ
- 15 Использование; Панель управления
- 16 Общие настройки; Температура
- 17 Отсрочка завершения; ВНИМАНИЕ
- 18 Сброс параметра время приготовления
- 19 Режимы приготовления (за исключением режима гриль)
- 24 Остановка процесса приготовления; Остановка приготовления в одной из зон; Специальные функции
- 25 Автоматическое приготовление
- 26 Очистка паром
- 27 Таймер; Включение/выключение звукового сигнала; Приготовление вручную; ПРЕДУПРЕЖДЕНИЕ об акриламиде
- 28 Жарка
- 30 Замороженный полуфабрикат
- 32 Конвекция Эко
- 33 Программы режима Автоматическое приготовление
- 39 Пробные блюда; Приготовление в режиме гриль
- 40 Картофельный гратен
- 42 Жареные бараньи отбивные с травами
- 43 Обслуживание; Очистка
- 44 Боковые решетки (только для соответствующих моделей); Снятие дверцы
- 45 Замена; Лампы; Устранение неисправностей; Контрольные пункты
- 47 Информационные коды
- 48 Технические характеристики
- 49 жение; Приложение; ЭНЕРГЕТИЧЕСКАЯ ЭФФЕКТИВНОСТЬ
Характеристики
Остались вопросы?Не нашли свой ответ в руководстве или возникли другие проблемы? Задайте свой вопрос в форме ниже с подробным описанием вашей ситуации, чтобы другие люди и специалисты смогли дать на него ответ. Если вы знаете как решить проблему другого человека, пожалуйста, подскажите ему :)