Духовые шкафы Samsung NV75R5641RS/WT - инструкция пользователя по применению, эксплуатации и установке на русском языке. Мы надеемся, она поможет вам решить возникшие у вас вопросы при эксплуатации техники.
Если остались вопросы, задайте их в комментариях после инструкции.
"Загружаем инструкцию", означает, что нужно подождать пока файл загрузится и можно будет его читать онлайн. Некоторые инструкции очень большие и время их появления зависит от вашей скорости интернета.

O'zbek 25
Amallar
Avto tayyorlash
Tajribasiz oshpazlar uchun pechda jami 50 ta avtomatik tayyorlanadigan retseptlar mavjud.
Bu xususiyatdan foydalanib, vaqtingizni tejang yoki o‘rganishni tezlashtiring. Tayyorlash
vaqti va harorati tanlangan retseptga qarab rostlanadi.
1.
Rejim tanlagichini aylantirib,
ni tanlang.
2.
Qiymat shkalasini aylantirgan holda dasturni
tanlab,
OK
tugmasini bosing.
3.
Porsiya hajmini tanlash uchun qiymat
shkalasini aylantiring. Vazn miqyosi
dasturga bog‘liq.
4.
Tayyorlashni boshlash uchun
OK
tugmasini
bosing.
IZOH
•
Avtomatik pishirish dasturlarining ayrimlariga qizdirish ham kiradi. Bu holatda qizdirish
rivoji ko‘rsatiladi. Qizdirish signali berilgach, taomni pechga soling. Keyin Avtomatik
pishirishni boshlash uchun
Pishirish vaqti
tugmasini bosing.
•
Batafsil ma’lumotni shu qo‘llanmaning
Avtomatik tayyorlash dasturlari
bo‘limidan oling.
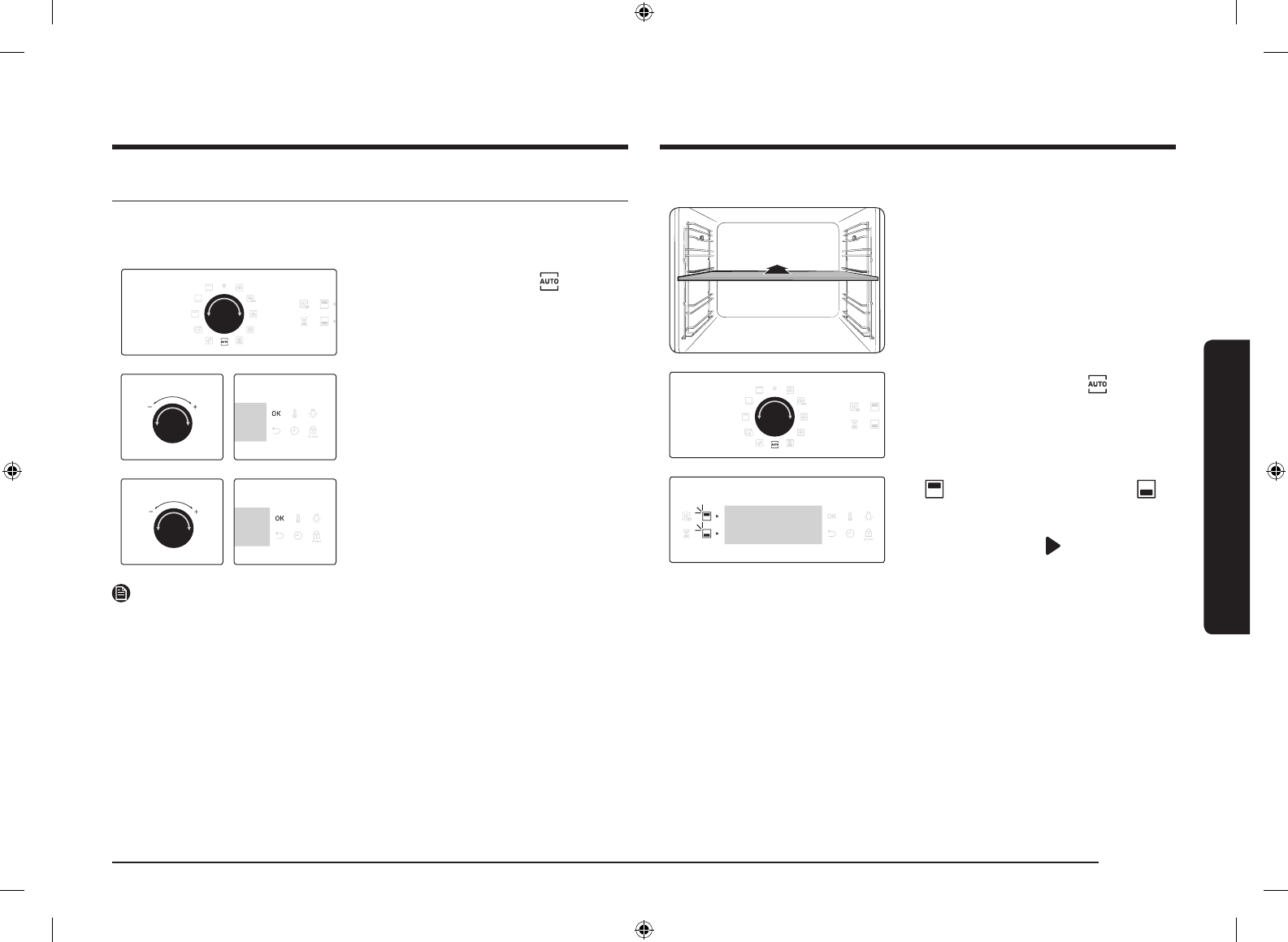
Ikkitalik tayyorlash rejimi
1.
Ikkitalik tayyorlash rejimini faollashtirish
uchun bo‘lgichni 3-qavatga kiriting.
2.
Rejim tanlagichini aylantirib,
ni tanlang.
3.
tugmasini bosib yuqori kamerani,
tugmasini bosib esa, pastki kamerani tanlash
mumkin.
Tanlangan kamerada
tasvirchasi paydo
bo‘ladi.
NV75R5641RS_NV75R5641RB_WT_DG68-01165A-00_UZ.indd 25
2/19/2019 3:54:47 PM
Содержание
- 3 Исполь; Инструкции по технике безопасности; Важные меры предосторожности; Использование руководства; В данном руководстве используются следующие обозначения:; ПРЕДУПРЕЖДЕНИЕ
- 4 укции по т
- 6 Функция автоматической экономии энергии
- 7 Уст; Установка; Комплектация; Внешний вид устройства
- 8 Подготовка к установке духового шкафа; Установка в отсек кухонной мебели; Минимальные размеры отсека
- 10 Подготовка к использованию; Начальные установки; OK
- 11 Запах нового духового шкафа; Основные функции
- 13 Универсальная дверца; Использование верхней дверцы; Полное открытие дверцы
- 14 Механический замок (только для соответствующих моделей); Демонтаж; Режим двойного приготовления; ПРИМЕЧАНИЕ
- 15 Использование; Панель управления
- 16 Общие настройки; Температура
- 17 Отсрочка завершения; ВНИМАНИЕ
- 18 Сброс параметра время приготовления
- 19 Режимы приготовления (за исключением режима гриль)
- 24 Остановка процесса приготовления; Остановка приготовления в одной из зон; Специальные функции
- 25 Автоматическое приготовление
- 26 Очистка паром
- 27 Таймер; Включение/выключение звукового сигнала; Приготовление вручную; ПРЕДУПРЕЖДЕНИЕ об акриламиде
- 28 Жарка
- 30 Замороженный полуфабрикат
- 32 Конвекция Эко
- 33 Программы режима Автоматическое приготовление
- 39 Пробные блюда; Приготовление в режиме гриль
- 40 Картофельный гратен
- 42 Жареные бараньи отбивные с травами
- 43 Обслуживание; Очистка
- 44 Боковые решетки (только для соответствующих моделей); Снятие дверцы
- 45 Замена; Лампы; Устранение неисправностей; Контрольные пункты
- 47 Информационные коды
- 48 Технические характеристики
- 49 жение; Приложение; ЭНЕРГЕТИЧЕСКАЯ ЭФФЕКТИВНОСТЬ
Характеристики
Остались вопросы?Не нашли свой ответ в руководстве или возникли другие проблемы? Задайте свой вопрос в форме ниже с подробным описанием вашей ситуации, чтобы другие люди и специалисты смогли дать на него ответ. Если вы знаете как решить проблему другого человека, пожалуйста, подскажите ему :)