Духовые шкафы Electrolux OPEB4330B - инструкция пользователя по применению, эксплуатации и установке на русском языке. Мы надеемся, она поможет вам решить возникшие у вас вопросы при эксплуатации техники.
Если остались вопросы, задайте их в комментариях после инструкции.
"Загружаем инструкцию", означает, что нужно подождать пока файл загрузится и можно будет его читать онлайн. Некоторые инструкции очень большие и время их появления зависит от вашей скорости интернета.

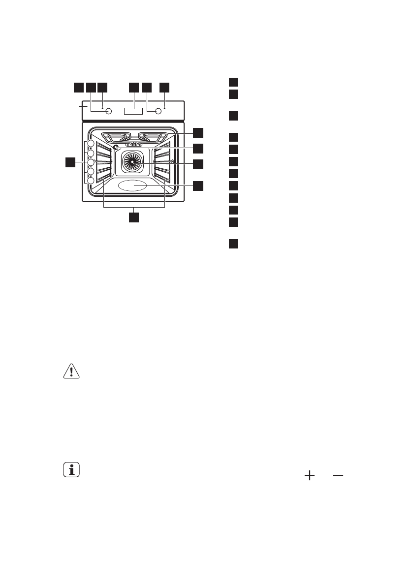
3. ОПИСАНИЕ ИЗДЕЛИЯ
3.1 Общий обзор
8
7
12
11
5
4
1
2
3
4
6
3
1
5
2
9
10
1
Панель управления
2
Ручка выбора режимов духового
шкафа
3
Световой индикатор/символ
включения
4
Электронный программатор
5
Ручка регулировки температуры
6
Индикатор/символ температуры
7
Нагревательный элемент
8
Лампа освещения
9
Вентилятор
10
Контейнер для водяной очистки
11
Съемная направляющая для
противня
12
Положение противней
3.2 Принадлежности
• Решетка
Для кухонной посуды, форм для
выпечки, жаркого.
• Глубокий противень
Для тортов и печенья.
• Противень для жарки / гриля
Для выпекания и жарки или в
качестве поддона для сбора жира.
• Телескопические направляющие
Для полок и противней.
4. ПЕРЕД ПЕРВЫМ ИСПОЛЬЗОВАНИЕМ
ВНИМАНИЕ!
См. Главы, содержащие
Сведения по технике
безопасности.
4.1 Первая чистка
Извлеките из прибора все
принадлежности и съемные
направляющие для противней.
См. Главу «Уход и
очистка».
Перед первым использованием
прибор и принадлежности следует
очистить.
Установите принадлежности и
съемные направляющие для полок
обратно на место.
4.2 Установка текущего
времени
Для того, чтобы начать пользоваться
духовым шкафом, следует задать
время суток.
При подключении прибора к
электросети, после перебоя
электроснабжения или в случае, если
текущее время не установлено,
индикация времени суток мигает
С помощью кнопок или
установите надлежащее время суток.
Примерно через пять секунд мигание
прекратится, и на дисплее
отобразится установленное время
суток.
www.electrolux.com
8
Содержание
- 3 возможностями
- 4 Общие правила техники безопасности
- 5 УКАЗАНИЯ ПО БЕЗОПАСНОСТИ; электросети
- 7 Внутреннее освещение
- 8 ПЕРЕД ПЕРВЫМ ИСПОЛЬЗОВАНИЕМ; Установка текущего; времени
- 9 ЕЖЕДНЕВНОЕ ИСПОЛЬЗОВАНИЕ; Утапливаемые ручки; прибора
- 10 Режимы духового шкафа
- 11 Таблица функций часов
- 12 Установка функций часов; ИСПОЛЬЗОВАНИЕ ДОПОЛНИТЕЛЬНЫХ; ПРИНАДЛЕЖНОСТЕЙ; дополнительных
- 13 направляющие
- 14 ДОПОЛНИТЕЛЬНЫЕ ФУНКЦИИ; Вентилятор охлаждения; термостат; Приготовление выпечных; блюд
- 15 Приготовление мяса и; рыбы; Время приготовления
- 23 Высушивание – Горячий; воздух
- 24 относительно очистки; Модели из нержавеющей; стали или алюминия; Очистка уплотнения; дверцы
- 25 Снятие направляющих; для противней, а также
- 27 Задняя лампа; ПОИСК И УСТРАНЕНИЕ НЕИСПРАВНОСТЕЙ
- 28 обращения в сервис-центр
- 29 Крепление прибора к; мебели
- 30 ТЕХНИЧЕСКИЕ ДАННЫЕ; Технические данные; ОХРАНА ОКРУЖАЮЩЕЙ СРЕДЫ
Характеристики
Остались вопросы?Не нашли свой ответ в руководстве или возникли другие проблемы? Задайте свой вопрос в форме ниже с подробным описанием вашей ситуации, чтобы другие люди и специалисты смогли дать на него ответ. Если вы знаете как решить проблему другого человека, пожалуйста, подскажите ему :)