Духовые шкафы Electrolux OPEB2500V - инструкция пользователя по применению, эксплуатации и установке на русском языке. Мы надеемся, она поможет вам решить возникшие у вас вопросы при эксплуатации техники.
Если остались вопросы, задайте их в комментариях после инструкции.
"Загружаем инструкцию", означает, что нужно подождать пока файл загрузится и можно будет его читать онлайн. Некоторые инструкции очень большие и время их появления зависит от вашей скорости интернета.

10.3 Чищення ущільнювача
дверцят
• Регулярно перевіряйте ущільнювач
дверцят. Ущільнювач дверцят
розташований навколо рами
камери духовки. Не користуйтеся
приладом у разі пошкодження
ущільнювача дверцят. Зверніться
до служби технічної підтримки.
• Перш ніж починати чищення
ущільнювача дверцят, ознайомтесь
із загальною інформацією про
чищення приладу.
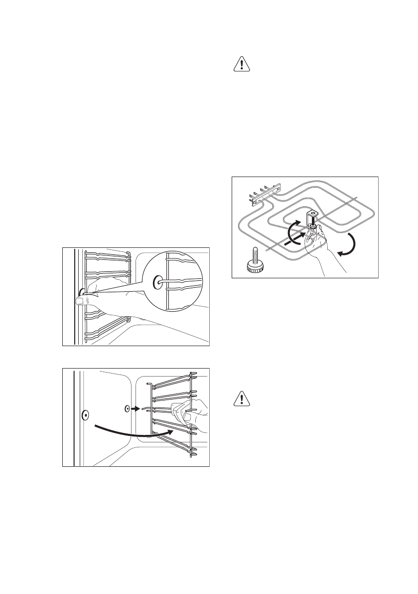
10.4 Виймання опор поличок
Щоб почистити духову шафу, вийміть
опорні рейки й .
1. Спочатку потягніть передню
частину опорної рейки від бічної
стінки.
2. Потягніть задню частину опорної
рейки від бічної стінки і зніміть її.
2
1
Для вставлення опорних рейок
виконайте наведену вище процедуру у
зворотній послідовності.
10.5 Стеля духової шафи
ПОПЕРЕДЖЕННЯ!
Вимкніть прилад, перш ніж
знімати гриль. Дайте
приладу охолонути. Існує
риск отримати опік.
Витягніть опорні рейки.
Можна зняти гриль, щоб було зручніше
чистити стелю духової шафи.
1. Відкрутіть гвинт, який утримує
нагрівальний елемент. У перший
раз використовуйте викрутку.
2. Обережно потягніть нагрівальний
елемент вниз.
3. Помийте стелю духової шафи за
допомогою м’якої ганчірки,
змоченої теплою водою з миючим
засобом, і дайте їй висохнути.
Встановіть нагрівальний елемент,
повторивши вищезазначену процедуру
у зворотній послідовності.
Встановіть опори для поличок.
ПОПЕРЕДЖЕННЯ!
Впевніться, що
нагрівальний елемент
встановлено надійно і він
не впаде вниз.
10.6 Очищення дверцят
духової шафи
Дверцята духової шафи мають три
скляні панелі.Ви можете витягти
дверцята та внутрішні скляні панелі,
якщо вони потребують очищення.
www.electrolux.com
50
Содержание
- 3 возможностями
- 4 Общие правила техники безопасности
- 5 УКАЗАНИЯ ПО БЕЗОПАСНОСТИ; электросети
- 7 Внутреннее освещение
- 8 ПЕРЕД ПЕРВЫМ ИСПОЛЬЗОВАНИЕМ; Предварительный нагрев
- 9 ЕЖЕДНЕВНОЕ ИСПОЛЬЗОВАНИЕ; Включение и выключение; прибора; Режимы духового шкафа
- 10 Аналоговый таймер; Установка текущего времени
- 11 приготовления; ИСПОЛЬЗОВАНИЕ ДОПОЛНИТЕЛЬНЫХ; ПРИНАДЛЕЖНОСТЕЙ; дополнительных
- 12 ДОПОЛНИТЕЛЬНЫЕ ФУНКЦИИ; Вентилятор охлаждения; термостат
- 13 Приготовление выпечных; блюд; Приготовление мяса и; рыбы; Время приготовления
- 14 Таблица выпечки и жарки
- 22 Высушивание – Горячий; воздух
- 23 Модели из нержавеющей; стали или алюминия; Очистка уплотнения; дверцы; Снятие направляющих; для противней, а также; Потолок духового шкафа
- 24 духового шкафа
- 26 Задняя лампа; ПОИСК И УСТРАНЕНИЕ НЕИСПРАВНОСТЕЙ
- 27 обращения в сервис-центр
- 28 Крепление прибора к; мебели
- 29 ТЕХНИЧЕСКИЕ ДАННЫЕ; Технические данные; ОХРАНА ОКРУЖАЮЩЕЙ СРЕДЫ