Духовые шкафы Electrolux OEE5C61Z - инструкция пользователя по применению, эксплуатации и установке на русском языке. Мы надеемся, она поможет вам решить возникшие у вас вопросы при эксплуатации техники.
Если остались вопросы, задайте их в комментариях после инструкции.
"Загружаем инструкцию", означает, что нужно подождать пока файл загрузится и можно будет его читать онлайн. Некоторые инструкции очень большие и время их появления зависит от вашей скорости интернета.

• В ходе приготовления термощуп
должен находиться внутри блюда, а
его штекер – включен в гнездо.
• Используйте рекомендуемые
настройки температуры внутри
продукта. См. Главу «Указания и
рекомендации».
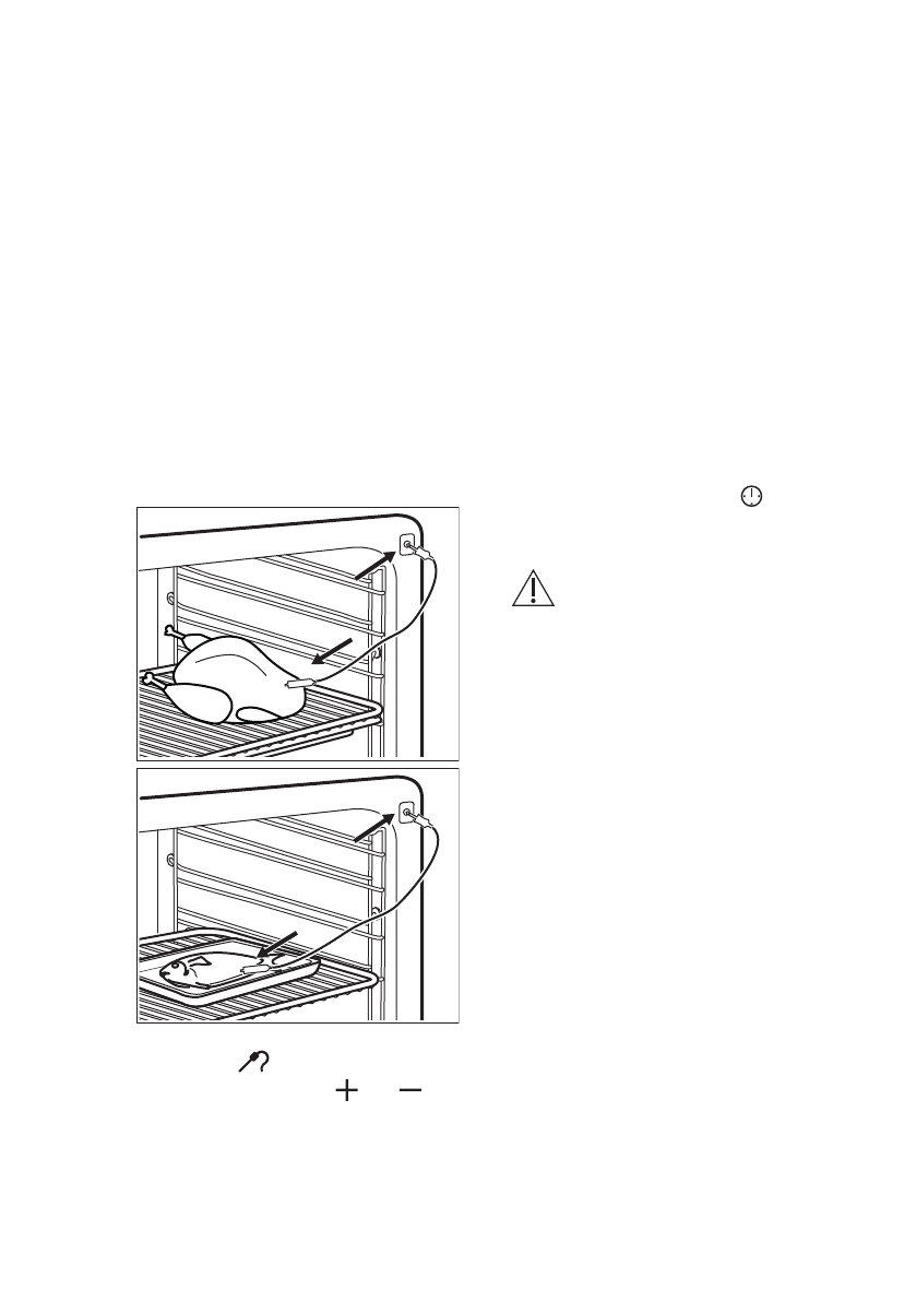
Категории блюд: мясо, птица
и рыба
1. Вставьте наконечник термощупа в
центр куска мяса или рыбы, по
возможности выбрав самую
толстую его часть. Убедитесь, что
как минимум 3/4 термощупа
находится внутри блюда.
2. Вставьте штекер термощупа в
гнездо, расположенное на
передней раме прибора.
На дисплее замигает значок датчика
термощупа
.
3. С помощью кнопок или
задайте нужную температуру
внутри продукта. Температуру
можно задавать в диапазоне от
30°C до 99°C..
4. Выберите режим нагрева и
задайте температуру духового
шкафа
При достижении блюдом заданной
температуры внутри продукта в
течение двух минут будет выдаваться
звуковой сигнал. Для отключения
звукового сигнала достаточно нажать
любую кнопку.
5. Выключите прибор.
6. Извлеките штекер термощупа из
его гнезда. Выньте блюдо из
прибора.
Если блюдо недостаточно готово,
повторите описанные выше шаги и
установите более высокую
температуру внутри продукта.
В ходе приготовления можно в любой
момент изменить значение
температуры. Нажмите на чтобы
установить температуру внутри
продукта.
ВНИМАНИЕ!
Будьте осторожны при
извлечении наконечника и
штекера термощупа.
Термощуп сильно
нагревается. Существует
опасность получения
ожогов.
Категория блюд: запеканки
1. Поместите ингредиентов в форму
для выпечки.
2. Вставьте наконечник термощупа
точно в центр запеканки. Во время
запекания термощуп не должен
менять своего положения в блюде.
Для этого зафиксируйте его при
помощи одного из более твердых
ингредиентов. Для фиксации
силиконовой ручки термощупа
воспользуйтесь краем посуды, в
которой производится запекание.
Наконечник термощупа не должен
касаться днища посуды для
запекания.
www.electrolux.com
14












