Духовые шкафы Electrolux EOM 5420 AAX - инструкция пользователя по применению, эксплуатации и установке на русском языке. Мы надеемся, она поможет вам решить возникшие у вас вопросы при эксплуатации техники.
Если остались вопросы, задайте их в комментариях после инструкции.
"Загружаем инструкцию", означает, что нужно подождать пока файл загрузится и можно будет его читать онлайн. Некоторые инструкции очень большие и время их появления зависит от вашей скорости интернета.

РУССКИЙ
61
4.
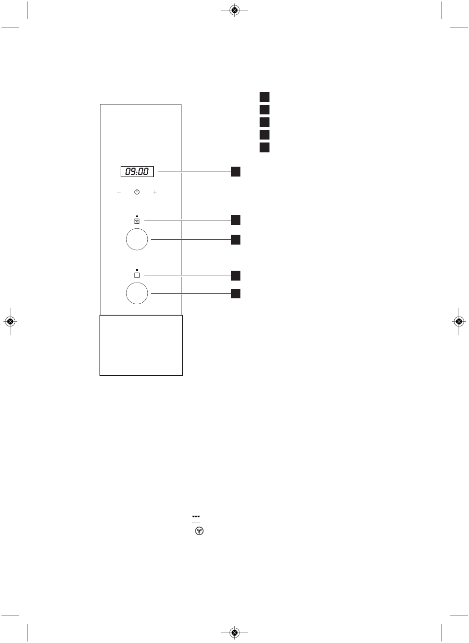
ПАНЕЛЬ УПРАВЛЕНИЯ
1
2
3
4
5
Электронный таймер
Индикатор функций
Выбор функций
Индикатор температуры
Выбор температуры
инструкции каким образом провести
вышеупомянутые операции.
• Остудить духовой шкаф открыв
дверцу, это способствует его
вентиляции и удалению неприятных
запахов.
• При холодном духовом шкафу
вымыть его внутреннюю поверхность
и все акссесуары.
Во время проведения этой операции
может выделяться дым и неприятные
запахи. Следует хорошо проветрить
кухню.
Как следствие производственных
процессов в духовом шкафу могут
присутствовать остатки смазочных
материалов или других загрязняющих
веществ. Процедура удаления:
• Извлечь весь упаковочный материал
из духового шкафа, включая
защитные пленки если таковые
имеются.
• Установить положение
, или
функцию по умолчания
, при
температуре 200ºC, на один час.
Проконсультироваться в кратком
руководстве прилагаемом к этой
5.
ПЕРЕД ПЕРВЫМ ИСПОЛЬЗОВАНИЕМ
1
5
3
4
2
3172775-001 It-Pt-Ru-Es (ELECTROLUX) 17/10/14 09:36 Página 61
Содержание
- 2 СОДЕРЖАНИЕ
- 8 ОПИСАНИЕ ИЗДЕЛИЯ
- 10 ПАНЕЛЬ УПРАВЛЕНИЯ
- 11 ЕЖЕДНЕВНОЕ ИСПОЛЬЗОВАНИЕ
- 12 Функции нагрева
- 14 Установка времени
- 16 Установка температуры
- 17 Использование
- 18 Решетка и противни; ИСПОЛЬЗОВАНИЕ АКСУССУАРОВ
- 19 Общая информация; ПОЛЕЗНЫЕ СОВЕТЫ
- 20 Кулинарные таблицы
- 23 ЧИСТКА И УХОД
- 24 Чистка внутреннего стекла
- 26 ЧТО ДЕЛАТЬ ЕСЛИ
- 27 ТЕХНИЧЕСКАЯ ИНФОРМАЦИЯ
- 28 СОВЕТЫ ПО ОХРАНЕ ОКРУЖАЮЩЕЙ СРЕДЫ












