Духовые шкафы Electrolux EOB 946 (W) (X) - инструкция пользователя по применению, эксплуатации и установке на русском языке. Мы надеемся, она поможет вам решить возникшие у вас вопросы при эксплуатации техники.
Если остались вопросы, задайте их в комментариях после инструкции.
"Загружаем инструкцию", означает, что нужно подождать пока файл загрузится и можно будет его читать онлайн. Некоторые инструкции очень большие и время их появления зависит от вашей скорости интернета.

11
Çàùèòíîå âûêëþ÷åíèå
Äëÿ òåõ ñëó÷àåâ, êîãäà ðåæèì ïðèãîòîâëåíèÿ è
ò å ì ï å ð à ò ó ð à ó ñ ò à í î â ë å í û á å ç î ã ð à í è ÷ å í è ÿ
âðåìåíè (íå óñòàíîâëåíû âðåìÿ ïðèãîòîâëåíèÿ
èëè âðåìÿ âûêëþ÷åíèÿ), ñèñòåìà ýëåêòðîííîãî
ó ï ð à â ë å í è ÿ ä ó õ î â î ã î ø ê à ô à î á î ð ó ä î â à í à
ó ñ ò ð î é ñ ò â î ì ç à ù è ò í î ã î î ò ê ë þ ÷ å í è ÿ . Â ð å ì ÿ
àâòîìàòè÷åñêîãî îòêëþ÷åíèÿ äóõîâîãî øêàôà
ç à â è ñ è ò î ò ç í à ÷ å í è ÿ ó ñ ò à í î â ë å í í î é
ò å ì ï å ð à ò ó ð û :
·
Äî 115°Ñ ÷åðåç 12 ÷àñîâ 30 ìèíóò
·
Îò 115 äî 195°Ñ ÷åðåç 8 ÷àñîâ 30 ìèíóò
·
Îò 195 äî 245°Ñ ÷åðåç 5 ÷àñîâ 30 ìèíóò
·
Îò 245 äî 270°Ñ ÷åðåç 1 ÷àñ 30 ìèíóò
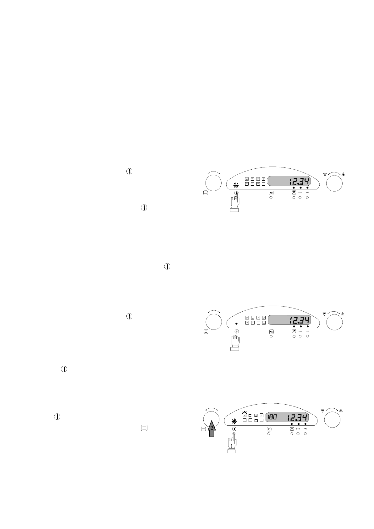
Âêëþ÷åíèå
Í à æ ì è ò å ê í î ï ê ó
( Â Ê Ë / Â Û Ê Ë ) .
Çàãîðàþòñÿ êîíòðîëüíûé èíäèêàòîð è
îñâåùåíèå äóõîâîãî øêàôà.
Ïåðåä óñòàíîâêîé ðåæèìà íåîáõîäèìî âêëþ÷èòü
ï ð è á î ð ñ ï î ì î ù ü þ ê í î ï ê è
. Æ å ë à å ì û å
óñòàíîâêè (ðåæèì ïðèãîòîâëåíèÿ, òåìïåðàòóðà,
âðåìÿ) çàäàþòñÿ â òå÷åíèå 5 ñåêóíä.
 û ì î æ å ò å â ê ë þ ÷ è ò ü ä ó õ î â î é ø ê à ô è á å ç
ó ñ ò à í î â ê è â ð å ì å í è , ò î ë ü ê î ç à ä à â ð å æ è ì
ïðèãîòîâëåíèÿ è òåìïåðàòóðó.  ýòîì ñëó÷àå â
ê î í ö å â ð å ì å í è ï ð è ã î ò î â ë å í è ÿ ï ð è á î ð í ó æ í î
âûêëþ÷èòü âðó÷íóþ ñ ïîìîùüþ êíîïêè ÂÊË/
Â Û Ê Ë .
Âûêëþ÷åíèå è êîððåêòèðîâêà
óñòàíîâîê
Í à æ ì è ò å ê í î ï ê ó
( Â Ê Ë / Â Û Ê Ë ) .
Ê î í ò ð î ë ü í û é è í ä è ê à ò î ð ï î ã à ñ í å ò è
îñâåùåíèå äóõîâîãî øêàôà âûêëþ÷èòñÿ.
×òîáû îòìåíèòü âñå óñòàíîâêè èëè âíåñòè
íåîáõîäèìûå êîððåêòèâû òàêæå íàæìèòå
êíîïêó . Ïîñëå ýòîãî ìîæíî çàäàòü íîâûå
ó ñ ò à í î â ê è .
Ôóíêöèè äóõîâîãî øêàôà
Âêëþ÷èòå äóõîâîé øêàô ñ ïîìîùüþ êíîïêè
(âêëþ÷åíèå/âûêëþ÷åíèå)
ï î â å ð í è ò å ë å â ó þ ð ó ÷ ê ó
ò à ê , ÷ ò î á û
ñèìâîë âûáðàííîãî ðåæèìà ïðèãîòîâëåíèÿ
âûñâåòèëñÿ íà äèñïëåå.
Ðåæèìû ðàáîòû äóõîâîãî øêàôà, èõ ïîðÿäîê è
õàðàòêòåðèñòèêè ïðåäñòàâëåíû è îïèñàíû íà
ñëåäóþùåé ñòðàíèöå.
Âî âðåìÿ ïðèãîòîâëåíèÿ Âû ìîæåòå èçìåíèòü
ðåæèì ðàáîòû äóõîâîãî øêàôà.












