Духовые шкафы De Dietrich DOP8360W - инструкция пользователя по применению, эксплуатации и установке на русском языке. Мы надеемся, она поможет вам решить возникшие у вас вопросы при эксплуатации техники.
Если остались вопросы, задайте их в комментариях после инструкции.
"Загружаем инструкцию", означает, что нужно подождать пока файл загрузится и можно будет его читать онлайн. Некоторые инструкции очень большие и время их появления зависит от вашей скорости интернета.

5
•
2
SETTINGS
SETTING THE CLOCK (fig. A)
When switching on, the display flashes
at 12:00.
Adjust the hour by turning the knob, then
press to confirm.
If there is a power cut, the clock flashes.
CHANGING THE CLOCK (fig. B)
Press the
button for a few seconds
until the clock flashes. Adjust the clock
by turning the knob and then press to
confirm.
MINUTE MINDER (fig. C)
This function can only be used when the
oven is off.
Press .
00:00 flashes. Set the minute minder
by turning the knob and then press to
confirm. The timer starts.
Once the time has lapsed, there is a
sound signal. To stop it, press any key.
NB: You can modify or cancel the minute
minder at any time.
To cancel, return to the timer’s menu and
set to 00:00.
If you do not confirm, it will be saved
automatically after a few seconds.
CONTROL LOCKING Child safety
(fig. D)
Press and at the same time until
the symbol appears on the screen.
Control locking is accessible during
cooking or when the oven has stopped.
N.B.:
only the button remains active.
To unlock the keypad, press and
together until the symbol disappears
off the screen.
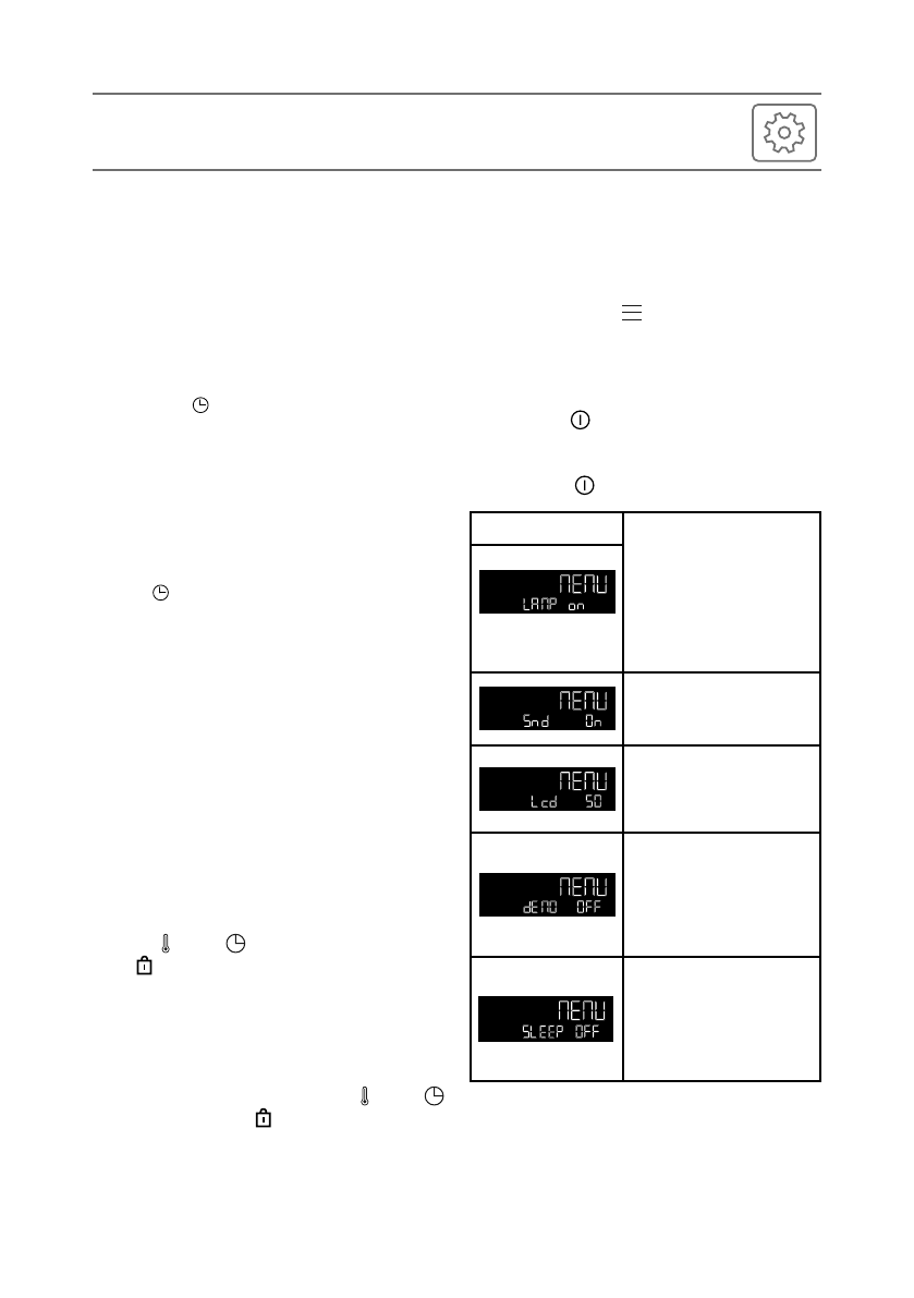
SETTINGS MENU (fig. E)
You can adjust different settings on your
oven:
light, contrast, sounds and demo mode.
To do this, press
for a few seconds to
access the settings menu.
See the table below:
To modify the different settings if
necessary, turn the control knob and
then press
to confirm.
To come out of the settings menu at any
time, press .
Light
:
Position ON, la lampe reste
allumée durant les cuissons
(sauf en fonction ECO).
Position AUTO, la lampe du
four s’éteint au bout de 90
secondes lors des cuissons.
Sounds - beeps
:
Position ON, sounds active.
Position OFF, no sounds.
Contrast
:
The brightness of the
display is adjustable from
10 to 100%.
DEMO mode
:
"DEMO" mode;
demonstration mode used
in exhibition. Turn it off to
make your oven up and
running.
Display standby:
ON position, display off
after 90s.
OFF position, reduction,
brightness after 90s.
Default settings
Характеристики
Остались вопросы?Не нашли свой ответ в руководстве или возникли другие проблемы? Задайте свой вопрос в форме ниже с подробным описанием вашей ситуации, чтобы другие люди и специалисты смогли дать на него ответ. Если вы знаете как решить проблему другого человека, пожалуйста, подскажите ему :)