Духовые шкафы AEG BE3013421M - инструкция пользователя по применению, эксплуатации и установке на русском языке. Мы надеемся, она поможет вам решить возникшие у вас вопросы при эксплуатации техники.
Если остались вопросы, задайте их в комментариях после инструкции.
"Загружаем инструкцию", означает, что нужно подождать пока файл загрузится и можно будет его читать онлайн. Некоторые инструкции очень большие и время их появления зависит от вашей скорости интернета.

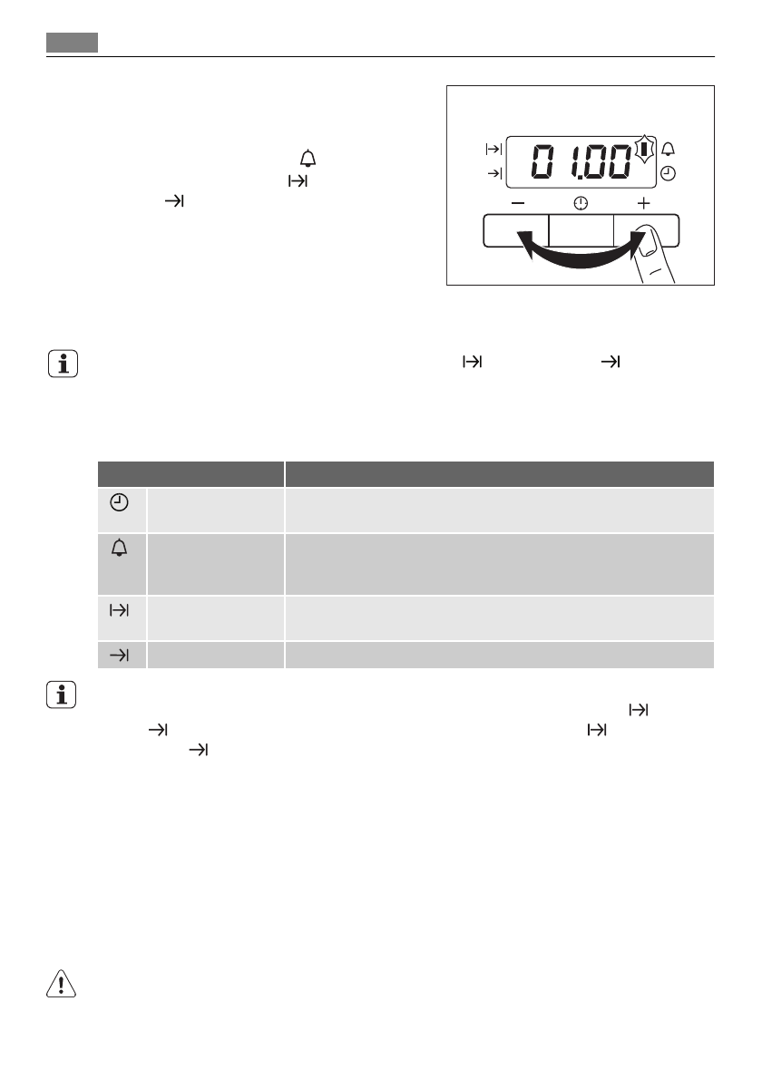
2.
Нажимайте
кнопку
выбора
до
тех
пор
,
пока
не
замигает
индикатор
нужного
режима
.
3.
Для
установки
таймера
,
режимов
"
Продолжительность
"
или
"
Оконча
-
ние
" ,
нажмите
кнопку
"
+
"
или
"
-
".
На
дисплее
загорится
индикатор
соот
-
ветствующего
режима
.
По
завершении
заданного
периода
времени
индикатор
соответствующего
режима
начинает
мигать
и
на
2
мину
-
ты
включается
звуковой
сигнал
.
При
использовании
функции
"
Продолжительность
"
и
"
Завершение
"
духовой
шкаф
выключается
автоматически
.
4.
Для
отключения
звукового
сигнала
нажмите
любую
кнопку
.
5.
Поверните
ручки
выбора
режима
духового
шкафа
и
термостата
в
нулевое
поло
-
жение
.
Функция
часов
Назначение
Время
суток
Показывает
текущее
время
.
Для
установки
,
смены
или
проверки
времени
.
Таймер
Для
задания
времени
обратного
отсчета
.
После
окончания
заданного
периода
времени
звучит
сигнал
.
Эта
функция
не
влияет
на
работу
духового
шкафа
.
Продолжитель
-
ность
Служит
для
установки
времени
работы
духового
шкафа
.
Завершение
Для
установки
времени
отключения
духового
шкафа
.
Если
необходимо
,
чтобы
прибор
автоматически
включился
и
выключился
в
заданное
время
,
можно
одновременно
использовать
функции
"
Продолжительность
"
и
"
Окон
-
чание
" .
В
этом
случае
сначала
установите
"
Продолжительность
" ,
а
затем
"
Окончание
" .
Отмена
режимов
с
задаваемым
временем
.
1.
Нажимайте
кнопку
выбора
до
тех
пор
,
пока
не
замигает
индикатор
нужного
режи
-
ма
.
2.
Нажмите
и
удерживайте
кнопку
"
-
".
Через
несколько
секунд
соответствующая
функция
часов
выключится
.
ИСПОЛЬЗОВАНИЕ
ДОПОЛНИТЕЛЬНЫХ
ПРИНАДЛЕЖНОСТЕЙ
ВНИМАНИЕ
!
См
. «
Сведения
по
технике
безопасности
».
12
Использование
дополнительных
принадлежностей
Характеристики
Остались вопросы?Не нашли свой ответ в руководстве или возникли другие проблемы? Задайте свой вопрос в форме ниже с подробным описанием вашей ситуации, чтобы другие люди и специалисты смогли дать на него ответ. Если вы знаете как решить проблему другого человека, пожалуйста, подскажите ему :)