Домофоны CTV CTV-DP401-silver - инструкция пользователя по применению, эксплуатации и установке на русском языке. Мы надеемся, она поможет вам решить возникшие у вас вопросы при эксплуатации техники.
Если остались вопросы, задайте их в комментариях после инструкции.
"Загружаем инструкцию", означает, что нужно подождать пока файл загрузится и можно будет его читать онлайн. Некоторые инструкции очень большие и время их появления зависит от вашей скорости интернета.

12
www.ctvcctv.ru
■ ЭКСПЛУАТАЦИЯ
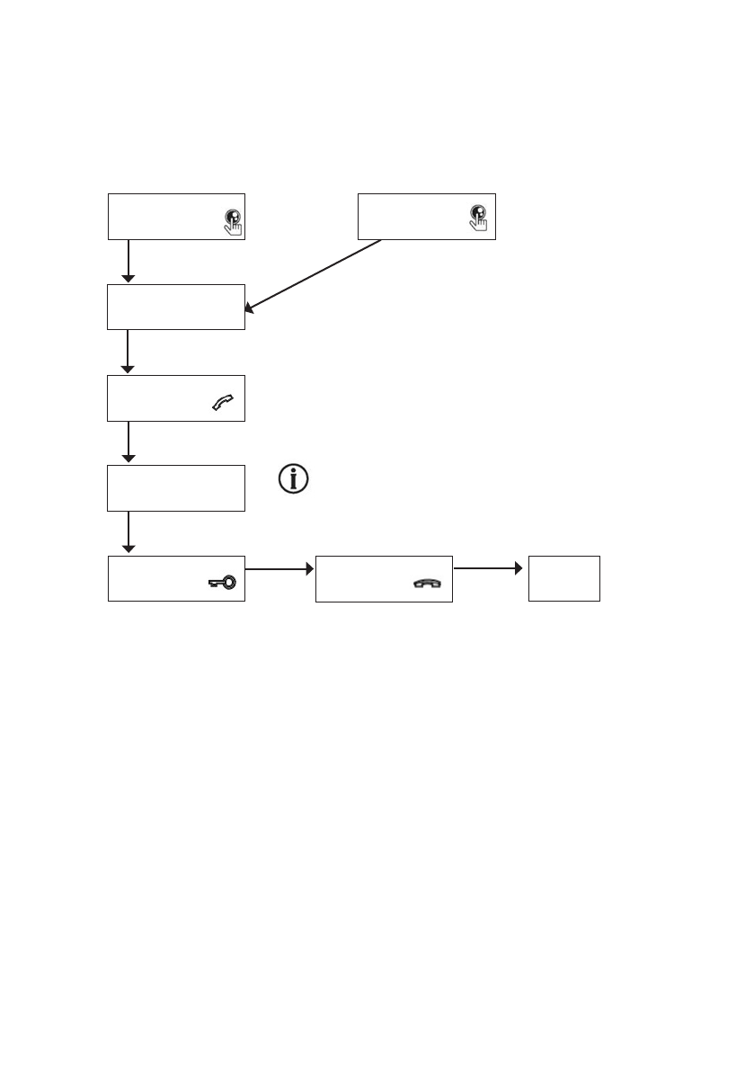
■ Вызов со стороны посетителя
Примечания:
1) В случае, если кнопки на двух вызывных панелях были нажаты одновременнно,
то вызов будет осуществлен с той панели, кнопка на которой была нажата рань-
ше. Если во время разговора с одной панелью, нажать кнопку вызова на второй
панели, то видеодомофон издаст три коротких звуковых сигнала, оповещающих
оператора о параллельном входящем вызове.
2) Изображение и звук с панели будут передаваться на монитор ещё 20 секунд
после отпирания замка.
Посетитель нажимает
кнопку вызова на
вызывной панели 1
Конец
внутри и снаружи в течение
10 секунд раздаются сигна-
лы вызова
Автоматически будет
показано видео с
вызывной панели
Нажмите кнопку
сигнал вызова
прекратится
Начните диалог
с посетителем
время беседы не
может превышать
120 сек
Нажмите кнопку
для открывания
замка
Посетитель нажимает
кнопку вызова на
вызывной панели 2
Примечание
Видеодомофон автоматически перейдет в дежурный
режим через 60 секунд, если не последует
ответа от вас посетителю
Нажмите кнопку
отбой
*
*Требуется подключение двух вызывных панелей








