Домашние кинотеатры Toshiba SD-42HK-S-TE - инструкция пользователя по применению, эксплуатации и установке на русском языке. Мы надеемся, она поможет вам решить возникшие у вас вопросы при эксплуатации техники.
Если остались вопросы, задайте их в комментариях после инструкции.
"Загружаем инструкцию", означает, что нужно подождать пока файл загрузится и можно будет его читать онлайн. Некоторые инструкции очень большие и время их появления зависит от вашей скорости интернета.

9
Пылезащитный
колпачок
Удалите
пылезащитный
колпачок
с
разъема
OPTICAL IN,
и
аккуратно
подключите
оптический
цифровой
кабель
(
не
входит
в
комплект
),
обеспечивая
совпадение
конфи
-
гураций
кабеля
и
разъема
.
Сохраните
пылезащитный
колпачок
,
и
всегда
устанавливайте
его
на
место
,
чтобы
защитить
разъем
от
пыли
,
если
он
не
используется
.
Пылезащитный
колпачок
Внимание
Не
прикасайтесь
к
внутренним
контактам
разъемов
на
задней
панели
.
Электростатический
разряд
может
необратимо
вывести
аппарат
из
строя
.
Внимание
Если
вы
выберете
функциональный
режим
VIDEO
1
,
используя
кнопку
VIDEO
1
на
пульте
ДУ
,
звуковой
сигнал
будет
выводиться
через
передние
Л
/
П
динамики
,
одна
-
ко
выходной
видеосигнал
с
видеовыхода
VIDEO
1
будет
отсутствовать
.
При
подключении
к
ТВ
,
используйте
разъем
MONI
Т
OR
OUT.
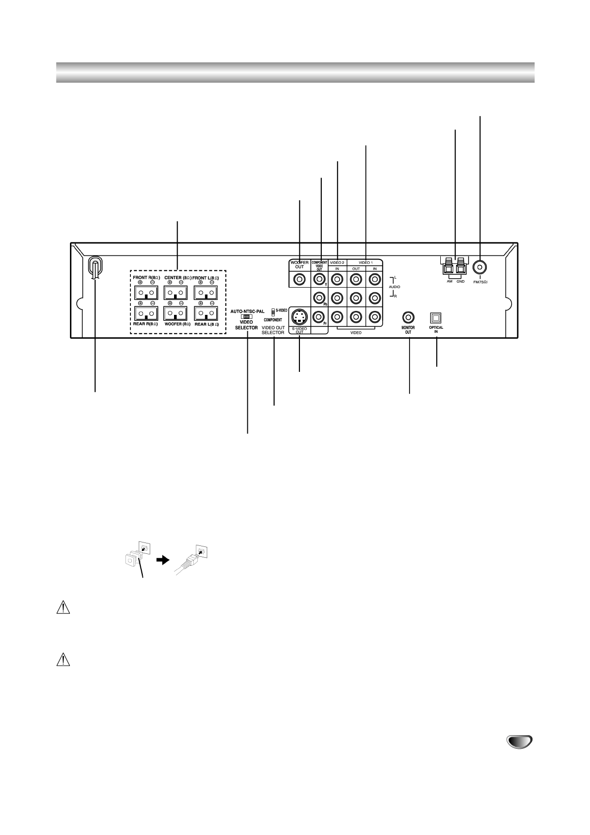
Задняя
панель
Коаксиальный
антенный
разъем
FM 75
Ом
Антенные
разъемы
АМ
Разъемы
VIDEO
1
(
Вход
/
Выход
)
Разъемы
VIDEO 2 (
Вход
)
Разъемы
COMPONENT VIDEO OUT (Y Pb Pr)
Разъем
WOOFER OUT
Разъемы
подключения
динамиков
СЕТЕВОЙ
ШНУР
Подключать
только
к
розетке
АС
220-240
В
, 50/60
Гц
.
Переключатель
VIDEO SELECTOR
См
.
пояснение
ниже
*.
Переключатель
VIDEO OUT
SELECTOR
См
.
пояснение
ниже
**.
Разъем
S-VIDEO OUT
Разъем
MONITOR OUT
Разъем
OPTICAL IN
*
Переключатель
VIDEO SELECTOR
Вы
можете
просматривать
диски
NTSC
или
PAL,
выбрав
переключателем
VIDEO SELECTOR
соответствующую
систему
.
PAL:
Выбирайте
,
если
DVD-
ресивер
подключен
к
телевизору
PAL.
NTSC:
Выбирайте
,
если
DVD-
ресивер
подключен
к
телевизору
NTSC.
AUTO:
Выбирайте
,
если
DVD-
ресивер
подключен
к
мультисистемному
телевизору
.
•
Если
установка
переключателя
не
соответствует
сис
-
теме
цветности
вашего
ТВ
,
нормальная
цветопереда
-
ча
на
экране
будет
отсутствовать
.
•
Устанавливайте
переключатель
при
выключенном
ап
-
парате
.
**
Переключатель
VIDEO OUT SELECTOR
Выберите
положение
S-VIDEO OUT
или
COMPONENT
VIDEO OUT,
в
зависимости
от
того
,
как
DVD-
ресивер
под
-
ключен
к
ТВ
.








