Домашние кинотеатры Toshiba SD-42HK-S-TE - инструкция пользователя по применению, эксплуатации и установке на русском языке. Мы надеемся, она поможет вам решить возникшие у вас вопросы при эксплуатации техники.
Если остались вопросы, задайте их в комментариях после инструкции.
"Загружаем инструкцию", означает, что нужно подождать пока файл загрузится и можно будет его читать онлайн. Некоторые инструкции очень большие и время их появления зависит от вашей скорости интернета.

11
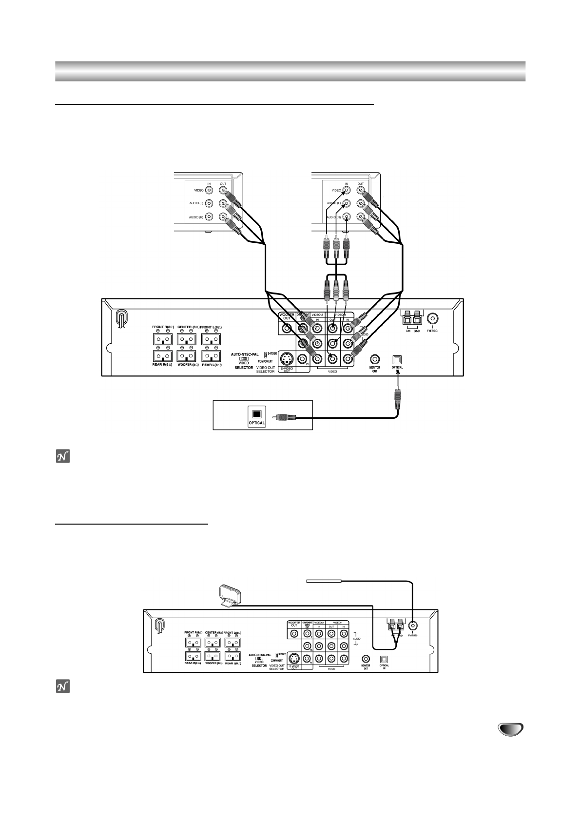
Подключение
дополнительного
оборудования
•
Подключите
ТВ
(
Монитор
)
к
разъему
MONITOR OUT
или
S-VIDEO OUT.
•
Подключите
ВМ
к
разъемам
VIDEO
1
.
•
Подключите
дополнительный
ВМ
к
разъемам
VIDEO 2.
•
Подключите
оптический
выход
проигрывателя
DVD (
или
др
.
цифрового
устройства
)
к
разъему
OPTICAL IN.
Примечания
•
Если
вы
выбрали
функциональный
режим
VIDEO
1
,
видеосигнал
с
разъема
не
будет
выводиться
.
•
Если
аудиоформат
цифрового
выхода
не
соответствует
возможностям
вашего
ресивера
,
ресивер
будет
выдавать
жесткий
,
искаженный
звук
или
звука
вообще
не
будет
.
Антенные
соединения
Подключите
комплектные
антенны
FM/AM
для
прослушивания
радиопрограмм
.
•
Подключите
рамочную
антенну
АМ
к
антенному
разъему
АМ
.
•
Подключите
проводную
антенну
FM
к
коаксиальному
разъему
FM 75
W
.
Примечания
•
Во
избежание
помех
,
устанавливайте
рамочную
антенну
АМ
на
удалении
от
DVD-
ресивера
и
других
компонентов
.
•
Полностью
разворачивайте
проводную
антенну
FM.
•
После
подключения
проводной
антенны
FM
проложите
ее
,
по
возможности
,
горизонтально
.
Подключения
(
продолжение
)
Дополнительный
ВМ
ВМ
К
AUDIO/VIDEO OUT
К
AUDIO/VIDEO OUT
К
AUDIO/
VIDEO IN
К
AUDIO/VIDEO IN
(VIDEO 2)
К
AUDIO/
VIDEO OUT
(VIDEO
1
)
К
AUDIO/
VIDEO IN
(VIDEO
1
)
Проигрыватель
DVD (
или
др
.
цифровое
устройство
)
Рамочная
антенна
АМ
(
в
комплекте
)
Проводная
антенна
FM (
в
комплекте
)