DeLonghi AV 57 PRO - Инструкция по эксплуатации

DeLonghi AV 57 PRO

Варочная панель DeLonghi AV 57 PRO - инструкция пользователя по применению, эксплуатации и установке на русском языке. Мы надеемся, она поможет вам решить возникшие у вас вопросы при эксплуатации техники.

Если остались дополнительные вопросы — свяжитесь с нами через контактную форму.

1 Страница 1
2 Страница 2
3 Страница 3
4 Страница 4
5 Страница 5
6 Страница 6
7 Страница 7
8 Страница 8
9 Страница 9
10 Страница 10
11 Страница 11
12 Страница 12
13 Страница 13
14 Страница 14
15 Страница 15
16 Страница 16
17 Страница 17
18 Страница 18
19 Страница 19
20 Страница 20
21 Страница 21
22 Страница 22
23 Страница 23
24 Страница 24
25 Страница 25
26 Страница 26
27 Страница 27
28 Страница 28
Страница: / 28

Содержание:

  • Страница 5 – ваЖная ИнФормацИя для правильной утилизации продукта
  • Страница 6 – теХнИЧескИе ХарактерИстИкИ; вароЧнЫе ЗонЫ; Электрическое зажигание включено в ручки.
  • Страница 7 – правИла полЬЗованИя вароЧноЙ поверХностЬЮ; ГаЗовЫе ГорелкИ
  • Страница 8 – вЫБор ГорелкИ; ГаЗовЫе ГорелкИ с; подождать примерно 1 минуту
  • Страница 9 – эмалИрованнЫе деталИ; ЧИстка И теХнИЧеское оБслуЖИванИе; ВНИМАНИЕ; Модели со стеклянной крышкой
  • Страница 14 – установка; зазор
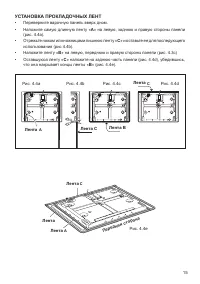
  • Страница 15 – установка прокладоЧнЫХ лент; передняя ст
  • Страница 16 – seal A; Задняя сторона; Пере; лента
  • Страница 17 – треБованИя к вентИляцИИ; в вашей стране, в отношении вентиляции и выхода выхлопных газов.; помеЩенИе для установкИ; действующими в Вашей стране.; отвод продуктов ГоренИя; in
  • Страница 18 – условия газораспределения (вид газа и его давление) отвечают; Авторизированном Сервисном Центре.; ГаЗовЫе элементЫ оБорудованИя
  • Страница 19 – подклЮЧенИе устроЙства к сИстеме подаЧИ ГаЗа; только квалифицированный специалист должен подсоединять газ с; плавучих соединений гайки.; • после подключения к газовой сети, убедитесь, что соединение
  • Страница 20 – дополнительные требования при подключении газа
  • Страница 21 – теХнИЧеское оБслуЖИванИе; ГОРЕЛКА; сжиженный газ; Приток воздуха, необходимый для обеспечения горения газа (2м; смаЗка кранов подаЧИ ГаЗа
  • Страница 23 – электрИЧеское подклЮЧенИе
  • Страница 24 – PE; Рис; тИп сеЧенИя подводяЩеГо каБеля типа “H05V2V2-F”; соединение возможно при помощи вилки и розетки; квалифицированным специалистом.; Замена сетевоГо Шнура
  • Страница 28 – Произведено в Италии.
Загрузка инструкции

D E ’ L O N G H I

C O O K I N G

И н с т р у к ц И я п о э к с п л уата ц И И

р е к о м е н д а ц И И п о у с та н о в к е

вс т р о е н н Ы е ва р о Ч н Ы е п о в е рХ н о с т И

"Загрузка инструкции" означает, что нужно подождать пока файл загрузится и можно будет его читать онлайн. Некоторые инструкции очень большие и время их появления зависит от вашей скорости интернета.

Краткое содержание

Страница 5 - ваЖная ИнФормацИя для правильной утилизации продукта

5 – Следует проявлять осторожность, чтобы избежать контакта с нагревательными элементами на панели. – Во избежание ожогов, маленьких детей следует держать подальше. • Убедитесь, что электрические кабели, соединяющие другие устройства в непосредственной близости от прибора не могут вступать в контакт...

Страница 6 - теХнИЧескИе ХарактерИстИкИ; вароЧнЫе ЗонЫ; Электрическое зажигание включено в ручки.

6 Рис. 1.1 теХнИЧескИе ХарактерИстИкИ 1 8 7 6 5 9 1 2 2 3 4 вароЧнЫе ЗонЫ 1. Вспомогательная горелка (А) – 1,00 кВт2. Полубыстрая горелка (SR) – 1,75 кВт3. Быстрая горелка (R) – 3, 00 кВт4. Горелка с тремя рядами пламени (TR) -3,50 кВт опИсанИе панелИ управленИя 5. Регулятор вспомогательной горелки ...

Страница 7 - правИла полЬЗованИя вароЧноЙ поверХностЬЮ; ГаЗовЫе ГорелкИ

7 Рис. 2.1 Рис. 2.2 правИла полЬЗованИя вароЧноЙ поверХностЬЮ 2 ГаЗовЫе ГорелкИ Подача газа в горелки регулируется с помощью клапанного крана, управление которым осуществляется с помощью ручки (рис. 2.1). Команды на приборной панели изображены с помощью следующих символов: - символ кран закрыт - сим...

Характеристики

Другие модели - Варочные панели DeLonghi

Все варочные панели DeLonghi