Страница 2 - Ваши замечания и предложения присылайте по адресу; СОДЕРЖАНИЕ
2 Паспорт сделан в соответствии с ГОСТ 2.601, 2.105 Ваши замечания и предложения присылайте по адресу 195279, Санкт- Петербург, а /я 132, шоссе Революции, 90 Тел. (812) 301-99-40, тел./факс (812) 327-63-82 Сервис-центр: (812) 493-35-98 www.teplomash.ru СОДЕРЖАНИЕ 1 НАЗНАЧЕНИЕ ..........................
Страница 4 - П р о д о л ж е н и е т а б л и ц ы 1; УСТРОЙСТВО И ПОРЯДОК РАБОТЫ; через модули МП12-24Е или
4 П р о д о л ж е н и е т а б л и ц ы 1 Завесы c электрическим источником тепла КЭВ12П4060Е арт.124034 КЭВ-24П4060Е арт.124036 КЭВ-36П4060Е арт.124037 Параметры питающей сети, В/Гц 380/50 Режимы мощности 1 , кВт 0/6/12 0/12/24 0/18/36 Расход воздуха, м 3 /ч 2600/4100/6200 Скорость воздуха на выходе ...
Страница 7 - ТЕХНИЧЕСКОЕ ОБСЛУЖИВАНИЕ
7 7.5.2 При первом включении изделия происходит сгорание консервирующей смазки с поверхности ТЭНов с появлением дыма и характерного запаха. Поэтому рекомендуется перед монтажом включить завесу в режим полной мощности на 20 минут в хорошо проветриваемом помещении. 7.5.3 Для увеличения эксплуатационно...
Страница 8 - Использование непригодной завесы ЗАПРЕЩЕНО!; ВОЗМОЖНЫЕ НЕИСПРАВНОСТИ И СПОСОБЫ ИХ УСТРАНЕНИЯ
8 9 ПРАВИЛА ХРАНЕНИЯ И ТРАНСПОРТИРОВАНИЯ 9.1 Завеса упакована в деревянный ящик и может транспортироваться всеми видами крытого транспорта при температуре от минус 50 до плюс 50 ° С и относительной влажности не более 80% (при температуре 25ºС). 9.2 При транспортировании кронштейны завесы установлены...
Страница 9 - ГАРАНТИЙНЫЕ ОБЯЗАТЕЛЬСТВА; П р о д о л ж е н и е т а б л и ц ы 3
9 Завеса работает, но не обеспечивает требуемую температуру воздуха в помещении Наружные условия (температура воздуха и скорость ветра) оказались более «жесткими», чем расчетные Принять временные меры по механической защите проема. Приточно-вытяжная механическая вентиляция разбалансирована: давление...
Страница 10 - Рисунок 2. Габаритные и присоединительные размеры
10 А А C КЭВ -12;24;36 П 4060E КЭВ -12;18 П 4050E Место ввода силового кабеля ; место вывода кабеля управления Всасывание Нагнетание 30 0 m in Потолок / стена 55 0 410 600 600 64 55 5 69 5 1495 2025 14 8 отв . 60 2 64 5 100 600 622 600 445 600 14 6 отв . 100 647 647 Рисунок 2. Габаритные и присо...
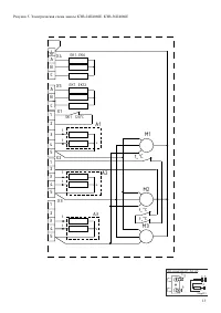
Страница 12 - Рисунок 4. Электрическая схема завесы КЭВ-12П4060Е; t C
12 Рисунок 4. Электрическая схема завесы КЭВ-12П4060Е 3 ТЭН-резистор А1, А2, А3 3 R1 R 2R1 2 R2 4 4 5 5 Â À Ñ Â À Ñ 3 2 1 5 4 3 2 1 5 4 3 2 1 5 4 X1 X2 X3 ÅÊ1...ÅÊ3 ÅÊ4...ÅÊ6 SK1 120 ° C 5 3 4 4 4 Ì3 0 t C ì t ° C ì t ° C ì Ì2 Ì1 X 5 X 4 5 3 5 3 À1 À2 À3
Страница 14 - ДЛЯ ЗАМЕТОК
14 ДЛЯ ЗАМЕТОК _____________________________________________________________________________________ _____________________________________________________________________________________ _____________________________________________________________________________________ ___________________________...
Страница 16 - СВИДЕТЕЛЬСТВО О ПРИЕМКЕ; Дата изготовления; СВИДЕТЕЛЬСТВО О ПОДКЛЮЧЕНИИ; Подключена к сети в соответствии с п.7 Паспорта; СБ
16 13 СВИДЕТЕЛЬСТВО О ПРИЕМКЕ Воздушно-тепловая завеса модели: (нужное отметить) КЭВ-12П4050Е КЭВ-12П4060Е КЭВ-18П4050Е КЭВ-24П4060ЕКЭВ-36П4060Е Заводской номер №_______________________ Воздушно-тепловая завеса изготовлена и принята в соответствии с требованиями ТУ 4864-036-54365100-2015 и признана ...