Тепломаш КЭВ-12П4050Е - инструкции и руководства

Тепловая завеса Тепломаш КЭВ-12П4050Е - инструкции пользователя по применению, эксплуатации и установке на русском языке читайте онлайн в формате pdf

1 Page 1
2 Page 2
3 Page 3
4 Page 4
5 Page 5
6 Page 6
7 Page 7
8 Page 8
9 Page 9
10 Page 10
11 Page 11
12 Page 12
13 Page 13
14 Page 14
15 Page 15
16 Page 16

Краткое содержание

Страница 2 - Ваши замечания и предложения присылайте по адресу; СОДЕРЖАНИЕ

2 Паспорт сделан в соответствии с ГОСТ 2.601, 2.105 Ваши замечания и предложения присылайте по адресу 195279, Санкт- Петербург, а /я 132, шоссе Революции, 90 Тел. (812) 301-99-40, тел./факс (812) 327-63-82 Сервис-центр: (812) 493-35-98 www.teplomash.ru СОДЕРЖАНИЕ 1 НАЗНАЧЕНИЕ ..........................

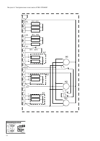
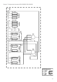
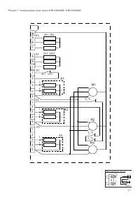
Страница 4 - П р о д о л ж е н и е т а б л и ц ы 1; УСТРОЙСТВО И ПОРЯДОК РАБОТЫ; через модули МП12-24Е или

4 П р о д о л ж е н и е т а б л и ц ы 1 Завесы c электрическим источником тепла КЭВ12П4060Е арт.124034 КЭВ-24П4060Е арт.124036 КЭВ-36П4060Е арт.124037 Параметры питающей сети, В/Гц 380/50 Режимы мощности 1 , кВт 0/6/12 0/12/24 0/18/36 Расход воздуха, м 3 /ч 2600/4100/6200 Скорость воздуха на выходе ...

Страница 7 - ТЕХНИЧЕСКОЕ ОБСЛУЖИВАНИЕ

7 7.5.2 При первом включении изделия происходит сгорание консервирующей смазки с поверхности ТЭНов с появлением дыма и характерного запаха. Поэтому рекомендуется перед монтажом включить завесу в режим полной мощности на 20 минут в хорошо проветриваемом помещении. 7.5.3 Для увеличения эксплуатационно...

Тепломаш Тепловые завесы Инструкции