Shindo GEMMA 60 B - инструкции и руководства
Вытяжка Shindo GEMMA 60 B - инструкции пользователя по применению, эксплуатации и установке на русском языке читайте онлайн в формате pdf
Инструкции:
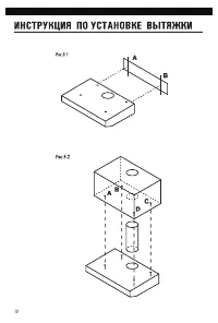
Инструкция по эксплуатации Shindo GEMMA 60 B
1
2
3
4
5
6
7
8
9
10
11
12
13
14
15
16
Shindo Вытяжки Инструкции
-
Shindo Geo 60 1M SS/BG
Инструкция по эксплуатации
-
Shindo Antilia 60 B/BG
Инструкция по эксплуатации
-
Shindo Antilia 60 W/WG
Инструкция по эксплуатации
-
Shindo ADEON sensor 60 B/BG
Инструкция по эксплуатации
-
Shindo Maya 50 1M BBG
Инструкция по эксплуатации
-
Shindo Arktur sensor 60 W/WG 3ETC
Инструкция по эксплуатации
-
Shindo Emi 60 W
Инструкция по эксплуатации
-
Shindo GEMMA 50 W
Инструкция по эксплуатации
-
Shindo Pallada sensor 90 B/BG 4ETC
Инструкция по эксплуатации
-
Shindo Remy Sensor 60 White/White Glass 3ET
Инструкция по эксплуатации
-
Shindo KASSIOPEA SENSOR 60 SS 4ET
Инструкция по эксплуатации
-
Shindo Vesta display 90 inox/glass 4ET
Инструкция по эксплуатации
-
Shindo METIDA 60 W
Инструкция по эксплуатации
-
Shindo Maya 60 1M BBG
Инструкция по эксплуатации
-
Shindo VESTA DISPLAY 60 SS/G 4 ET
Инструкция по эксплуатации
-
Shindo Remy Sensor 60 B/BG 3ET
Инструкция по эксплуатации
-
Shindo Lira 50 SS Silver
Инструкция по эксплуатации
-
Shindo Lira 50 White
Инструкция по эксплуатации
-
Shindo Pallada sensor 90 SS/BG 4ETC
Инструкция по эксплуатации
-
Shindo Prime sensor 60 3ET B/BG
Инструкция по эксплуатации