Shindo Lira 50 SS Silver - Инструкция по эксплуатации

Shindo Lira 50 SS Silver

Вытяжка Shindo Lira 50 SS Silver - инструкция пользователя по применению, эксплуатации и установке на русском языке. Мы надеемся, она поможет вам решить возникшие у вас вопросы при эксплуатации техники.

Если остались дополнительные вопросы — свяжитесь с нами через контактную форму.

1 Страница 1
2 Страница 2
3 Страница 3
4 Страница 4
5 Страница 5
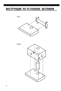
6 Страница 6
7 Страница 7
8 Страница 8
9 Страница 9
10 Страница 10
11 Страница 11
12 Страница 12
13 Страница 13
14 Страница 14
15 Страница 15
16 Страница 16
17 Страница 17
Страница: / 17
Загрузка инструкции

LIRA

LIRA 50 W
LIRA 50 SS
LIRA 60 W
LIRA 60 SS

"Загрузка инструкции" означает, что нужно подождать пока файл загрузится и можно будет его читать онлайн. Некоторые инструкции очень большие и время их появления зависит от вашей скорости интернета.

Характеристики

Другие модели - Вытяжки Shindo

Все вытяжки Shindo